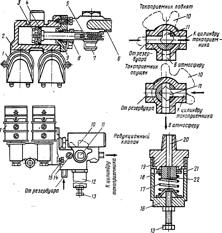
Клапан токоприемника КЛП-101 (рис.130) предназначен для управления приводом токоприемника. Он установлен в низковольтном шкафу моторного вагона и представляет собой трехходовой кран с пневматическим приводом дистанционного импульсного действия.
Пневматический привод состоит из цилиндра, к которому прикреплены Два электропневматических вентиля ВВ-2. В теле цилиндра 2 имеются каналы, соединяющие каждый вентиль с соответствующей внутренней частью цилиндра. Внутри цилиндра помещен поршень 3, снабженный уплотняющим металлическим кольцом 4, шток 5 которого проходит сквозь отверстие во фланце. 6 корпуса. В корпус фланца ввинчено седло 19 редукционного клапана 12 токоприемника. Отверстие для прохода штока уплотнено резиновой набивкой 9. Набивка сжимается уплотняющей гайкой 8, а корпус соединен с цилиндром болтовым креплением с уплотняющими прокладками.
Хвостовик 11 штока имеет прорезь, в которой укреплены ролики. Ролики при продольном перемещении штока воздействуют на звезду 10, насаженную на

Рис. 130. Клапан токоприемника КЛП-101:
/ — включающий вентиль; 2 — цилиндр; 3 — поршень; 4 — уплотняющее кольцо; 5 — шток; 6 — фланец; 7 — головка хвостовика пробки; 8 — уплотняющая гайка; 9 — уплотняющая набивка;' 10 — звезда; // — хвостовик; 12 — редукционный клапаи; 13 — регулировочный виит; 14 — винт дросселирующего устройства; 15 — гайка; /« — корпус редукционного клапана; 17 — регулировочная пружина; 18 — клапаи; 19 — седло; 20 — выпускное отверстие в седле; 21 — атмосферное отверстие; 22 — калибровочное отверстие в клапане '*
хвостовик пробки, притертой к корпусу крана. Корпус крана и пробка имеют каналы и отверстия, которые при определенном положении штока соединяют цилиндр токоприемники с резервуаром сжатого воздуха (подъем) или с атмосферой через редукционный клапан (опускание).
При возбуждении катушки правого вентиля сжатый воздух, поступая в правую часть цилиндра, переместит поршень вместе со штоком в крайнее левое положение. Ролик штока заставит звезду повернуться на 90° против часовой стрелки, что приведет к повороту пробки. При этом цилиндр токоприемника будет соединен с источником сжатого воздуха и отсоединен от атмосферного канала. Произойдет впуск сжатого воздуха в цилиндр токоприемника, и токоприемник поднимется, Отверстие в пробке имеет небольшие, размеры, поэтому скорость поступления воздуха в цилиндр токоприемника незначительная и подъем токоприемника происходит сравнительно медленно, Регулировку подъема токоприемника осуществляют винтом дросселирующего устройства, при ввертывании которого сечение воздухопровода уменьшается, а при вывертывании увеличивается,
По окончании импульсного возбуждения катушки вентиля пробка вследствие сил трения остается на месте, а токоприемник поддерживается в поднятом состоянии постоянным давлением источника сжатого воздуха. При кратковременном импульсном возбуждении катушки левого вентиля поршень вместе со штоком переместится в крайнее правое положение. Звезда повернется на 90° по часовой стрелке, повернет пробку, которая перекроет канал со сжатым воздухом и одновременно двумя перпендикулярными отверстиями соединит цилиндр токоприемника с каналом, ведущим к редукционному клапану, Воздух отожмет клапан и выйдет через отверстия диаметром 6,5 мм в седле и корпусе редукционного клапана в атмосферу. В результате токоприемник быстро оторвется от контактного провода.
По мере опускания токоприемника давление в его цилиндре падает, и клапан под действием пружины возвращается в исходное положение. Воздух из цилиндра выходит в атмосферу через калиброванное, отверстие клапана (1 мм), и подвижная часть токоприемника медленно опускается на резиновые гасители. Нажатие пружины на клапан регулируют винтом 13 в корпусе редукционного клапана.
Технические данные клапана токоприемника
Диаметр цилиндра, мм............ 45
Ход поршня, мм.............. 70
Угол поворота пробки, град.......... 90
Номинальное давление воздуха, МПа (кгс/см2)..... 0,5(5)
Тип вентиля............. ВВ-2
Номинальное напряжение катушки вентиля, В..... 50/110*
Диаметр проходного отверстия редукционного клапана, мм . . 6,5/1 Площадь сечения воздушного прохода клапана, мм2:
для выпуска воздуха........... 50,5
» впуска » ........... 12,6
Время подъема, с............. 4—7
» опускания, с............. 3,5—5
* В числителе — для электропоезда ЭР2, в знаменателе — для ЭР2Р.
Необходимые скорости подъема и опускания токоприемника обеспечиваются дросселирующим устройством и редукционным клапаном.
|
|