Электропневматические вентили включающего типа служат для дистанционного управления пневматическими приводами аппаратов и приводами дверей вагонов. Вентили имеют клапанную систему, при помощи которой сжатый воздух попадает в цилиндры аппаратов. Управление осуществляется электромагнитным способом.
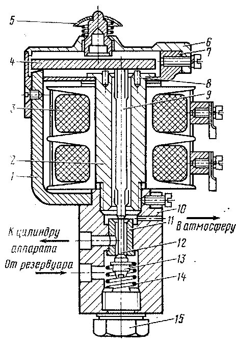
Вентиль ВВ-2 имеет Г-образный магнитопровод 1 (рис. 129), полый сердечник 2 и якорь 4. В нижней части с сердечником 2 соединен стальной корпус 10, в который запрессовано-бронзовое седло 11 клапана 13. Внутри сердечника 2 проходит бронзовый шток 9, а снаружи установлена катушка 3. Клапан 13 упирается в шток иглой 12. В верхнем положении клапан удерживается пружиной 14, опирающейся на пробку 15. Сверху вентиля установлены коробка 7 и крышка 6 с кнопкой 5, которая служит для ручного включения вентиля. Латунные прокладки 8 служат для предотвращения прилипания якоря к сердечнику.
Работа вентиля заключается в следующем. Если на катушку вентиля подается напряжение, она возбуждается, магнитный поток через магнитопровод проходит сердечник и якорь. Якорь, притягиваясь, давит на верхний клапан, который перекрывает выходное отверстие в седле и в то же время через иглу нажимает на нижний клапан, открывая входное отверстие в седле для впуска сжатого воздуха из магистрали в цилиндр аппарата, и аппарат приходит в действие. При невозбужденной катушке нижний клапан 13 прижат к седлу пружиной 14 и воздух от. резервуара не проходит в цилиндр аппарата. Нижний клапан своей иглой 12 поднимает выпускной клапан, который открывает выходное отверстие в седле и соединяет цилиндр аппарата с атмосферой.
В реостатных контроллерах применяют также вентили ВВ-3, которые имеют большие впускные и выпускные отверстия для повышения быстродействия аппарата. На магнитопроводе вентилей ВВ-3 установлены медные демпфирующие кольца. При включении и отключении катушки изменяющийся магнитный поток наводит в этих кольцах вихревые токи". Их магнитный поток действует навстречу нарастающему магнитному потоку или согласно со спадающим магнитным потоком катушки. В результате происходит замедление работы клапанов вентиля, что предотвращает застревание привода контроллера между позициями.
Технические данные электропневматических вентилей
Тип вентиля . . . ВВ-2 ВВ-3
Диаметр клапана, мм
впускного ... - 8 6
выпускного . . 19 6,5
Ход клапана, мм . . 1,3 0,9
Электропневматические вентили электропоезда ЭР2 рассчитаны на напряжение 50 В, а ЭР2Р — на ПО В. Давление воздуха наименьшее 0,375 МПа (3,75 кгс/см2), номинальное 0,5 МПа (5 кгс/см2), наибольшее 0,675 МПа (6,75 кгс/см2).

Рис. 129. Электропневматическнй вентиль ВВ-2
|
|