Кран машиниста усл. № 395.000-5 (рис. 206) состоит из корпуса 1, редуктора 2 (питательного клапана), средней части 3 (зеркало золотника), крышки 4, ручки 5 с фиксатором 6, контроллера 7 и стабилизатора 9. Схему электрических соединений микровыключателей в контроллере см. на рис. 221. Рассмотрим устройство крана машиниста по рис. 207. В крышке крана // имеется золотник 12, стержень 17, который уплотнен в крышке манжетой, опирающейся на шайбу 19. Нижним концом стержень надет на выступ золотника 12, который прижимается к зеркалу пружиной 18. Ручка крана 14 с фиксатором 13 надета на квадрат стержня и закреплена винтом 16 и гайкой 15. Средняя часть 10 крана служит зеркалом для золотника, в нее запрессована втулка, служащая седлом для обратного клапана.
В корпусе 2 установлен уравнительный поршень 7 с резиновой манжетой 8 и латунным кольцом 9, а также выпускной клапан 5, который прижимается пружиной 4 к седлу втулки 6. Хвостовик выпускного клапана уплотнен резиновой манжетой 3, вставленной в цоколь /. Между крышкой, средней частью и корпусом, соединенными шпильками 20, проложены прокладки 21.
Редуктор крана служит для поддержания определенного давления в уравнительном резервуаре при поездном положении крана. Он состоит из верхней и нижней частей. В верхней части 26 находится питательный клапан 24 с направляющей 25, прижимаемый пружиной 23, которая вторым концом упирается в заглушку. Для очистки поступающего воздуха установлен фильтр 22. В средней части установлена диафрагма 27, на которую снизу давит пружина 30 через упорную шайбу 28. Пружина 30 в нижней части 29 опирается на винт 31 через упор 32.

Стабилизатор крана состоит из корпуса 7 (рис. 208), в который впрессована втулка 4, вставлен клапан 3 с пружиной 2, упирающейся в крышку /. В корпусе "имеется отверстие, в которое вставлен ниппель 5 с калиброванным отверстием 0,45 мм. В нижней части корпуса вкручивается на резьбе втулка 9. Между втулкой и корпусом установлена диафрагма 6, на которую через шайбу 8 давит пружина 10, усилие которой регулируется винтом //. Стабилизатор служит для ликвидации сверхзарядного давления тормозной магистрали.
Контроллер крана (рис. 209, а) состоит из диска, закрепленного на кронштейне крышки 2 двумя винтами через отверстия 3, двух микропереключателей /, кулачка, надетого на квадрат стержня, который проходит по центру диска и крышки 2, четы-рехжильного кабеля 8, который проходит через гайку 5 и укреплен резиновым кольцом 7, зажатым втулкой 4 между шайбой 6 и гайкой 5. При перемещении ручки крана усилие от кулачка через шариковый подшипник 9 держателя 10 и плоскую пружину 11 передается на микропереключатели /.
Порядок включения микропереключателей / и //поясняется рис. 209, б. В I и II положениях ручки крана машиниста на-


Рис. 209. Контроллер крана машиниста (а) и электрическая схема контроллера (б)
пряжение по проводу / подается через микропереключатель / и // на провод 3 вилки штепсельного разъема 12 к реле срывного клапана. При III и IV положениях ручки крана машиниста кулачок контроллера переключает контакты микропереключателя /, напряжение подается на провод 6 вилки штепсельного разъема к отпускному реле. Проводи остается под напряжением. При УА, V и VI положениях ручки крана машиниста кулачок контроллера переключает контакты микропереключателя //, напряжение подается на провода 5 и 6 штепсельного разъема и к тормозному реле, а с провода 3 напряжение снимается.
Ручка крана машиниста усл. М> 395.000-5 имеет семь рабочих положений, Рассмотрим действие крана при различных положениях его ручки (рис. 210).
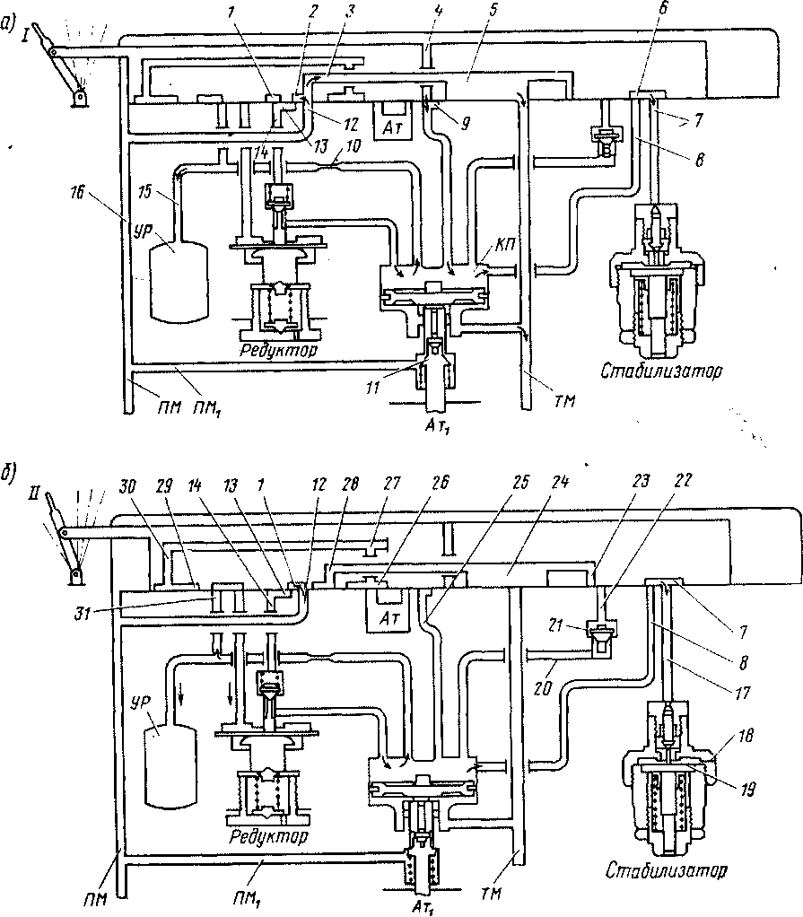
Положение I — зарядка и отпуск. При этом положении ручки сжатый воздух из питательной магистрали 16 ПМ по широким каналам 3, 5 поступает в тормозную магистраль ТМ, одновременно через отверстия 4, выемку 9, канал в камеру над уравнительным поршнем КП, оттуда через отверстие 10 диаметром 1,6 мм, канал 15 в уравнительный резервуар УР вместимостью 20 л.
В камере над уравнительным поршнем давление повышается быстрее, чем в тормозной магистрали. Поршень будет опускаться вниз и отожмет от седла впускной клапан //. При этом канал ПМ1 сообщается с тормозной магистралью. Следовательно, тормозная магистраль будет питаться по двум путям. Одновременно воздух из питательной магистрали через канал 12, выемку золотника 2, каналы 13, 14 поступает к возбудительному клапану редуктора. Камера над уравнительным поршнем через выемку 6 и отверстие 7 сообщается со стабилизатором и далее с атмосферой Аш и Атх.
Положение II — поездное с автоматической ликвидацией сверхзарядного давления тормозной магистрали. Золотник крана машиниста перекрывает прямое сообщение питательной магистрали с тормозной и с камерой над уравнительным поршнем. Воздух из ПМ по каналу 12 через выемку / и каналы 13, 14 поступает к возбудительному клапану редуктора. Если давление над диафрагмой редуктора, сообщенной с уравнительным резервуаром, будет ниже давления пружины, то под ее воздействием диафрагма прогнется вверх и возбудительный клапан откроется. Сжатый воздух поступает в камеру над уравнительным поршнем и далее в уравнительный резервуар и в полость над диафрагмой редуктора. Давление редуктором будет поддерживаться автоматически в зависимости от усилия пружины.
При уменьшении давления в тормозной магистрали ниже, чем в камере над уравнительным поршнем, этот поршень опустится вниз и через впускной клапан сообщит канал ПМ с тормозной магистралью. Давление в ней будет поддерживаться равным давлению в уравнительном резервуаре. Камера над уравнительным поршнем сообщена также со стабилизатором через отверстие 8, выемку 6 и отверстие 17, а также через отверстия 18 и 19 с атмосферой. Таккак отверстие 18 мало (0,45 мм), то давление воздуха в уравнительном резервуаре будет поддерживаться редуктором, несмотря на его расход.
Положение III — перекрыша без питания тормозной магистрали. Камера над уравнительным поршнем КП и уравнительный резервуар через отверстие 20, обратный клапан 21, отверстия 22 и 23 сообщается с тормозной магистралью. При этом давление в тормозной магистрали и в уравнительном резервуаре выравнивается.
Положение IV - перекрыша с питанием магистрали. Все отверстия . и выемки на зеркале перекрыты золотником. В тормозной магистрали давление устанавливается и поддерживается равным давлению в уравнительном резервуаре. Уравнительный резервуар разобщен с тормозной и питательной магистралями.

Рис. 210. Схемы крана машиниста усл. № 395.000-5 в I (а) и во II (б) положениях
Положение УА соответствует электропневматическому торможению без разрядки тормозной магистрали. При этом положении ручки крана машиниста сохраняется перекрыша с питанием тормозной магистрали. Если нарушится питание электропневматических тормозов, то произойдет разрядка тормозной магистрали через электропневматический клапан автостопа.
Положение V — служебное торможение., Воздух из уравнительного резервуара и камеры уравнительного поршня через отверстие 31, выемку 29, отверстия 30 (2,3 мм) и 27 выходит в атмосферу. Темп понижения давления определяется диаметром отверстия 30 [примерно 0,1 МПа (1 кгс/см2) за 4—6 сі.
Избыточное давление со стороны тормозной магистрали заставляет уравнительный поршень подняться вверх и ТМ сообщится с атмосферой. Необходимо учитывать, что при перемещении ручки крана машиниста в IV или III положение выпуск воздуха из тормозной магистрали будет продолжаться до тех пор, пока не станут одинаковыми давления в уравнительном резервуаре и тормозной магистрали. Только после этого поршень опустится вниз и клапаном закроет отверстие, соединяющее ТМ с атмосферой.
Положение VI — экстренное торможение. Тормозная магистраль через отверстия 24, 28 сообщается с атмосферой. Одновременно через отверстие 25, выемку 26 камера над уравнительным поршнем также сообщается с атмосферой. Давление над уравнительным поршнем будет падать быстрее, чем в тормозной магистрали, и поршень перемещается вверх, сообщая тормозную магистраль с атмосферой. Происходит быстрая'разрядка тормозной магистрали.
|
|