Авторежимы 605 и 606 предназначены для автоматического изменения давления сжатого воздуха в тормозном цилиндре, а авторежим 606, кроме того, и для изменения тормозного тока в режиме электрического торможения и пускового тока в тяговом режиме в зависимости'от загрузки вагона. Авторежимы устанавливают на электропоездах ЭР2Р. Тип авторежимов клапанно-поршне-вой с временным контактом, а авторежим 606 имеет электрическую часть. Он устанавливается на моторном вагоне.
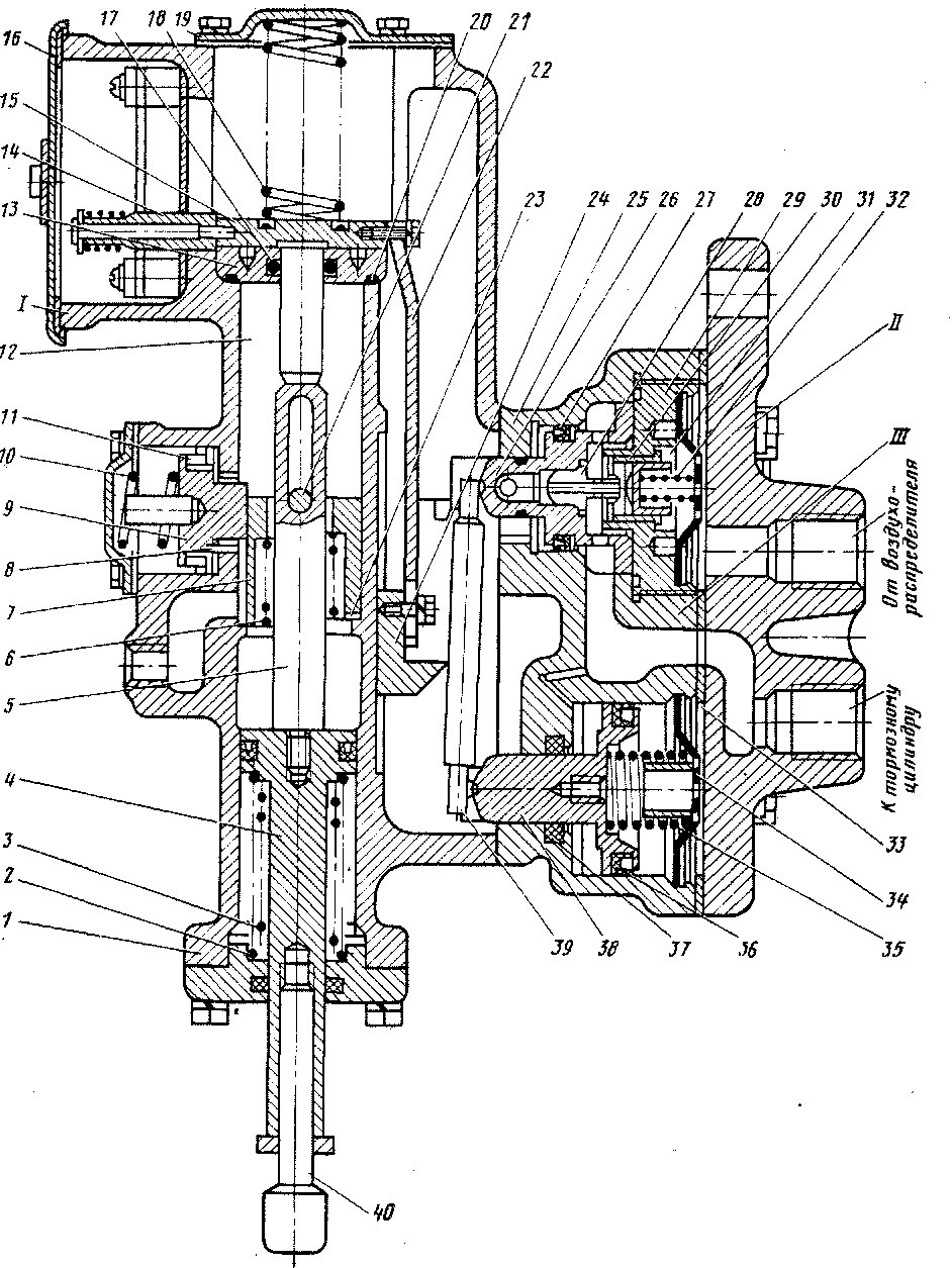
Авторежимы 605 и 606 включают в себя три части: демпферную (управляющую) часть / (рис. 211), пневматическое реле // и кронштейн ///. Демпферная (управляющая ) часть / состоит из корпуса /, имеющего три цилиндрические полости: верхнюю, нижнюю и среднюю. В нижней и средней полостях помещены поршни 4, 9, а в верхней — ползун 15. Поршень 4 имеет наконечник, шток 5, стакан 7. Ползун 15 имеет толкатель 12 и подвижной контакт 14 (для авторежима 606). Все контакты закрыты крышкой 16. В корпус / ввертывается на резьбе сальник 13, имеющий уплотнительную манжету 17 и уплотнительное кольцо 20. Ползун 15 с толкателем 12, а также рычагом 22 и сухарем 24 отжимаются в нижнее положение пружиной 18, которая одним концом упирается в крышку 19, а другим — в ползун.
Стакан 7 поднимается в верхнее положение до упора пальца 21 в шток 5 усилием пружины 6, которая опирается иа шайбу 23.
Поршень 4 со штоком 5 поднимается в верхнее положение до упора в толкатель 12 усилием пружины 3, которая в нижней части опирается.на направляющую 2.
Поршень 9, имеющий резиновое уплотнение 11, под действием усилия пружины 10 находится в крайнем правом положении, зажимая стакан 7.
Для предохранения от проворачивания в поршень 9 запрессован штифт 8. Стакан 7 предохранен от проворачивания фиксатором.
Пневматическое реле // состоит из корпуса 25, который имеет две полости: верхнюю и нижнюю. В нижней полости расположен поршень 38 с уплотни-
тельной манжетой 36. Шток поршня 38 уплотнен манжетой 37, справа от поршня находится пружина 35, она поджата тарелкой 34 и стопорным кольцом 33. При отпущенном тормозе поршень 38 под действием пружины 35 находится в крайнем левом положении.
В верхней полости корпуса 25 расположен поршень 26 с уплотнительной манжетой 27. В центральное отверстие поршня 26 запрессовано седло 28 атмосферного клапана. В хвостовике поршня имеются осевое и диаметральное отверстия для выпуска воздуха в атмосферу.
В гильзе 29 запрессована втулка 30, являющаяся направляющей и седлом для клапана 31 с пружиной 32. Полость между поршнем и гильзой постоянно сообщена с тормозным цилиндром через отверстия в стенке поршня и канал, ведущий ,к нижнему патрубку кронштейна. Кроме того, при открытом пита-

Рис. 211. Авторежим 606
тельном клапане эта же полость через зазоры между клапаном и втулкой сообщается с полостью справа от гильзы, которая постоянно сообщена с воздухораспределителем через верхний патрубок кронштейна. Хвостовики поршней 26 и 38 опираются на рычаг 39.
Кронштейн /// служит для установки авторежимов на подрессоренной части вагона. В кронштейне имеются три отверстия для болтов крепления к раме вагона и два патрубка.
Авторежим трубопроводами сообщен с воздухораспределителем (электрораспределителем) и с тормозными цилиндрами через реле давления. Подвод сжатого воздуха к фиксатору авторежима осуществляется от,напорной магистрали через включающий вентиль.
Электрическая часть авторежима 606 включается в систему управления тяговыми двигателями. Один постоянный неподвижный контакт подключается на корпус. Остальные неподвижные контакты подключаются поочередно согласно схеме, показанной на внутренней стороне крышки 16.
При закрытых наружных дверях вагона наконечник 40 находится от не-подрессоренной части тележки вагона на расстоянии, обеспечивающем исключение динамического воздействия на механизм авторежима. Давление в тормозном цилиндре при торможении устанавливается демпферной частью авторежима в зависимости от прогиба рессорного подвешивания вагона, который в свою очередь зависит от загрузки вагона.
При порожнем вагоне в процессе торможения воздух из воздухораспределителя поступает в полость, расположенную справа от поршня 38, удерживая через рычаг 39 верхнюю поршневую группу в крайнем правом положении, и через открытый клапан 31 — в полость справа от поршня 26 я в тормозной цилиндр. Наполнение тормозного цилиндра сжатым воздухом происходит до тех пор, пока не уравновесятся давления на поршни 26 и 38. После этого рычаг 39 поворачивается, питательное отверстие закрывается клапаном 31 и наполнение тормозного цилиндра воздухом прекращается.
При отрегулированном положении сухаря 24 отношение плеч рычага 39 обеспечивает давление воздуха в тормозном .цилиндре порожнего режима (0,28 + 0,02) МПа.
При отпуске тормоза понижение давления в полости, находящейся справа от поршня 38, нарушает равновесие. Под избыточным усилием сжатого воздуха со стороны тормозного цилиндра поршень 26 перемещается влево и открывает атмосферный канал, через который воздух выходит из тормозного цилиндра. Перефиксацйя нагрузки осуществляется в момент открывания наружных дверей в такой последовательности:
воздух из напорной магистрали давит на поршень 4, который, сжимая пружину 3, опускается, увлекая за собой шток 5. Наконечник 40 опускается до соприкосновения с опорной площадкой. Стакан 7 под действием пружины 18 перемещается вверх до упора пальца 21 в шток 5;
при закрывании наружных дверей вагона воздух из демпферной части авторежима выходит в атмосферу. Поршень 9 под действием пружины 10 фиксирует стакан 7 в определенном положении в зависимости от загрузки вагона. Поршень 4 со штоком 5 перемещается вверх до упора в палец 21. Шток поднимает толкатель 12, который через ползун 15 (у авторежима 606 ползун и подвижной контакт 14), а также рычаг 22 перемещает вверх сухарь 24, тем самым изменяется отношение плеч рычага 39.
Перефиксация авторежима с груженого на порожний режим происходит в такой последовательности:
воздух из напорной магистрали давит на поршень 4, который, сжимая пружину 3, опускается, увлекая за собой шток 5, который через палец 21 опускает стакан 7 до тех пор, пока наконечник не коснется опорной площадки вагона;
при закрывании наружных дверей воздух из управляющей части авторежима выходит в атмосферу. Поршень 9 под действием пружины 10 фиксирует стакан 7 в положении, соответствующем загрузке вагона. Поршень 4 со штоком 5 перемещается вверх до упора в палец 21. Под действием пружины 18 ползун 15 с толкателем 12 опускается до упора в шток 5.
Таким образом, перефиксация загрузки осуществляется в момент открывания наружных дверей вагона. Полная загрузка вагона (груженый режим) соответствует наибольшему перемещению ползуна 15 с толкателем 12, а следовательно, и сухаря 24. При этом в момент торможения полости слева и справа от гильзы 29 постоянно сообщаются с воздухораспределителем и тормозным цилиндром, давление в котором будет равно давлению, обеспечиваемому воздухораспределителем.
Технические данные авторежимов
Модель.......... 605 606
Пределы регулирования давления воздуха, МПа, в объеме за авторежимом при полном служебном торможении и зарядном давлении 0,53—0,55 МПа:
порожний режим......... 0,28+0,02 0,28+0,02
груженый » ....... . 0,41+0,03 0,41+0,03
Число контактов:
подвижных.......... — I
неподвижных.......... — 6
Рабочий ход подвижного контакта, мм ... 35 35
Масса авторежимов, кг........ 21 23
|
|