Общие сведения. Колесные пары несут на себе всю нагрузку от кузова вагона, рам тележек с установленными на них узлами и при движении направляют вагон по рельсовому пути. На моторных вагонах они, кроме того, преобразуют-вращающий момент от тягового двигателя в поступательное движение поезда.
Колесные пары жестко воспринимают все удары от неровностей пути и в свою очередь жестко воздействуют на рельсовый путь. Поэтому колесные пары являются наиболее ответственной частью электропоезда: от их исправной работы зависит безопасность движения. Колесные пары электропоездов подразделяют на колесные пары моторного вагона и колесные пары прицепного вагона.
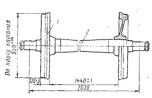
Колесная пара моторного вагона электропоезда ЭР2Р состоит из оси 1 (рис. 29), двух спицевых колесных центров 2 (один из них — правый — изготовляют с


5нс. 30. Колесная пара прицепного вагона

лабиринтными проточками на внутреннем торце ступицы), двух бандажей // с бандажными разрезными кольцами 12 и зубчатого колеса 7 со ступицей 14, а также подшипникового узла корпуса редуктора. У колесной пары моторного вагона электропоезда ЭР2 правый колесный центр изготовляют с удлиненной ступицей; подшипники корпуса редуктора устанавливают непосредственно на опорную поверхность оси.
Колесная пара прицепного вагона (рис. 30) имеет только ось 2 и два цельнокатаных колеса /.
Ось колесной пары испытывает сильные удары и значительные нагрузки от изгиба и скручивания. Тяжелые условия работы предъявляют особо высокие требования к материалу и способу обработки осей. Обработка всех поверхностей оси должна быть точной, а переходы от одного диаметра к другому должны выполняться плавно. Оси изготовляют ковкой из специальной осевой стали, а затем обрабатывают на токарных станках.
После механической обработки ось имеет: две шейки, служащие опорными поверхностями для буксовых подшипников . и оканчивающиеся резь-<нш; две под ступичные части, на которые напрессовывают колесные центры; две предподступичные части, осуществляющие переход от подступичных частей к шейкам оси; часть, служащую опорной поверхностью для ступицы (убчатого колеса; среднюю часть.
Ось колесной пары прицепного вагона отличается от оси колесной пары мо-юрного вагона меньшим сечением подступичных и средней частей, а также отсутствием опорной поверхности для ступицы зубчатого колеса.
Колесные центры моторного вагона спицевые. Состоит колесный центр из следующих частей: ступицы, служащей для насадки колеса на ось; обода, на который насаживают бандаж; равномерно расположенных 11 спиц, служащих для соединения обода со ступицей.
Цельнокатаное колесо прицепного вагона состоит из ступицы, обода, которому придают форму бандажа при вальцовке, диска, служащего для скрепления обо-ш со ступицей.
Колесные центры и цельнокатаные колеса изготовляют из углеродистой стали, причем спицевые колесные центры отливают в форме, а цельнокатаные колеса вальцуют на специальных станках.
Бандажи устанавливают на ободья колесных центров только моторных ва-юнов. Их изготовляют ковкой из высококачественной мартеновской стали с последующей прокаткой. Наружную поверхность бандажа, которая соприкасается с рельсом, называют поверхностью катания. Обточку бандажа осуществляют л" специальному профилю (рис. 31). Поверхность катания бандажа кониче-кая, с уклонами 1 /20 и 1 /7 в наружную сторону. Уклон 1/20 делают для улучшения условий прохождения вагона по кривым участкам пути.
Рис. 31. Профиль бандажа колесной пары.
/ — бандаж; 2 — бандажное кольцо; 3 — обод колесного центра
При движении вагона по кривым оба колеса одной оси, имеющие одинаковый диаметр и одинаковую частоту вращения, катятся одно по наружному рельсу, а другое — по внутреннему. Но наружный рельс всегда длиннее внутреннего, поэтому если бы у колес была цилиндрическая поверхность катания, то колесо, катящееся по наружному рельсу, должно было бы отставать от колеса, катящегося по внутреннему рельсу. Такое явление привело бы к проскальзыванию и, как следствие, к боксованию. При конической обточке колесо будет катиться по наружному рельсу большей своей окружностью (ближе к гребню), а по внутреннему рельсу — меньшей окружностью. При этом оба колеса будут проходить кривой участок пути почти одновременно и проскальзывания не будет. Более крутой уклон Ь'7 предназначен для поглощения наката металла, который образуется у наружного края бандажа во время движения.
Диаметр бандажа по кругу катания 1050 мм,внутренний диаметр 900 мм, ширина бандажа 130 мм. Для получения необходимого натяга бандаж до насадки протачивают до внутреннего диаметра, который на 0,9—1,1 мм меньше диаметра обода колеса.
Зубчатое колесо редуктора крепят к фланцу ступицы.
Формирование колесной пары. Формированием считают изготовление колесной пары из новых элементов. Вновь сформированная колесная пара должна удовлетворять утвержденным чертежам и техническим условиям.
Все элементы, подлежащие формированию, проверяют. Перед напрессовкой элементов все посадочные поверхности очищают от грязи и смазывают чистым растительным маслом.
Формирование колесной пары производят на гидравлическом прессе, снабженном манометром и прибором-индикатором, фиксирующим диаграмму усилий при запрессовке.
Бандажи надевают на колесные центры нагретыми до температуры 250— 320° С таким образом, чтобы упорный буртик бандажа упирался в обод. После этого в выточку бандажа заводят бандажное кольцо и при температуре не ниже 150° С на вальцовочном станке обжимают кромку выточки.
Сначала на ось напрессовывают колесные центры, а затем надевают на них бандажи.
Колесные центры (колеса) напрессовывают на ось в холодном состоянии с усилием 600—900 кН (60—90 тс) для прицепного вагона и 750—1000 кН (75— 100 тс) для моторного. Ступицу зубчатого колеса напрессовывают на ось с усилием 500—750 кН (50—75 тс). Чтобы обеспечить прочную посадку колеса, диаметр подступичной части оси делают на 0,1—0,35 мм больше диаметра отверстия ступицы. Во время запрессовки обязательно снимают диаграммы нажатий на ось как левого, так и правого колеса и хранят эти диаграммы в колесном цехе.
Сформированную и принятую колесную пару окрашивают в черный цвет (кроме осей колесных пар моторного вагона), а наружную грань бандажей — в белый. Также белилами красят внутреннее соединение ступицы с осью на прицепном вагоне. Затем наносят контрольные красные полосы по белилам. На колесных парах моторных вагонов эти полосы наносят в местах постановки контрольных меток, которые служат для контроля за сдвигом бандажа во время эксплуатации. Контрольная метка на бандаже, наносимая керном, имеет вид четырех-пяти углублений на 1,5—2 мм; контрольная метка на ободе, наносимая тупым зубилом, имеет вид риски глубиной до 1 мм.
Клеймение колесных пар. Эту операцию выполняют работники, имеющие удостоверение на освидетельствование колесных пар.
При формировании, ремонте и освидетельствовании колесных пар применяют следующие знаки и клейма:
клеймо в форме прямоугольника с закругленными углами, в котором стоит условный номер ремонтного пункта или завода, изготовляющего элементы ко-

Рис. 32. Знаки и клейма, расположенные на правом торце осн колесной пары моторного (а) н прицепного (б) вагонов:
/ — номер завода-изготовителя; 2 — номер пункта, перенесшего знаки; 3 — номер оси; 4 — клеймо, удостоверяющее правильность переноса знаков; 5 — дата изготовления оси; 6 — клеймо приемки; 7 —клеимо формирования колесной пары или смены оси; 8 — номер пункта, производившего формирование; 9 — клеймо приемки; 10 — дата формирования или смены оси; // — клеймо инспектора ОТК
лесных пар, производящего их формирование, освидетельствование с выпрессов-кой оси и полное;
цифры и буквы для обозначения даты и других данных (месяц обозначают только римскими цифрами, а две последние цифры года — арабскими; высота цифр 6 мм);
клеймо приемщика и инспектора ОТК;
клеймо в форме круга с'буквой Ф, обозначающее формирование новой колесной пары или смену оси;
клеймо в форме круга с буквой Д, обозначающее освидетельствование колесной пары с выпрессовкой оси;
клеймо в форме круга с буквами СБ, обозначающее смену бандажей.
Новые элементы колесных пар имеют четко обозначенные знаки и клейма (рис. 32 и 33).
Клеймение оси производят в два приема: вначале клейма ставят на необработанной средней ее части, а после обработки оси клейма переносят на правую торцовую часть. При формировании, а также при освидетельствовании колесной пары с выпрессовкой оси ставят дополнительные клейма на правом торце оси. В случае полного освидетельствования колесной пары дополнительные

Рис. 33. Знаки и клейма, расположенные на колесном центре (а), цельнокатаном колесе (б) и бандаже (в):
/ — номер завода-изготовителя; 2 — дата изготовления; 3 — номер партии; 4 — номер плавки; 5 — номер колесного центра; 6 — клеймо приемки; 7 —марка; 8 — номер колеса; 9 — номер бандажа
клейма (номер ремонтного пункта, дата освидетельствования и клейма приемщиков) ставят на левом торце оси.
Клеймение бандажей выполняют на боковой наружной грани, колесных центров — на наружной стороне ступицы, цельнокатаных колес — на боковой поверхности обода, зубчатых колес — на венцах.
Правой стороной колесной пары считайт сторону, на торце оси которой находятся знаки и клейма завода-изготовителя.
Виды и сроки осмотра и освидетельствования колесных пар. Колесные пары за время их службы подвергают осмотру под электропоездом, обыкновенному и полному освидетельствованию и освидетельствованию с выпрессовкой оси. ;
Осмотр колесных пар под электропоездом производят при техническом обслуживании и текущих ремонтах электропоезда.
При этом осматривают: бандажи и ободья цельнокатаных колес [проверяют, нет ли трещин, выбоин (ползунов), плен, раздавленностей, вмятин, отколов, раковин, выщербин, ослабления бандажей, предельного проката, вертикального подреза гребня и остроконечного наката];
колесные центры и цельнокатаные колеса (нет ли трещин в ступицах, дисках, спицах и ободьях, признаков ослабления или сдвига ступиц на оси);
оси (нет ли поперечных или продольных трещин, плен, протертых мест или других дефектов на открытых частях);
зубчатые передачи редукторов моторных вагонов на предмет выявления механических повреждений.
В конце каждого месяца у колесных пар замеряют прокат, толщину бандажей, ободьев и их гребней. Измерения выполняют по кругу катания, который находится на расстоянии 70 мм от внутренней грани бандажа или обода цельнокатаного колеса. Также замеряют расстояние между внутренними гранями бандажей. Результаты замеров заносят в книгу утвержденной Министерством путей сообщения формы.
Обыкновенное освидетельствование колесных пар производят во всех случаях их подкатки под электропоезд в депо. При обыкновенном освидетельствовании выполняют все проверки, предусмотренные осмотром колесных пар под электропоездом, а также очищают колесную пару от грязи и смазки; проверяют ось дефектоскопом, соответствие размеров всех элементов колесной пары установленным нормам допусков и износов, наличие установленных клейм и знаков; состояние зубчатого колеса, а также болтов, крепящих зубчатое колесо к фланцу ступицы; осматривают опорные роликовые подшипники редуктора.
Полное освидетельствование колесных пар осуществляют при:
ремонте электропоездов на заводах, связанном с выкаткой колесных пар;
смене хотя бы одного элемента колесной пары;
неясности клейм и знаков последнего полного освидетельствования;
повреждениях колесной пары после крушения, аварии, столкновения или схода вагона электропоезда с рельсов.
В случае полного освидетельствования колесных пар выполняют все работы, предусмотренные для обыкновенного освидетельствования, кроме того, очищают колесную пару от краски до металла, проверяют подступичные части осей ультразвуковым дефектоскопом (при непрозвучивании ультразвуком или обнаружении трещин в подступичной части ось подлежит выпрессовке), наносят клейма и знаки полного освидетельствования.
Освидетельствование колесных пар с выпрессовкой оси производят во всех случаях непрозвучивания оси ультразвуком (искажение отраженного сигнала на экране дефектоскопа) при полном освидетельствовании колесной пары, при необходимости снятия с нее одновременно обоих центров, а также при отсутствии или неясности клейм формирования, если колесной паре освидетельствование с выпрессовкой оси не производилось.
При освидетельствовании колесных пар с выпрессовкой оси выполняют все работы, предусмотренные для полного освидетельствования, и, кроме того, вы-прессовывают ось и проверяют магнитным дефектоскопом ее подступичные части; наносят клейма и знаки освидетельствования с выпрессовкой оси.
Неисправности колесных пар. Запрещается эксплуатировать колесную пару, если у нее имеется хотя бы одна из нижеперечисленных неисправностей:
поперечная трещина в любой части оси колесной пары (к поперечной трещине относят также косую трещину, расположенную к образующей под углом более 30°). Поперечная трещина оси образуется из-за механических повреждений или вследствие пороков в структуре металла. Трещины выявляются магнитной дефектоскопией, а в отдельных случаях — непосредственно при осмотре;
продольная трещина или плена на средней части оси длиной более 25 мм, а на других обработанных поверхностях оси независимо от размера;
прокат по кругу катания, измеряемый абсолютным шаблоном, более 8 мм;
толщина гребня, измеряемая абсолютным шаблоном, более 33 мм или менее 25 мм при измерении на расстоянии 18 мм от вершины гребня;
вертикальный подрез гребня, измеряемый специальным шаблоном, более 18 мм от поверхности катания. Под вертикальным подрезом гребня понимают большой износ нижней части гребня, когда на его поверхности, обращенной к рельсу, образуется вертикальная площадка;
остроконечный накат гребня (выявляется ощупыванием при осмотре);
ползун (выбоина) на поверхности катания более 0,7 мм. Получается он при заклинивании колесной пары, которое может произойти при неправильном торможении или вследствие разрушения подшипников двигателя, заклинивания зубчатой передачи и др. Глубину выбоины определяют путем сравнения результатов измерения абсолютным шаблоном в месте выбоины и по той же линии в другом месте, где нет выбоины;
раковина на поверхности катания (образуется из-за недоброкачественной отливки или плохой прокатки бандажа или обода цельнокатаного колеса на заводе; выявляется после износа или обточки верхнего слоя поверхности катания);
выщербина на поверхности катания у моторного вагона независимо от размера, а у прицепного вагона длиной более 25 мм и глубиной более 3 мм (возникает в результате отслаивания тонкого поверхностного слоя металла);
ослабление бандажа на колесном центре, оси в ступице, зубчатого колеса на ступице. Ослабление бандажа может произойти из-за недостаточного натяга, недоброкачестванной расточки бандажа или обода, попадания между посадочными поверхностями бандажа и обода окалины, грязи и песка. Для тонких бандажей причиной ослабления может явиться их недопустимый нагрев при чрезмерном нажатии тормозных колодок. Ослабление определяют по глухому дребезжащему звуку при обстукивании молотком или по несовпадению контрольных рисок. Если при работе на линии возникло подозрение, что произошло ослабление бандажа, то необходимо на бандаже и ободе сделать отметки мелом и по прибытии в пункт оборота (или на ближайшей станции) проверить их взаимное расположение. Ослабление оси в ступице может произойти из-за неправильной обточки подступичной части или расточки ступицы. Ослабление устраняют путем перепрессовки колесного центра. Признаками ослабления может быть выделение ржавчины или масла вокруг ступицы с внутренней стороны или нарушение целости красочного покрытия в месте сопряжения оси со ступицей. В этом случае нарушается расстояние между внутренними гранями колес. Ослабление зубчатого колеса может произойти из-за ослабления призонных болтов;
ослабление бандажного кольца на длине более 20% общей длины, а также не ближе 100 мм от замка кольца;
трещина или плена в бандаже, ободе, спице или ступице колесного центра; трещина или плена в ободе, диске или ступице цельнокатаного колеса. Эти трещины возникают при пороках металла или нарушении технологии изготовления;
местное увеличение ширины бандажа или обода цельнокатаного колеса в результате раздавливания более 5 мм. Это указывает на мягкость металла или наличие в нем внутренних продольных трещин или раковин:
протертое место на оси глубиной более 2,5 мм (может образоваться при попадании какого-либо предмета между остовом тягового двигателя и осью колесной пары);
толщина бандажей по кругу катания менее 35 мм, а толщина ободьев цельнокатаных колес менее 25 мм;
острые поперечные риски и задиры на шейках и предступичных частях осей;
неясность клейм последнего полного освидетельствования, отсутствие или неясность клейм формирования, если колесная пара еще не подвергалась освидетельствованию с выпрессовкой оси.
Также запрещается эксплуатировать колесную пару, если расстояние между внутренними гранями колес не будет соответствовать 1440 мм. Отклонение допускается в сторону увеличения или уменьшения не более чем на 3 мм, а у электропоездов, обращающихся со скоростью свыше 120 км/ч, — в сторону уменьшения не более чем на 1 мм. Нарушение этого расстояния может произойти по причине ослабления ступицы на оси колесной пары или в результате неправильной обточки внутренней грани бандажа.
|
|