Общие сведения. Буксы служат для передачи веса кузова вагона и тележки на ось колесной пары и тяговых и тормозных усилий от колесной пары на раму тележки, а также для ограничения продольного и поперечного разбега колесной пары. Корпус буксы, кроме того, защищает шейку оси и подшипники от грязи, песка и влаги, является резервуаром для смазки.
На электропоездах применяют буксы только с роликовыми подшипниками качения, которые по сравнению с подшипниками скольжения обладают следующими преимуществами: оказывают меньшее сопротивление движению, особенно при трогании; требуют меньшего ухода; обеспечивают большую долговечность работы буксового узла; позволяют увеличить скорость движения и экономию электрической энергии; предотвращают износ шеек оси, так как имеют внутренние кольца.
В буксовом узле расположена первая ступень рессорного подвешивания, которая смягчает удары, воспринимаемые колесной парой. Оставшиеся колебания через раму тележки передаются на вторую ступень — центральное рессорное подвешивание.
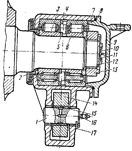
Буксовый узел моторного вагона электропоезда ЭР2. Корпус буксы стальной, литой, имеет в нижней части хвостовик, через который проходит балансир 14 (рис. 34) с укрепленными по его концам опорными стаканами. Стаканы закреплены болтами и служат для установки цилиндрических надбуксовых пружин 1 (рис. 35).
Балансир 14 (см. рис. 34) крепят к хвостовику буксы стальным валиком 1, который закреплен стопорной пластиной 17. Отверстия для валика как в хвостовике буксы, так и в балансире армированы стальными закаленными втулками 15. На корпусе 7 буксы укреплены наличники 4 (см. рис. 35), предохраняющие буксу от износа, возникающего вследствие ее взаимодействия с буксовыми направляющими рамы тележки. Каждый наличник состоит из двух стальных цементированных пластин — большой и малой, расположенных взаимно перпендику-
лярно. Большие пластины крепят к боковым сторонам корпуса буксы (они ограничивают разбег колесной пары вдоль тележки); малые пластины крепят к боковым ребрам корпуса буксы (они ограничивают разбег колесной пары в поперечном направлении относительно тележки). Между - наличниками буксы и наличниками буксовых направляющих рамы тележки имеются зазоры: вдоль оси колесной пары 2—4 мм, поперек оси 1—3 мм (суммарно на обе стороны). Наибольший допуск на зазоры в эксплуатации 5 мм — поперек оси и 7 мм — вдоль оси.
Монтаж буксы и подшипников выполняют в следующем порядке: на шейку оси напрессовывают в горячем состоянии лабиринтное кольцо 2 (см. рис. 34), далее внутреннее кольцо подшипника 3 с задним упорным буртиком, малое дистанционное кольцо 5, внутреннее кольцо подшипника 6 со съемной упорной шайбой. Затем надевают корпус буксы со вставленными
в него наружными кольцами с обоймами подшипников и большим дистанционным кольцом 4 между ними. Детали, напрессованные на ось, стягивают торцовой гайкой 13, для предотвращения отворачивания которой предусмотрена стопорная планка //, закрепленная двумя болтами 12, соединенными проволокой 10. Детали, вставленные в полость буксы, фиксируются крышкой 9, имеющей кронштейн для фрикционного гасителя. После сборки буксы в нее закладывают 2,5 кг смазки ЖРО.
Надбуксовое рессорное подвешивание состоит из двух цилиндрических пружин / (см. рис. 35), вставленных в опорные стаканы 2 балансира 6. Между стаканом 2 и пружиной / находится резиновый гаситель 3, который уменьшает шум, возникающий в результате ударов колес о стыки и неровности рельсов. Верхняя его часть армирована стальной накладкой для предотвращения быстрого изно-

^ч^^^^?^ П0ДВЄШИван»е арного вагона электропоезда ЭР2-

Рис. 34. Букса моторного вагона электропоезда ЭР2:
1 — валнк балансира; 2 — лабиринтное кольцо; 3 — подшипник № ЗН42726Л; 4, 5 — большое и малое дистанционные кольца; 6 — подшипник Ш ЗН232726Л1; 7 — корпус буксы; 8 — уплотни -тельное кольцо; 9 — крышка; 10 — проволока; // — стопорная планка; 12 — болт; 13 — торцовая гайка; /4 — балансир; 15 — втулка; 16 — шариковая масленка; 17 — стопорная пластина
са резины. На верхние концы пружин 1 опирается рама тележки, для чего в буксовых направляющих 7 предусмотрены чашки. Между верхним концом пружины 1 и дном чашки имеется стальная прокладка, предохраняющая дно чашки от износа.
Фрикционный гаситель служит для гашения вертикальных колебаний тележки. Он состоит из оси 11 и неподвижного диска 16, закрепленных на раме тележки. Н а ось устанавливают поворотный рычаг 15, обе стороны которого армированы шайбами из фрикционного материала (пластмассы), крышку 14 и нажимную пружину 13 с фигурной шайбой 12. Поворотный рычаг зажат между неподвижным"диском и крышкой пружиной.
Усилие пружины 13, регулируемое гайкой, контролируют по расстоянию между крышкой 14 и фигурной шайбой 12, которое должно быть 70+0,5 мм. Его определяют как полусумму двух расстояний, измеренных в диаметрально противоположных точках.
Поворотный рычаг 15 вытянутой частью соединен с поводком 10, а последний — с кронштейном корпуса буксы. В местах соединения поводка установлены резиновые втулки 9, обеспечивающие возможность перекосов поводка.
Гашение колебаний происходит из-за трения в паре пластмасса—сталь, возникающего вследствие того, что пружина прижимает фрикционные диски друг к другу. Фрикционные поверхности должны быть чистыми и сухими. Попадание во фрикционную пару смазки, графита или других инородных веществ недопустимо. Фрикционные гасители устанавливают только на моторных вагонах.
Буксовый узел прицепных вагонов электропоездов ЭР2 и ЭР2Р. Корпус буксы (рис. 36) стальной, литой, выполненный для бесчелюстного подвешивания, представляет собой одно целое с опорными чашками для установки надбуксо-вых цилиндрических пружин. В чашках имеются отверстия для прохода шпин-тонов. Подшипники применяют такие же, как и в буксе моторного вагона электропоезда ЭР2, но только устанавливают их на шейку оси без дистанционных колец (впритык). Монтаж буксы и подшипников осуществляют в таком же порядке, как и на моторном вагоне электропоезда ЭР2. На головных вагонах на первую колесную пару устанавливают привод скоростемера.
Надбуксовое рессорное подвешивание (рис. 37) состоит из двух двухрядных цилиндрических пружин 2 и 3 (наружной и внутренней), которые надеты на стальные литые шпинтоны /, " служащие направляющими.
Шпинтоны крепят болтами к продольной балке рамы тележки. На верхние концы наружных пружин 2 опирается рама тележки, а нижние концы пружин стоят на резиновых гасителях 6, 8, армированных стальными подкладками, предохраняющими резину от износа. Резиновые гасители установлены на дно чашки крыльев корпуса буксы. Подкладка 7 нижнего гасителя выполнена вместе со стаканом, который служит для предохранения резины от выдавливания. Таким образом, вертикальная нагрузка тележки передается через наружные


Рис. 37. Надбуксовое рессорное подвешивание прицепного вагона электропоезда ЭР2:
/ — шпикток; 2 — наружная пружниа; 3 — внутренняя пружина; 4 — стальная прокладка; 5, 9 — конические кольца; б, « — резиновые гасители; 7 —подкладка нижнего гасителя; 10 — гайка; // — пружинная шайба; 12 — гильза; 13 — сухарь
пружины 2 и резиновые гасители 6, 8 на корпус буксы. Нижние концы шпинтонов 1, имеющие резьбу, проходят сквозь отверстия в чашках буксы. На них навинчена гайка 10, сверху которой находится пружинная шайба 11, служащая для смягчения ударов гайки о крыло буксы при движении тележки по неровностям пути. Для предотвращения самоотвинчивания гайки установлен шплинт,
Фрикционный гаситель надбуксового подвешивания прицепного вагона состоит из шести сухарей 13, обхватывающих напрессованную на шпинтон 1 гильзу 12, двух конических колец 5, 9 и внутренней пружины 3. Сухари расположены между двумя коническими кольцами 5 и 9, верхнее из которых постоянно поджимается внутренней пружиной 3, упирающейся в утолщенную часть шпинтона, а нижнее лежит на уступе нижнего резинового гасителя 8. Под воздействием пружины и благодаря двойной конусности сухарей и колец возникают силы, прижимающие сухари к гильзе шпинтона и вызывающие трение между ними. Таким образом гасятся все колебания, возникающие в надбуксовом подвешивании. Конструкция фрикционного гасителя не требует ухода и регулировки во время эксплуатации.
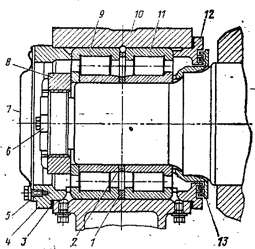
Буксовый узел моторного вагона электропоезда ЭР2Р. Корпус буксы 10 (рис. 38) литой, стальной, выполненный для бесчелюстного подвешивания, имеет ступенчатое расположение крыльев для установки надбуксовых рессор и два прилива (один вверху, другой внизу) для крепления поводков 3 (рис. 39). Поводки одним концом валиками соединены с кронштей-

Рис. 38. Букса моторного вагона электропоезда ЭР2Р:
1,2 — малое и большое дистанционные кольца; 3 — уплотнительное кольцо; 4 — крышка; 5 — прокладка; 6 — стопорная планка; 7 — смотровая крышка; 8 — торцовая гайка; 9, // — подшипники; 10 — корпус буксы; 12 --задняя крышка; 13 — лабиринтное кольцо

Рис. 39. Надбуксовое рессорное подвешивание моторного вагона электропоезда ЭР2Р:
/ — резинометаллическая втулка; 2 — корпус буксы; 3 — поводок; 4 — валик поводка; 5 - наружная пружина; 6 — внутренняя пружина; 7 — стакан; 8 — резиновый гаситель
ном рамы тележки, а другим — с приливом корпуса буксы. Приливы корпуса буксы и кронштейны рамы имеют клиновидные пазы, в которые входят головки валиков 4 поводков, закрепляемые болтами со стопорными шайбами. Поводки насажены на валики с натягом при помощи резинометаллических втулок 1 и предназначены для ограничения разбега колесной пары при прохождении неровностей пути. Разбег не должен быть в продольном направлении более 1 мм, в поперечном — более 7,5 мм. К задней части корпуса буксы 2 болтами с пружинными шайбами крепят лабиринтную крышку 12 (см. рис. 38).
Внутри буксы установлены два роликовых подшипника 9 и //, между которыми находятся дистанционные кольца 1 и 2. В верхней части стенки корпуса буксы имеется отверстие, а в дистанционном кольце — кольцевая канавка и восемь радиальных отверстий, через которые в полость подшипников подается смазка. Отработанная смазка удаляется из буксы через два отверстия в нижней части корпуса. В эксплуатации отверстия закрыты пробками. Сборку буксы выполняют в таком же - порядке, как и на моторном вагоне электропоезда ЭР2.
Помимо крышки 4 буксы, имеется еще смотровая крышка 7, на место которой может быть установлен датчик противогазного устройства (с правой стороны).
Подшипники в буксе моторного вагона электропоезда ЭР2Р такие же, как и в буксе моторного вагона электропоезда ЭР2. В буксу закладывают 2,5 кг смазки ЖРО.
Надбуксовое рессорное подвешивание (см. рис. 39) состоит из двух комплектов цилиндрических пружин 5 и 6. На опорных поверхностях буксы расположены резиновые гасители 8, армированные стальными опорными стаканами 7, на которые установлены двухрядные цилиндрические пружины. На верхние их концы опирается рама тележки, для чего на ней предусмотрены также опорные стаканы.
В буксовом узле предусмотрен фрикционный гаситель, устройство и назначение которого аналогичны устройству и назначению фрикционного гасителя колебаний, установленного в буксовом узле тележки моторного вагона электропоезда ЭР2.
|
|