Назначение и технические данные. Выключатель ПВУ предназначен для автоматического замыкания и размыкания цепи управления в зависимости от давления сжатого воздуха. Его технические данные:*
Номинальное напряжение контак-
торного элемента........ ПО В
Длительный ток....... 35 А
Число контактов:
размыкающих....... —
замыкающих........ 1
Разрыв контактов ........ 5...8 мм
Ход штока......... 5...6 мм
Уставка аппарата:
на замыкание ........ 0,45...0,48 МПа
(4,5...4,8 кгс/см2)
па размыкание . . . .... 0,27...0,29 МПа
(2,7...2,9 кгс/см2)
Масса........... 3,5 кг
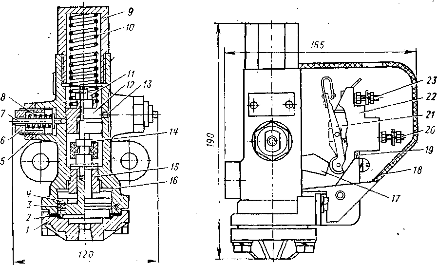
Устройство и работа. Пневматический выключатель (рис. 38) состоит из привода, шариковых фиксаторов, механизма переключения и контакторного элемента. В корпусе 16 установлен поршень 4 с манжетой 3, шток 14, отключающая пружина 10 и пробка 9. Направление движению поршня задается с помощью втулки 15.
'Корпус по месту установки поршня 4 герметически закрыт крышкой /, уплотненной прокладкой 2. На штоке 14 размещен поршенек 12 с гайкой 11, по центру фиксирующей канавки 'поршенька 12 устанавливают шариковые фиксаторы, состоящие из шариков 13, толкателей 7,

Рис. 38. Выключатель пневматический ПВУ-2
Таблица 8'
|
Неисправность |
Причина |
■ Способ устранения |
|
Привод недостаточно уплотнен. |
Изношена резиновая манжета или на ней обнаружены порезы, трещины, гофры, загибы бурта в обратную сторону |
Манжету замените новой |
|
Нечеткая работа аппарата при давлениях уставки |
Плохо затянута пружина шарикового фиксатора |
Измените затяжку пружины шарикового фиксатора |
|
• |
Изношен фиксатор |
Проверьте степень износа фиксатора. При значительном местном износе фиксирующего буртика канавки поршенька последний проверните на 10—20° таким образом, чтобы против шарика находилась канавка, имеющая правильную форму.' При износе шарика на 3—3,5 мм замените его |
пружин 8 и нажимного стакана 6, закрепляемого после регулировки гайкой 5. Рычаг 17, шарнирно связанный со штоком, в зависимости от положения последнего через рычаг 21 переключает контакторный элемент 22, закрытый кожухом 18.
Электрические провода цепи управления подсоединяются к клеммам 20 и 23, причем клемма 23 соединяется с неподвижным контактом, а клемма 20 — с подвижным контактом. Зазор между подвижным и неподвижным контактами регулируется применением различного вида прокладок 19.
Сжатый воздух, подведенный под поршень 4 в отверстие крышки /, преодолевая усилие пружины 10 и усилие нижнего шарикового фиксатора, при достижении уставки перемещает вверх шток 14 до упора поршня в корпус. Шток поворачивает рычаг 17, который через рычаг 21 переключает контакторный элемент 22.
При снижении давления сжатого воздуха пружина 10, преодолевая его противодавление и усилие верхнего шарикового фиксатора, по достижении уставки перемещает шток вниз до упора его буртом в корпус. Регулировка аппарата на уставки осуществляется изменением затяжки пружин 8 шариковых фиксаторов.
Возможные неисправности выключателей и способы их устранения указаны в табл. 8.
|
|