Назначение и технические данные. Пневматический стеклоочиститель СЛ-21Б предназначен для очистки стекол лобового окна кабины машиниста электропоезда от атмосферных осадков и пыли.
Технические данные стеклоочистителя:
Угол размаха щетки (от среднего
положения).......... 50°
Длина щетки ........■ 410 мм
Усилие прижатия щетки к стеклу,
не менее........... 2,3 Н (0,23-кгс)
Присоединительный размер ... К- труб У8"
Масса........... 1,2 кг
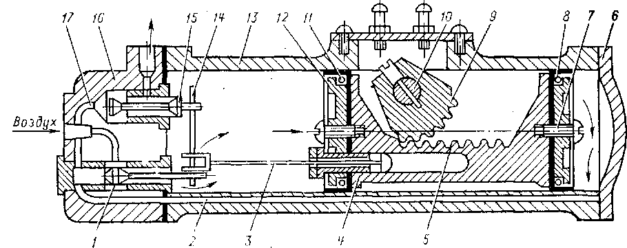
Устройство и работа. Стеклоочиститель (рис. 39) состоит, из цилиндрического корпуса 13, закрытого передней 16 и задней крышками 6. В нижней части крышки 16 имеется впускной клапан /, а в верхней — выпускной клапан 15.
Внутри цилиндрического корпуса размещены два поршня — левый 12 и правый 7, которые соединены между собой зубчатой рейкой 5. На поршнях имеются уплотняющие манжеты 8 и //.
В зацеплении с зубчатой рейкой находится зубчатый сектор 9, вращающийся вокруг оси 10. К оси 10 сектора присоединен кулачок с пружинным рычагом, на концах которого укреплена резиновая щетка для очистки стекол. Поршни с помощью тяги 3 во втулке 4 и стержня 14 соединяются с клапанами 1 и 15. в передней крышке сделано впускное отверстие, через которое сжатый воздух может поступать в левую или правую часть цилиндра через клапан /.
Когда поршни находятся в левой части цилиндра, сжатый воздух поступает через открытый впускной клапан / в левую часть цилиндра. Поршни'вместе с зубчатой рейкой 5 перемещаются вправо, а воздух, находящийся между поршнем 7 и задней крышкой 6, выходит через каналы 2 и 17 и клапан 15 в атмосферу. Когда поршни будут находиться в крайнем правом положении, передвинутся вправо также тяга, 3, стержень 14 и клапаны / и 15. Впускной клапан / прекратит доступ воздуха в левый цилиндр и откроет канал 2, по которому воздух поступит в правый цилиндр. Выпускной клапан 15 закроет выход из каналов 2 и 17 и соединит с атмосферой левый цилиндр для выхода воздуха. Поршни начнут передвигаться влево. При этом зубчатая рейка поршней поворачивает зубчатый сектор и ось, на которой закреплен рычаг со щеткой.

Рис. 39- Стеклоочиститель СЛ-21Б
Когда поршни и зубчатая рейка достигнут крайнего левого положения, рассмотренный процесс снова повторится. Таким образом, щетка все время перемещается по стеклу с размахом, составляющим угол 100°.
|
|