Назначение и технические данные. Клапан А 16.000 служит для привода в действие тифона и свистка. Технические данные клапана:
Присоединительные размеры: к источнику сжатого воздуха ......... Труб. Ч2" ■
к свистку ....... Труб. 3/в"
к тифонам...... Труб. 7г"
Масса клапана...... 2,32 кг
Габаритные размеры .... 155X90.5X98 мм

Рис. 40. Кран КрП

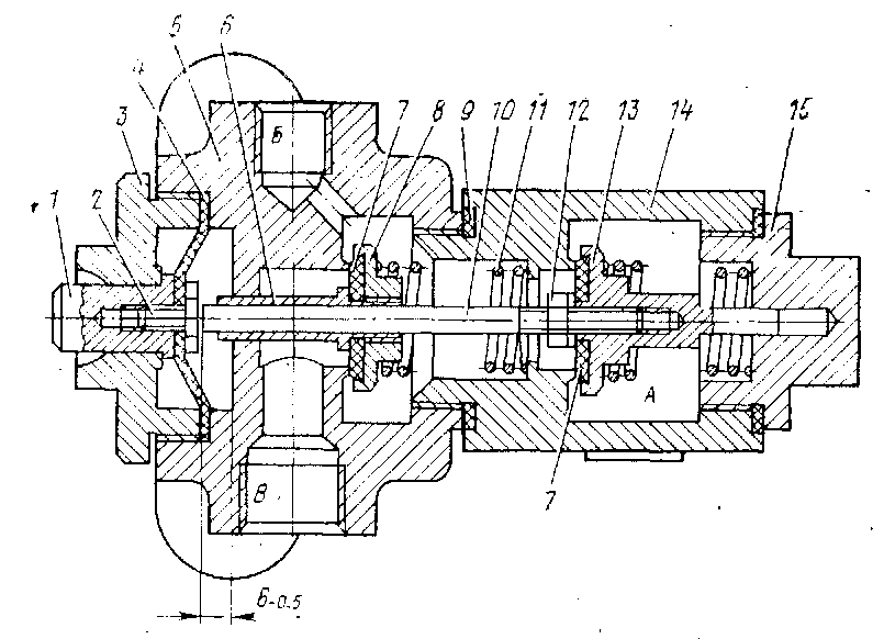
Рис. 41. Клапан А 16.000
Устройство и работа. В корпус 5 (рис. 41) ввернут тройник 14, внутри которого-расположены два клапана. На стержне 10 навернуто гнездо 13 с резиновой прокладкой 7, прижимаемой к гнезду гайкой 12. Тройник закрыт пробкой 15.
Левый клапан (по рисунку) состоит из пустотелого стержня 6, гнезда 8 и резиновой прокладки 7, прижимаемой к гнезду с помощью бурта стержня. Оба клапана прижимаются к своим седлам пружинами //. Между крышкой 3 и корпусом 5 зажата кожаная диафрагма 4, которая по центру зажата между толкателем / и головкой винта 2. •
Для уплотнения соединений корпуса 5 с тройником 14 и последнего с пробкой 15 установлены резиновые прокладки 9. В тройнике 14 имеется прилив с отверстием, к которому подводится воздухопровод от источника сжатого воздуха. К отверстию Б подводится воздухопровод от свистка, а к отверстию В — от тифона.
Если нажатие на толкатель / небольшое, то последний через головку винта 2 нажимает на стержень 10 и отжимает правый клапан от седла, обеспечивая протекание сжатого воздуха от источника (полость А) через отверстие Б к свистку. В это время второй клапан остается закрытым и тифоны разобщены с источником сжатого воздуха.- При более сильном нажатии на толкатель 1 вместе Со стержнем 10 перемещается и пустотелый стержень 6, благодаря чему оба клапана отжимаются от своих седел и сжатый воздух от источника одновременно поступает через отверстие Б к свистку и через отверстие В — к тифонам.
|
|