Назначение и технические данные. Тифон предназначен для подачи сигнала с высоким звуковым эффектом. Его технические данные:
Присоединительный размер .... Труб. '/2"
Масса............. 2,275 кг
Габаритные размеры...... 390X160 мм
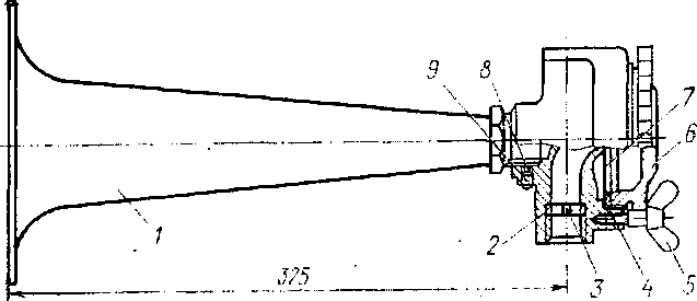
Устройство и принцип действия. Тифон (рис. 42) состоит из корпуса 2, в который ввернут рупор /, имеющий на конце резьбовой штуцер. После ввертывания в корпус рупора последний фиксируется с

Рис. 42. Тифон Л58.001
помощью сухарика 8 и винта 9. Между корпусом 2 и крышкой 6 зажата однослойная мембрана 7, уплотненная резиновым кольцом 4.
Сжатый воздух подводится в нижнюю часть корпуса 2 через ниппель 3. Регулировка положения тифона осуществляется с помощью крышки 6 и барашкового винта 5.
VI. УХОД ЗА ТОРМОЗНЫМ И ПНЕВМАТИЧЕСКИМ ОБОРУДОВАНИЕМ
|
|