Назначение. Выключатель ВОВ-25-4М однополюсного исполнения служит для оперативных и аварийных отключений силового электрооборудования. Технические данные выключателя:
Номинальное напряжение ...... ' 25 кВ
Допустимые пределы изменения напряжения .............. 12...29 кВ
Номинальный ток......... 400 А
Предельный ток отключения..... 10 000 А
Сквозной ток короткого замыкания (амплитуда).............. 25000 Л
Наибольшее рабочее избыточное давление
сжатого воздуха в баке ....... 0,9 МПа
.......... (9 кгс/см2)
Диапазон рабочих избыточных давлении
сжатого воздуха в баке....... 0,6...0,9 МПа
(6...Э кгс/см2)
Мощность отключения:
номинальная в диапазоне избыточных давлений 0,6...0,9МПа (6...Э кгс/См2) 250 МБ-А
при избыточном давлении ниже 0,6 МПа (6 кгс/см2), но не менее
0,46 МПа (4,6 кгс/см2) ....... 125 МВ-А
при двукратном отключении без пополнения запаса воздуха в баке выключателя при начальном избыточном давлении в нем:
не менее 0,8 МПа (8 кгс/см2) . . 250 МВ-А не менее 0,7 МПа (7 кгс/см2) . ■ . 125 МВ-А Номинальное напряжение постоянного
тока цепей управления ...... 110 В
Допустимые пределы изменения рабочего " напряжения в цепях управления .... 71,5... 132 В
Избыточное давление срабатывания автомата минимального давления: ,
на размыкание контактов.....0,48_о,о2 МПа
(4,8_0,2 кгс/см2)
на замыкание контактов...... 0,58_о,ог МПа
(5,8_0,2 кгс/см2)
Снижение избыточного давления за счет утечек с учетом вентиляции изоляторов при начальном давлении 0,8 МПа (8 кгс/см2), 0,6±0,15 МПа
не более..............(6±1,5 кгс/см2)
Снижение избыточного давления за счет утечек без учета вентиляции при началь- 0,1 МПа ном давлении 0,8 МПа (8 кгс/см2), не более (1 кгс/см2)
Собственное время отключения от удерживающего электромагнита при 0,8 МПа (8 кгс/см2) и номинальном напряжении на катушке (время от момента размыкания цепи катушки до момента размыкания ду-гогасительных контактов), не более . . . 0,04 с
Собственное время автоматического отключения от промежуточного реле при 0,8 МПа (8 кгс/см2) и при номинальном оперативном напряжений:
при токе, равном 130% тока срабатывания, не более........,• 0>06 с
при токе, равном двукратному и более току срабатывания, не более ... . . 0,05 с
Собственное время автоматического отключения от электромагнита переменного тока при токе в катушке, равном 15 А, и давлении воздуха в резервуаре выключате-ля 0,8 МПа (8 кгс/см2), не более .... 0,03 с
Собственное время включения выключателя при 0,8 МПа (8 кгс/см2), не более . 0,14 с
Допустимая длительность электрического импульса на электромагнит включения, не
более............... 5 с
Число блок-контактов:
замыкающих .......... ^
размыкающих'..........
Нормальное положение выключателя . . отключенное Масса.............. 2т кг

Рис- 56. Общий вид выключателя ВОВ-25-4М
Пределы ступенчатого регулирования тока уставки на промежуточном реле для автоматического отключения должны соответствовать следующим значениям:
Отпайка реле ,.......К1-К6 К1-К5 К1-К4
Число витков........ 75 58 48
Ток уставки, А ....... 80±12 100±15 120±18
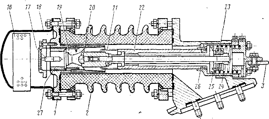
Конструкция. Общее представление о конструкции выключателя дают рис. 56, 57, 58, на которых одни и те же узлы и детали обозначены одинаковыми номерами. Опорной конструкцией выключателя является силуминовый корпус 10, с помощью которого выключатель закрепляется на крыше моторного вагона. Уплотнение между корпусом 10 и установочной площадкой крыши обеспечивается резиновым шну-р.ом 11, закладываемым в паз корпуса 10. К одной из стенок корпуса 10 прикреплен с помощью патрубка воздушный резервуар 15 вместимостью 32 л. Воздух из главных резервуаров к выключателю подается через питательную магистраль, присоединяемую к штуцеру 12. Из резервуара 15 в корпус 10 выведена трубка 14, предназначенная для спуска сжатого воздуха и конденсата. Трубка 14 оканчивается в корпусе 10 штуцером с внутренней резьбой Труб. 1/2". К этому штуцеру должна быть подключена отводящая трубка с запорным вентилем. *
Над корпусом 10 установлены высоковольтные части выключателя: пустотелый воздухопроводный изолятор 4, изолятор 2 дугогаситёль-ной камеры, разъединитель 6, нелинейный резистор 28 (ВНКС-25М), поворотный изолятор разъединителя 8. Между ножами разъединителя шарнирно' укреплен вывод 7, предназначенный для присоединения выключателя к высоковольтной сети. Вторым выводом выключателя является латунный фланец /, установленный на дугогасительной камере.
На корпусе 10 установлен заземляющий кронштейн 5, предназначенный для заземления ножей разъединителя в отключенном положении выключателя'. На кронштейне 5 имеется отверстие для крепления заземляющей шины. Заземлять корпус выключателя другим способом запрещается.
Внутри корпуса 10 смонтированы механизмы управления выключателем: блок 55 (см. рис. 58) главного клапана и привода, клапан отключения 44, клапан1 включения 63, включающий электромагнит постоянного тока 64, отключающий электромагнит постоянного тока удерживающего типа 46, отключающий электромагнит переменного' тока 34, сигнально-блокирбвочный аппарат 36, автомат минимального давления 52, штепсельные разъемы 9, промежуточное реле 38 и др.'
В корпусе 10 также расположены: штуцер 12 (с внутренней резьбой Труб. 1/2") для подсоединения питающего воздухопровода и штуцер 41 для присоединения трубки с манометром (с внутренней резьбой 1/2").
Токоведущий контур дугогасительной камеры (см. рис. 57) образуется неподвижным контактом 3, который также является контактом разъединителя, цилиндром 26, спаянным с трубкой 22, которая оканчивается пружинными ламелями 21, подвижным дугогасительным контактом 20, который связан посредством штока с поршнем 25, дугогасительным контактом 19, в котором устроено сопло, трубой 27 и фланцем 1, к которому подключается ошиновка. В трубу 27 встроен ограничитель дуги 17, оканчивающийся тугоплавким наконечником. К фланцу / прикрепл'ен колпак 18. Резистор с нелинейным сопротивлением крепится к фланцам 1 и 16. ТЗсе контактные поверхности токоведущего кон-тура покрыты слоем серебра с целью обеспечения надежного электрического контакта. .......
Контактное усилие между дугогасительными контактами составляет приблизительно 525 Н (52,5 кгс) и создается пружиной 24 при вжиме контакта 20 на 15 мм. Вжим создается ввинчиванием трубы 27. -Для смягчения ударов поршня 25 при его перемещении в крайнее правое положение предусмотрен демпфер 23, который набирается из резиновых и стальных шайб.

Рис. 57. Дугогасительная камера

Выключатель снабжен патроном аэрации 29 (см. рис. 58) для постоянной вентиляции полостей воздухопроводного изолятора гасительной камеры.
Перед включением выключателя необходимо поднять давление сжатого воздуха в баке до 0,56...0,58 МПа (5,6...5,8 кгс/см2). При этом замыкающие контакты автомата минимального давления 52 замкнутся и подготовят общую цепь управления. В отключенном положении выключателя контакты 19 и 20 дугогасительной камеры (см.рис.57) замкнуты (они размыкаются только на короткий период гашения дуги при отключении), поэтому для включения выключателя достаточно включить его разъединитель.
Операция включения начинается действием включающего электромагнита 64 (см. рис. 58) постоянного тока 110 В. Цепь катушки этого электромагнита заведена через контакты сигнально-блокировочного ' аппарата 36. При подаче на катушку электромагнита 64 оперативной команды на включение его сердечник втягивается и посредством штока открывает клапан включения 63, вследствие чего сжатый воздух из патрубка 13 по каналам 53 и 62 устремляется в цилиндр 60 и перемещает в крайнее левое положение поршень 61. Этот поршень посредством штока 65, серьги 67 и рычага 66 поворачивает вал 39, изолятор 8 и разъединитель 6 на угол 60°. Ножи разъединителя при этом замыкаются с неподвижным контактом 3. В конце поворота вала 39 посредством рычага 35 перемещается шток сигнально-блокировочного аппарата 36, контакты которого прерывают цепь включающего электромагнита 64. Сердечник электромагнита возвращается в исходное положение, и пусковой клапан 63 закрывается.
При закрытом клапане сжатый воздух из цилиндра привода через каналы 62 и 48 выходит в атмосферу. На этом операция включения заканчивается. При повороте вала рычаг 45, сидящий на валу, нажимая на шток, заводит рабочую пружину 47 отключающего электромагнита 46. Якорь этого электромагнита удерживается во втянутом положении, если катушки электромагнита обтекаются током.
Если же после включения выключателя катушки удерживающего электромагнита 46 окажутся почему-либо обесточенными, немедленно начнется операция отключения.
Предотвращение звонковой работы выключателя (автоматическое чередование операций включения и отключения) осуществляется в этом случае специальной релейной схемой, входящей в общую схему управления электропоездом.
Ограничение скорости движения подвижных частей при включении выключателя происходит благодаря компрессии воздуха с левой стороны поршня 61 и наличию клапана 56 в цилиндре привода.
Отключение начинается либо действием удерживающего электромагнита 46 постоянного тока, либо действием электромагнита 34 переменного тока.
Удерживающий электромагнит 46 срабатывает при размыкании цепи его катушек под действием рабочей пружины 47. В состоянии готовности якорь электромагнита подтянут, катушки находятся под напряжением. Электромагнит 46 снабжен двумя катушками, выводы кото-
рых выведены на клеммник, смонтированный в его корпусе. Катушки соединены последовательно. Размыкание цепи удерживающего электромагнита может осуществляться независимо тремя способами: размыкающими контактами промежуточного реле 38 при действии его от максимальной защиты; размыкающими контактами автомата минимального давления при снижении давления ниже допустимого предела или кнопкой управления при оперативном отключении. Питание катушки промежуточного реле 38 осуществляется от высоковольтного трансформатора тока (см. рис. 58, б).
Электромагнит переменного тока 34 (см. рис. 58, а) предназначен для нужд специальной защиты и срабатывает при подаче на него пе-' ременного тока.
В момент действия любого электромагнита (34 или 46) поворачивается рычаг 40 и открывается клапан отключения 44, через который сжатый воздух из резервуара поступает по каналам 53,43 и 30 к поршню 41 главного клапана <32, перемещая его в крайнее левое положение, вследствие чего открывается главный клапан 32. Через открытый главный клапан 32 сжатый воздух поступает из резервуара по каналу 33 и пустотелому изолятору 4 в полость дугогасительной камеры 2. Параллельно с этим сжатый воздух по каналу 54 поступает в дополнительный объем 57 и далее через канал 51 к поршню 61 привода.
В полости дугогасительной камеры (см.рис. 57) под действием нарастающего давления подвижный контакт 20, связанный с поршнем 25, смещается вправо на 25 мм, сжимая пружину 24. Удар поршня гасится буферным устройством 23.
Из-за смещения контакта 20 открывается сопло, устроенное в. неподвижном контакте 19, через которое воздух устремляется в полость колпака 18 и далее уходит в атмосферу. Электрическая дуга, образовавшаяся между контактами 19 и 20, втягивается потоком сжатого воздуха в сопло контакта 19, перекидывается на ограничитель 17 и вследствие интенсивного обдувания струей сжатого воздуха гасится.
Одновременно поршень привода перемещается в крайнее правое положение, поворачивая вал 39 (см. рис. 58) с изолятором 8 и разъединителем 6 на 60°, в результате чего прерывается цепь разъединителя. При повороте вала 39 рычаг 45 освобождает шток удерживающего электромагнита, который под действием электромагнитных сил и рычага 40 приводится в состояние готовности. Закрывается клапан отключения 44 и открывается выход в атмосферу из цилиндра главного клапана, из-за чего давление в цилиндре главного клапана падает до атмосферного, и поршень главного клапана возвращается в исходное положение под действием пружины 31, а главный клапан закрывается. После закрытия главного клапана давление в камере падает, подвижный контакт камеры под действием пружины 24 (см. рис.57) возвращается в исходное положение, замыкая контакты 19 и 20 при отключенном разъединителе. .
На этом операция отключения заканчивается.
В отключенном и включенном положениях выключателя вал разъединителя фиксируется_ специальным доводящим механизмом 42 (см. рис. 58). На нижнем конце вал'а укреплен указатель положения
с надписями Вкл. и Откл. Механизм выключателя закрыт снизу кожухом, который не показан на рисунках.
Поскольку разъединитель может отключать только обесточенную цепь, необходимо обеспечить такие условия, при которых процесс отключения разъединителя начинался бы после гашения дуги в камере. Эти условия обеспечиваются некоторым запаздыванием, с которым начинается отключение разъединителя относительно момента расхождения дугогасительных контактов. Запаздывание отключения разъединителя возникает вследствие того, что наполнение цилиндра привода происходит через дополнительный резервуар 57 и через канал 49, поэтому рост давления в цилиндре несколько замедляется. В момент поступления воздуха в дополнительный резервуар пластинчатый клапан 56 закрывает канал 50, оставляя открытым только канал 49.
Вместимость дополнительного резервуара и размер отверстия регулируют с таким расчетом, чтобы время запаздывания разъединителя составляло 0,03...0,035 с.
|
|