Кулачковые элементы предназначены для обеспечения, переключений в соответствии с программой, определяемой разверткой кулачковых шайб. На электровозе использованы кулачковые элементы двух типов 1SKAD1 и 5SV1.
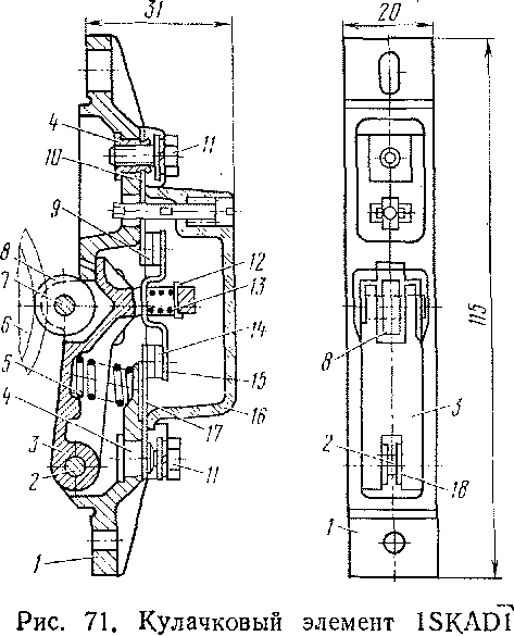
Кулачковый элемент 1SKAD1 (рис. 71) установлен в групповом переключателе и промежуточном контроллере. Корпус / кон-

10
Рис. 70. Реле перегрузки типа 14СМ5
тактора выполнен из влагостойкого изоляционного материала. В него при изготовлении запрессованы втулки 4 с неподвижными контактами 10, 17, на концы которых напаяны круглые серебряные контактные шайбы 9. Втулки имеют внутреннюю резьбу М4 под болты для крепления подводящих проводов.
Поворотный рычаг 3 изготовлен из того же материала, что и каркас элемента. Один конец рычага вращается на валике 2, установленном в отверстиях каркаса. От выпадания валик предохранен двумя стопорными кольцами 18. На другом конце рычага имеется окно, в котором расположен мостиковый контакт 15 с напаянными серебряными контактными шайбами 14. Контактное нажатие обеспечивается пружиной 13, размещенной в окне между мостиковым контактом 15 и опорной шайбой 12. В средней части рычага между двумя проушинами помещен на оси 7 шариковый подшипник 8 с внешним диаметром 10 мм. Использование шарикового подшипника резко снижает* • сопротивление трения при замыкании и размыкании контактов включателя. Между рычагом и корпусом установлена в сжатом состоянии включающая пружина 5.
Вся контактная система закрыта прозрачным кожухом 16 из специального материала, обладающего высоким противоударным сопротивлением. Кожух защищает контакты не только от механических повреждений, но главным образом от химического воздействия окружающей среды на поверхность контактов.
Процесс замыкания контактов элемента начинается в момент скатывания шарикового подшипника 8 с профиля кулачка кулачковой шайбы 6. При этом рычаг 3 получает возможность поворачиваться на валике 2 под действием включающей пружины 5 до упора на корпусе /. В процессе движения рычага мостиковый контакт 15 сначала движется вниз до тех пор, пока полностью не соприкоснется с неподвижными контактами 10 я 17 — в этот момент поворотный рычаг 3 находится в определенном промежуточном положении. При дальнейшем движении рычага мостиковый контакт своими контактными шайбами 14 скользит по неподвижным контактным шайбам 9, пока рычаг 3 не займет конечного положения. При этом происходит самоочищение контактов и обеспечивается надежная притирка контактных шайб. При размыкании процесс происходит в обратном порядке.

Для обеспечения правильной работы кулачкового элемента 1^КАО I в процессе эксплуатации необходимо следить, чтобы во включенном состоянии зазор между торцовой поверхностью кулачковой шайбы 6 и шариковым подшипником 8 находился в пределах 1 —1,5 мм, что гарантирует надежную притирку контактов. При выключении подшипник должен переместиться не менее чем на 4 мм, чтобы обеспечить надежное размыкание контактов. Основные технические данные кулачкового элемента следующие:
Номинальное напряжение............... 48 В
Номинальный ток.................. 10 А
Раствор контактов .................. не менее 3 мм
Провал контактов.................. 2 мм
Кулачковый элемент 5SV1 (рис. 72) установлен в контроллере машиниста и реверсорах. Корпус 14 и рычаг 9 элемента, изготовлены из бакелита. На рычаге укреплен ролик 8, скользящий по профилю кулачковой шайбы. Рычаг опирается па выемку в корпусе 14 в точке А, через которую проходит ось его вращения. На выступ рычага 7 опирается подвижная контактная пластина- 5, к одному концу которой припаян гибкий медный шунт 10, соединенный с зажимом 11, а на другой напаяна латунная посеребренная контактная шайба 4. Неподвижный контакт 3 припаян к шпильке 2, закрепленной в корпусе и образующей второй зажим.
На контактную пластину через хомут 6 действует усилие пружины 13, установленной в сжатом состоянии между корпусом и бакелитовым упором 12 хомута. Если ролик 8 не касается профиля кулачковой шайбы, подвижной и неподвижный контакты замкнуты под действием включающей пружины 13. В момент касания кулачка шайбы роликом 8 и последующего набегания ролика на кулачок рычаг 9 начинает поворачиваться вокруг точки А, одновременно перемещая контактную пластину 5, которая проходит две фазы: в первой — она перемещается таким образом, что ее контакт 4 скользит по неподвижному контакту 3; во второй — движение пластины 5 начинается в момент, когда рычаг 9 коснется ее своим упором и контакты начнут расходиться. Кулачковый элемент 5SV1 имеет следующие технические данные:
Номинальное напряжение.....■......... 48 В
Номинальный ток ...........• •..... 6 А
Раствор контактов.................. 4 мм
Провал контактов.................. не менее 3 мм
і

Рис. 72. Кулачковый элемент 5SV1
Крепление кулачкового элемента 5SV1 осуществляется с помощью бакелитового распорного клина / и болта 15.
Большая часть высоковольтного и низковольтного оборудования электровоза снабжена вспомогательными блок-контактами, обеспечивающими необходимую последовательность включения и работы отдельных аппаратов. Имеются блок-контакты двух типов — закрытого и открытого исполнения. Блок-контакты закрытого исполнения VKADI (рис. 73) установлены на электропневматических контакторах 1SVAD5, 1SVAD4 и тормозном переключателе PPD15. У блок-контакта VKAD1 в бакелитовом корпусе 5 размещены неподвижные контакты 7. и подвижная опора 3, несущая два мостико-вых контакта 6 и 8.
Давление мостикового контакта во включенном положении обеспечивается пружинами 2. Перемещение подвижной опоры 3 с мостиковыми контактами осуществляется толкателем /, возвращение в первоначальное положение — пружиной 9. Прозрачный кожух 4 защищает контакты от случайных повреждений и предотвращет попадание грязи на контактные поверхности.
На разъединителях и за-землителе, быстродействующем выключателе, электромагнитных контакторах, дифференциальных реле и реле перегрузки установлены унифицированные мостиковые блок-контакты (рис'. 74). Четыре пары неподвижных кон-
5-1677

Рис. 73. Блок-контакты VKADI

Риг 74 Мостиковые блок-контакты
тактов 2 укреплены в бакелитовом корпусе I на втулках с внутренней резьбой под болты 5 для крепления подводящих проводов. На штифте 6, перемещающемся в отверстии корпуса 1, установлены на колодках 4 подвижные мостиковые контакты 3, поджатые пружинами, обеспечивающими контактное нажатие в замкнутом положении контактов. Включение блок-контактов происходит при воздействии на штифт 6, возвращение их в исходное положение обеспечивает возвращающая пружина. Унифицированные блок-контакты рассчитаны на номинальное напряжение 48 В, ток 6 А, имеют два замыкающих и два размыкающих контакта. Ход штифта около 3 мм, провал мостиковых контактов 1,5 мм.
|
|