В цепях управления электровоза в режимах тяги и реостатного торможения, а также в цепях управления вспомогательными аппаратами используются электромагнитные реле различных типов. Конструктивно все эти реле можно подразделить на две группы. Одну группу составляет реле с магнитной системой плунжерного типа; к ней относятся реле 1ЧЗШ, ИЬОЫ2; блок реле ІЧ5Ь432 и РШЕІЛ574. В другую группу входят реле ИР102 и РчР47Б с магнитной системой клапанного типа.
Электромагнитное реле ІЧЗШ (рнс. 75) используется на электровозе как защитное для отключения реостатного тормоза при различных неисправностях, в цепи экстренного торможения, а также в цепи синхронизации совместной работы группового переключателя и промежуточного контроллера. Реле имеет катушку 3 с одной обмоткой. Внутри катушки помещен якорь 4 с отключающей пружиной 5, усилие нажатия которой можно регулировать нажимной втулкой с рифленым колесиком 6. Якорь закреплен на двух вертикально установленных плоских пружинах 2, исключающих трение при перемещении его внутри катушки. С обеих сторон на торцах якоря размещены на стольных пластинах изоляционные шайбы с двумя подвижными контактами 8. Неподвижные контакты 9 ввернуты во втулки, запрессованные на изоляционных стойках 7. В средней части стоек соосно с якорем ввернуты регулировочные болты, ограничивающие его ход. Момент включения реле зависит от усилия отключающей пружины 5 и положения левого регулировочного болта. Раствор контактов можно менять, вращая неподвижные контакты 9. Все элементы реле смонтированы на неподвижной металлической скобе /. Реле смонтировано на отдельной изоляционной плите, на ней также установлены зажимы для присоединения подводящих проводов. Реле устойчиво к вибрациям, но на электровозе оно должно быть установлено таким образом, чтобы направление перемещения якоря было перпендикулярно продольной оси электровоза.
Электромагнитное реле РЬОЫ2 используется как промежуточное защитное для отключения быстродействующего выключателя

Рис. 75. Реле ЇШЗ
и электромагнитных контакторов вспомогательных машин в аварийных режимах. По конструкции оно аналогично реле ИЗШ, но в отличие от него реле имеет только два подвижных контакта, установленных на изоляционной шайбе, которая размещена на правом торце якоря.
Основные технические данные реле ИЗШ и РчШ1М2 следую-
щие:
| Номинальное напряжение катушки............ 48 В
| Длительно допустимый ток контактов . . •........ 6 А
| Раствор контактов................... 1—2 мм
I Число контактов замыкающих.............. 2
{ » » размыкающих............. 2
I Время срабатывания................... 0,03 с
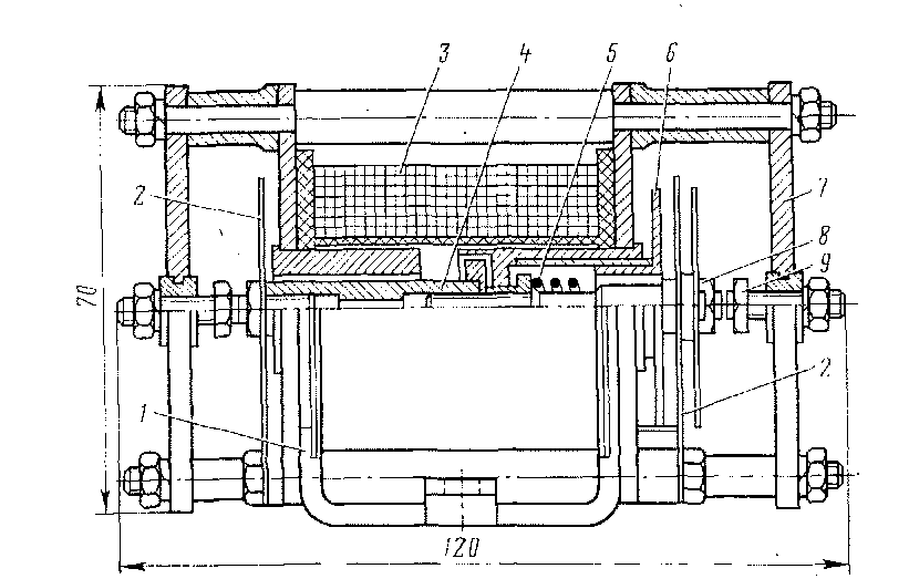
Блок реле РЬ532 (рис. 76) предназначен для управления работой пневматического привода промежуточного контроллера. Он обеспечивает два режима вращения главного вала промежуточного контроллера — непрерывный и импульсный. Блок состоит из шагового реле КШ4 и двух одинаковых реле набора и реле сброса ИбШ, смонтированных на общей панели 3. На отдельной изоляционной плите / установлены зажимы 2 для присоединения подводящих проводов. Все реле рассчитаны на номинальное напряжение 24 В, поэтому последовательно с их катушками включены добавочные проволочные резисторы сопротивлением 380 Ом, размещенные на обратной стороне блока. Длительно допустимый ток контактов 2 А.
. Реле Рч5Ы5 имеет катушку 5 с одной обмоткой. Внутри ка-
тушки помещен якорь, закрепленный на двух вертикально уста-' новленных плоских пружинах.
| С обеих сторон на торцах якоря закреплены мостиковые кон-
I такты, изготовленные в виде фигурных шайб 6 с напаянными I серебряными контактными шайбами. Неподвижные контакты 8

Рис. 76. Блок реле РХБЗг

Рис. 77. Реле РШЕЫ574
ввернуты во втулки, запрессованные на изоляционных стойках 7 из стеклотекстолита, и соединены с зажимами на панели 3 гибкими медными шунтами. Якорь находится постоянно под воздействием отключающей пружины в крайнем левом положении и упирается торцом в упорный регулировочный болт, размещенный в средней части левой изоляционной стойки со-осно с якорем. Реле включается при определенном усилии отключающей пружины, которое можно регулировать нажимной втулкой с рифленым колесиком. Все элементы реле смонтированы на металлической скобе, которая крепится к изоляционной панели двумя гайками 4.
Реле РЛЫ4 по конструкции аналогично реле К5Ы5, но в отличие от него имеет только один мостиковый контакт на левом торце якоря. Блок реле КЬБ32- закрыт металлическим кожухом и монтируется на электровозе в вертикальном положении. Раствор контактов реле 1—2 мм, время срабатывания 0,03 с, масса блока 6 кг.
Электромагнитное реле РЩЕЫ574 (рис. 77) используется в цепях управления реостатным тормозом для сбора тормозной схемы и отключения электропневматических реостатных контакторов и контакторов ослабления возбуждения в момент перехода из режима тяги в режим реостатного торможения. Кроме того два реле РЩЕЫ574 на распределительном щите предназначены для последо-
вательного соединения аккумуляторных батарей.
Все элементы реле смонтированы на двух металлических стойках 5 и 6, соединенных с опорой 9, которая двумя болтами крепится к изоляционной плите / с установленными на ней зажимами // для подводящих проводов. Между стойками размещена катушка 7, внутри которой находится якорь со спиральной отключающей пружиной. На одном конце якоря между пластинчатыми пружинами помещается медный мостик 12, опирающийся под действием отключающей пружины на одну пару неподвижных медных контактов 3, установленных на металлическом держателе 2 и изолированных от него бакелитовыми вставками. Вторая пара медных контактов 4 закреплена на металлической стойке 5 и также изолирована от нее бакелитовыми вставками. Неподвижные контакты соединены медными шинами с зажимами на плите.
На другом конце якоря закреплена на стальной пластинчатой пружине текстолитовая шайба с двумя подвижными контактами. Неподвижные контакты 8 ввернуты в латунные втулки, 1запрессо-ванные в изоляционную стой' ку, и соединены гибкими медными изолированными шинами 10 с зажимами на плите. Катушка реле рассчитана на номинальное напряжение 24 В, поэтому последовательно с ней включен резистор 13 типа ТР557 сопротивлением 40 Ом, мощностью 15 Вт.

Основные технические данные реле типа РЩЕЫ574:
Длительный ток мостиковых контактов............100 А
Число мостиковых контактов..........■..... 2
Раствор мостиковых контактов...............3 мм
Длительный ток вспомогательных контактов......... 6 А
Раствор вспомогательных контактов.............2 мм
Реле ЯР47Ф (рис. 78) предназначено для перевода главного переключателя в тормозное положение. Все элементы реле смонтированы на изоляционной подставке /, на ней же установлены зажимы 12 для крепления подводящих проводов. Магнитная система состоит из сердечника 3, изготовленного из электротехнической стали и помещенного внутри катушки 2, Г-образного ярма 6 и подвижного якоря 4, удерживаемого на торце ярма пластинчатой пружиной 5. К ярму крепится контактный блок //, состоящий из переключающих и неподвижных контактных пластин 7 с серебряными контактами 8. Переключающие контактные пластины связаны толкателем 9 с якорем, неподвижные опираются на изоляционную рамку 10. Реле закрыто прозрачным защитным ко-
жухом.
Основные технические данные электромагнитного реле КРА7-Т):
Номинальное напряжение катушки........... 48 В
Максимально допустимое напряжение на контактах . . . 250 В
Количество яереклю чающих контактов......... 6
» включающих контактов......... 2
Длительный ток контактов.............. 6 А
Срок службы.................... 10-108
срабатываний
Масса .............■......... 0,7 кг
Электромагнитное реле РчР102 (рис. 79) используется в цепях управления реостатным тормозом, в цепи сигнализации положения жалюзи и др. Реле состоит из катушки 3 с сердечником 4, ярма 10, якоря 5 с прижимной пружиной 6 и блока переключающих контактов //, закрепленного на ярме. Якорь связан изоляционным толкателем 9 с подвижными контактами 7, имеющими позолоченные серебряные контактные шайбы 8. Реле установлено на металлической скобе 12, которая двумя болтами закреплена на изоляционной подставке 2, имеющей отверстия / под зажимы для крепления подводящих проводов. Реле закрыто защитным прозрачным кожухом.
Основные технические данные электромагнитного реле РР102:
Номинальное напряжение на катушке . ■....... 48 В
Количество переключающих контактов.......... 3
Длительный ток контактов.............. 6 А
Время включения................... 0,03 с
Срок службы.....•.............. 20-Ю3
срабатываний
Масса........................ 0,33 кг
Реле времени ТКИ (рис. 80) имеет одну пару переключающих контактов, закрепленных на корпусе 2 механического часового механизма, обеспечивающего требуемую выдержку времени для их переключений. Часовой механизм управляется через систему рычагов электромагнитом, состоящим из магнитопровода 6 и катушки 7. Магнитопровод и сердечник набраны из пластин электротехнической стали. На малой шестерне часового механизма закреплен рычаг 3, осуществляющий переключения контактов, который в исходном положении находится от них на расстоянии, определяемом положением установочного рычага 5. Время задержки переключения контактов определяется по указателю на установочном рычаге и по делениям на шкале 4. При подаче питания на катушку 7 электромагнита сердечник втягивается в нее пружиной 8, связанной с системой рычагов, и запускает часовой механизм. Рычаг 3 поворачивается на оси малой шестерни и через определенное время переключает контакты. При обесточива-нии катушки электромагнита сердечник под действием собственного веса возвращается в исходное положение. Одновременно система рычагов и часовой механизм занимают исходное положение.
Реле закреплено на изоляционной опоре 1, имеющей с обеих сторон отверстия для установки зажимов, крепления подводящих проводов. Снаружи оно закрыто прозрачным защитным кожухом, Реле монтируется на электровозе в вертикальном положении так, чтобы катушка была расположена над часовым механизмом.
Основные технические данные реле времени ТКИ:
Номинальное напряжение катушки электромагнита..... 48 В
Диапазоны задержки переключения контактов.....• . 0—6 с
Время возвращения в исходное положение часового механизма ....................... • . . . 0,1 с
Длительный ток контактов................ 2 А
Масса....................... • . 1,35 кг
Сигнальные реле КРЮО-Ь аппаратов защиты установлены в двух шкафах А133 (рис. 81). Конструкция магнитной системы этого реле такая же, как у реле РР102. Отличительной особенностью его является наличие рычага 3, один конец которого жестко закреплен на якоре, а другой связан с подвижной пластиной 5, на которой нанесены красные полосы. Пластина 5 установлена за металлической плитой 2 с четырьмя прямоугольными отверстиями. Если катушка реле обесточена, в отверстиях платы красные полосы на подвижной пластине не видны. При срабатывании одного из

I
Рис. 81. Шкаф сигнальных реле аппаратов защиты А133
защитных аппаратов его замкнувшиеся блок-контакты подают питание на катушку сигнального реле. Якорь притягивается к сердечнику и рычаг 3, перемещаясь вместе с якорем, устанавливает подвижную пластину 5 таким образом, что красные полосы будут находиться против прямоугольных отверстий на плате. Одновременно замыкают контакты 6 реле, через которые катушка будет продолжать получать питание после самовосстановления сработавшего защитного аппарата. Сигнальное реле возвращается в исходное положение только после принудительного разрыва цепи питания катушки кнопочным выключателем.
В шкафу А133 помещается десять блинкерных реле ИРЮО-Ь. Корпус шкафа металлический и с лицевой стороны закрыт прозрачной крышкой. На основании 1 закреплены зажимы 4 для подводящих проводов. Один шкаф А133 предназначен для сигнализации о срабатывании защитных аппаратов при работе электровоза в режиме тяги, другой — в режиме реостатного торможения.
|
|