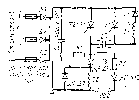
Статический возбудитель (рис. 92) выполнен в виде импульсного преобразователя. Постоянное напряжение, которое подается на вход возбудителя, преобразуется- в импульсное — прерывистое, прикладываемое к обмоткам возбуждения ОВ. Основные функции регулирования в импульсном преобразователе выполняют тиристоры-
В импульсном преобразователе электровоза ЧС2Т применены тиристоры фирмы «Эегшкгап» типа БКТ-170/08, основные технические данные которых следующие:
Номинальный ток................... 170 А
Номинальное напряжение . . . . •.......... 800 В
Время включения .................. 30 мке
Скорость нарастания прямого тока ,.......... 125 А/мкс
» » » напряжения....... 100 В/мкс
Процесс импульсного регулирования начинается подачей отпирающих импульсов на вспомогательный тиристор ТІ, в результате отпирания которого коммутирующий конденсатор С„ заряжается до напряжения источника питания с полярностью, показанной на рис. 92 вверху у конденсатора. После прекращения зарядного тока тиристор Т1 запирается. Затем импульсами отпираются главные тиристоры Т2—Т4, включенные параллельно, и к обмоткам возбуждения прикладывается полное напряжение источника питания — ток возбуждения начинает увеличиваться-Одновременно с этим происходит колебательный перезаряд конденсатора Ск через катушку индуктивности Ы, диод Д4 и тиристоры Т2—Т4, в результате чего конденсатор снова заряжается, но полярность его меняется. Изменению направления тока перезаряда препятствует диод Д4, введенный в колебательный контур.
После того, как система управления дает команду на выключение тиристоров Т2—Т4, снова подается импульс на вспомогательный тиристор 77, с момента открытия которого к электродам главных тиристоров Т2—Т4 приложено напряжение конденсатора полярности, показанной внизу. Ток возбуждения при этом замыкается через обратные диоды Д5—Д7, включенные параллельно. Изменение (спадание) тока происходит по экспоненте, определяемой постоянной времени цепи обмоток возбуждения тяговых двигателей.
Напряжение на выходе импульсного преобразователя, подводимое к обмоткам возбуждения, в процессе регулирования ха-

рис. 92, Принципиальная схема статического возбудителя
растеризуется средним значением, которое зависит от напряжения источника питания и соотношения между продолжительностью импульсов и пауз. У рассматриваемого преобразователя напряжение на входе изменяется в широком диапазоне— от ПО В при питании от аккумуляторных батарей до 500 В при питании от части тормозных резисторов в случае максимального тока якорей тяговых двигателей.
Плавное регулирование среднего значения напряжения питания обмоток возбуждения осуществляется изменением частоты и длительности подачи отпирающих импульсов на вспомогательные н главные тиристоры с помощью регулятора в зависимости от требуемого значения тока возбуждения и скорости его нарастания.
При наименьшем напряжении питания и наибольшем токе возбуждения тиристоры Т2—74 длительное время должны оставаться открытыми. В этом случае напряжение на коммутирующем конденсаторе Ск (полярность показана внизу у конденсатора на рис. 92) поддерживается па необходимом уровне по цепи КЗ, ДП, С/ специальным маломощным источником 110 В (10 Вт). Для предотвращения разряда конденсатора Ск при обратной полярности по цепи ИЗ, ДП, Д5—Д7 введены диоды Д8—Д10 (три диода, включенных параллельно).
Диоды Д1, Д2 и ДЗ — разделительные, они обеспечивают питание преобразователя от источника с наибольшим напряжением: в начале при включении тормоза через диод ДЗ от

Рнс. 93. Форма отпирающего импульса на управляющем электроде включающего тиристора

Рис. 94. Напряжение на включающем тиристоре в момент его запирания при питании возбудителя от аккумуляторной батареи (а) я от тормозных резисторов (б)
аккумуляторных батарей, а затем через диоды Д1 и Д2 от резисторов. Такая система питания возбудителя обеспечивает независимость работы реостатного тормоза от наличия напряжения в контактной сети. Длительность подключения возбудителя к аккумуляторным батареям не превышает 2—3 с-
Защита преобразователя от перегрузки обеспечивается предохранителями в цепи входных диодов. Кроме того, при срабатывании реле перегрузки 181 в цепи обмоток возбуждения выключаются контакторы 171—174 (см. рис. 3). В регуляторе 490 имеется блок выключения главных тиристоров, подающий импульсы на вспомогательный тиристор 77 при перегрузке преобразователя с той же уставкой, что и реле перегрузки.
Для ограничения скорости нарастания тока в цепь каждого тиристора включены дроссели насыщения. Равномерное распределение нагрузок между параллельно соединенными тиристорами Т2—Т4 обеспечивается делителями тока Rl, R2 (см. рис. 92) в виде активных резисторов из фехралевой лепты.
Тиристоры управляются прямоугольными импульсами (рис. 93). Коммутирующая способность возбудителя в наиболее тяжелом режиме — минимальное напряжение питания и максимальный ток возбуждения (при этом минимально время восстановления управляющих свойств тиристоров) — достаточна для его нормальной работы.
Так, если возбудитель получает питание от аккумуляторных батарей без их подзаряда (наибольший возможный в этом случае ток возбуждения равен 160 А), время, в течение которого к тиристорам приложено обратное напряжение, составляет 70 мке (рис. 94, а). Для случая минимального напряжения при питании от тормозных резисторов и токе возбуждения 500 А это время на восстановление управляемости составляет 70—80 мке (рис. 94, б). Время выключения тиристора SKT-170 составляет 30 мке, следовательно, коммутирующая способность преобразователя достаточно высока во всех режимах нагрузки.
Конструктивно статический возбудитель смонтирован на панели, помещенной в металлический кожух, который закрыт в передней части крышкой. На задней части панели расположены охладители тиристоров и диодов, принудительное охлаждение которых осуществляется вентилятором. Мощность двигателя вентилятора 0,5 кВт, напряжение питания 48 В. Масса возбудителя 70 кг.
|
|