■ Автоматическое регулирование тормозной силы при реостатном торможении обеспечивается электронным регулятором RLS. Он состоит из отдельных узлов, выполняющих следующие функции: регулирование тока якоря и тока возбуждения; ограничение тормозной силы; блокирование сигналов; индикации; преобразование сигналов юза и экстренного торможения.

Рис. 95. Принципиальная схема магнитного потенциометра задатчи-ка тормозной силы
Сигналом на включение реостатного тормоза является давление 0,6 — 0,8 кгс/см2 в магистрали, заполняемой от электровоздухораспределителя. К этой магистрали подключен задатчик тормозной силы, представляющий собой преобразователь, на выходе которого появляется электрический сигнал, пропорциональный давлению в пневматической камере задатчика.
Электрическая часть преобразователя — это магнитный потенциометр, состоящий (рис. 95) из статорной и роторной частей. Статорная часть представляет собой ферромагнитный сердечник с воздушным зазором и двумя обмотками. Управляющая обмотка подключена к источнику переменного тока напряжением 25 В, 500 Гц, а выход рабочей обмотки соединен с электронным регулятором. Роторная часть выполнена в виде диска из немагнитного материала (стеклотекстолита) с укрепленным на нем якорем, имеющим форму спирали. При повороте диска изменяется магнитное сопротивление воздушного зазора в зависимости от площади якоря, находящегося в зазоре. Напряжение на выходе, т. е. на рабочей обмотке, изменяется пропорционально углу поворота диска в пределах от 10 до 20 В.
Диск потенциометра механически связан с пневматической частью преобразователя зубчатой рейкой, линейное перемещение которой пропорционально давленню в камере. Таким образом, обеспечивается пропорциональная зависимость угла поворота диска и, следовательно, напряжения на выходе преобразователя от давления в пневматической магистрали. Значение этого давления устанавливается машинистом в зависимости от требуемой эффективности торможения-
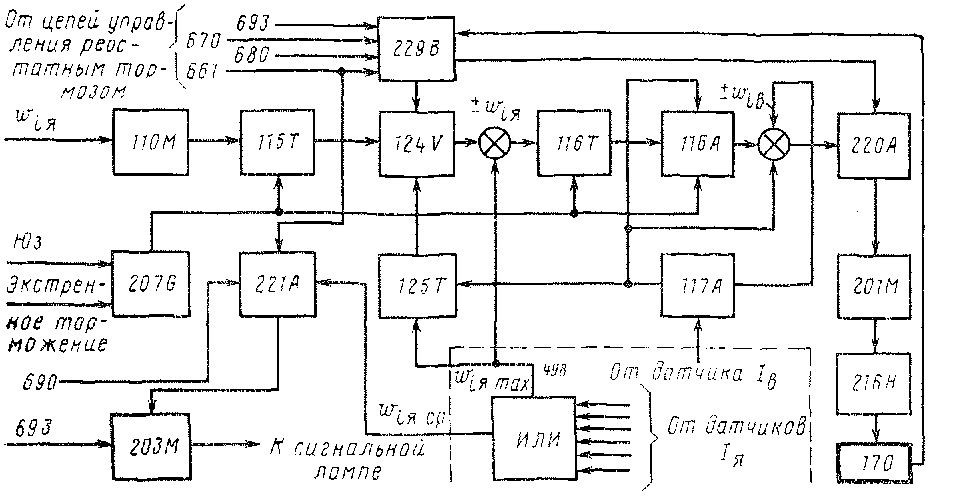
Напряжение переменного тока с выхода рабочей обмотки преобразователя подается в узел регулирования тока якоря (рис. 96). Это напряжение пропорционально заданному току якоря тяговых двигателей (сигнал Wm)- Узел регулирования тока якоря смонтирован в пяти отдельных блоках, каждый из которых выполняет определенные функции. В соответствии с заводским обозначением узел регулирования тока якоря имеет следующие блоки: ПОМ, 115Т, 124V, 116Т и 116А. На электровозах ЧС2Т-1025-7-1062 количество блоков уменьшено с пяти до трех— функции блоков ПОМ и 115Т совмещены в одном блоке 106L, а блоков 116Т и 116А ■— в блоке 136Т. Это изменение направлено на повышение надежности системы путем применения более современных узлов на интегральных схемах и уменьшения числа элементов и проводов. Новые и старые блоки взаимозаменяемы.

Рис. 96. Структурная схема регулятора реостатного тормоза
Рассмотрим действие схемы до внесения в нее изменений. Напряжение переменного тока, являющееся сигналом Win, подается на вход блока ПОМ, где преобразуется в напряжение постоянного тока с диапазоном изменения от 0 до 10 В пропорционально изменению давления от 0 до 3,8 кгс/см2. Сигнал в виде напряжения постоянного тока поступает на вход блока 115Т, выполняющего функции управления ограничителем уровня сигнала. С помощью входного операционного усилителя МАА 500, включенного по схеме пропорционального усилителя с коэффициентом усиления 0,55, уровень сигнала ш*я изменяется в диапазоне 0—5,5 В. Этот сигнал сравнивается с опорным напряжением, значение которого 5 В в соответствии с принятым соотношением токов в силовой цепи и напряжений в регуляторе (100 А=1 В) отвечает ограничению максимального тока якоря тяговых двигателей на уровне 500 А. При необходимости опорное напряжение может быть изменено.
Сигнал win. поступает на вход блока 124V. Одновременно сюда же по каналу обратной связи из блока 125Т поступает сигнал, уменьшающий win в случае ограничения тормозной силы на определенной ступени. В соответствии с принятым принципом регулирования система обеспечивает при определенном давлении в задатчике поддержание неизменным тока якоря во всем рабочем диапазоне скоростей движения. Тормозная сила при этом (см. рис. 2) изменяется примерно по гиперболе. Так, при наибольшем давлении в задатчике (3,8 кгс/см2) устанавливается ток якоря 500 А и тормозная сила увеличивается с уменьшением скорости по внешней огибающей области тормозных характеристик. Какому-либо промежуточному значению давления, например 3,0 кгс/см2, соответствует определенный ток якоря (около 400 А).
Тормозная сила при этом токе также с изменением скорости движения изменяется по гиперболе внутри области тормозных характеристик.
С уменьшением скорости тормозная сила при неизменном токе якоря будет увеличиваться до значения, соответствующего выбранной ступени ее ограничения, после чего ток якоря при том же давлении будет уменьшаться, а тормозная сила увеличиваться уже не по гиперболе, а в соответствии с кривой сцепления.
В блок 124V поступает также дискретный сигнал из узла блокирования сигналов — блока 229В, обеспечивая дальнейшее прохождение сигнала ш,-п только при выполнении следующих условий: скорость электровоза более 60 км/ч; все защитные аппараты цепей реостатного тормоза находятся в нормальном положении; собрана схема силовой цепи тормоза; напряжение на выходе статического возбудителя не менее. 80 В. Если не соблюдается хотя бы одно из указанных условий, сигнал win не проходит.
На входе блока 116Т, выполняющего функции управляемого ограничителя уровня н скорости нарастания сигнала, происходит сравнение заданного тока якоря /я с действительным. Сигнал о действительном значении тока якоря поступает из измерительного блока, в котором с помощью схемы ИЛИ определяется максимальный из шести токов якоря.
Разность заданного и действительного значений тока Д/я усиливается (коэффициент усиления 20) и поступает на управляемый ограничитель, который в режимах служебного торможения устанавливает па выходе блока 1 IGT уровни напряжения +2 В и —2,5 В. При экстренном торможении из блока 207G поступает дискретный сигнал и уровни напряжения устанавливаются равными +2 В и —10 В.
Ограничение выходного сигнала обусловлено необходимостью обеспечения скорости нарастания тормозной силы, соответствующей условиям комфорта для пассажиров. Регулирование скорости нарастания тормозной силы выполняется интегральным усилителем (блок 116А), на вход которого из блока 116Т поступает сигнал о значении А/я в виде уровня +2 В и —2,5 (—10) В. Сигнал на выходе интегрального усилителя, фактически являющемся выходом узла регулирования тока якоря, определяет значение необходимого тока возбуждения wiB.
При разности между заданным и истинным значениями сигнала Шгя более 125 мВ (А/я>12,5 А) напряжение на входе блока 116А равно — 2,5 В. С учетом постоянной времени интегрального усилителя (4 с) напряжение на выходе блока 116А будет нарастать во времени со скоростью 2,5 : 4 = 0,63 В/с, т. е. заданная скорость нарастания тока возбуждения составляет 63 А/с, что соответствует темпу нарастания тормозной силы примерно 2,5 тс/с. Следовательно, при максимальной тормозной силе 20 тс длительность процесса нарастания тормозной силы составит 8 с, что по результатам проведенных исследований обеспечивает требуемую плавность. При экстренном торможении, когда необходимо
обеспечить высокую эффективность и быстродействие, скорость нарастания тока возбуждения составляет 250 А/с, так как уровень сигнала на выходе составляет — 10 В. Скорость нарастания тормозной силы в этом случае равна 10 тс/с.
В режиме отпуска реостатного тормоза уменьшается заданный ток якоря. Разность между действительным значением тока якоря и заданным превышает 12,5 А и вызывает появление на входе интегрального усилителя сигнала +2 В. Напряжение на его выходе, являющееся заданным значением тока возбуждения, уменьшается линейно со скоростью 2:4=0,5 В/с, т. е. скорость снижения тока возбуждения составляет 50 А/с, что соответствует скорости уменьшения тормозной силы 2 тс/тс. Эта скорость одинакова для режимов служебного и экстренного торможения.
Приведенные значения скорости нарастания и снижения тока возбуждения выбираются системой при А/я>12,5 А. Как только А/я станет меньше 12,5 А, изменение тока возбуждения замедляется пропорционально уменьшению А1Я- Процесс заканчивается при равенстве заданного и действительного значений токов, т. е. при А/я = 0.
Рассмотрим действие регулятора тока при поступлении из блока 207G дискретного сигнала +10 В о возникшем в режиме реостатного торможения юзе. Этот сигнал подается в элемент сравнения кассеты 116Т, что приводит к мгновенному уменьшению заданного значения тока якоря до нуля. Одновременно этот сигнал поступает в интегральный усилитель, вызывая снижение тока возбуждения со скоростью 300 А/с. После прекращения поступления сигнала о юзе ток возбуждения продолжает нарастать как обычно.
. Заданное значение тока возбуждения WiB поступает в узел его регулирования, который состоит из четырех блоков: триггера-усилителя 220А, логического генератора импульсов 20IM, импульсного усилителя мощности 216Н и пропорционального триггера-усилителя 117А. На входе блока 220А сигнал WiB сравнивается с сигналом, пропорциональным действительному значению тока возбуждения, и сигнал разности между ними w д/в подается в высокочувствительное устройство, которое срабатывает при «Уд/в = ±10 мВ, т. е. при разности токов ±1 А. В этом случае выходное напряжение составляет ±10 В. В блок 220А поступает также сигнал о состоянии защит в цепи реостатного тормоза и уровне напряжения на входе возбудителя. Если нарушен нормальный режим прохождения сигнала, ток возбуждения прекращается.
Выходное напряжение ±10 В с блока 220А поступает на вход блока 201М, представляющего собой генератор управляющих импульсов, который формирует импульсы прямоугольной формы длительностью 30—33 мкс частотой 3 кГц. После усиления в блоке 216Н эти импульсы через изолирующие трансформаторы подаются на электроды тиристоров. Как было рассмотрено выше, регулирование тока возбуждения осуществляется путем подачи
на управляющие электроды главных и вспомогательного тиристоров соответствующих импульсов. Импульсы для отпирания вспомогательного тиристора генерируются в случае, если на выходе блока 220А напряжение составляет +10 В, т. е. фактический ток возбуждения меньше заданного. Как только действительный ток возбуждения превысит заданное значение, на выходе блока 220А появляется напряжение —10 В и генерируются импульсы для отпирания главных тиристоров.
Измерение действительного тока возбуждения производится с помощью безындуктивного шунта, постоянная времени которого составляет 0',5 В/А. Сигнал с шунта усиливается в блоке 117А, обеспечивая принятое в регуляторе соотношение 1 В —■ 100 А. Для ограничения максимального значения тока возбуждения из блока 117А в блок 220А подается дискретный сигнал —10 В при достижении напряжения 5 В, что соответствует току 500 А.
I Сигнализация о работе реостатного тормоза обеспечивается
блоками 203М и 221 А. С момента окончания подготовки силовых цепей питание 50 В от провода 693 цепей управления подается в блок 203М, в результате чего на его выходе появляется пульсирующее напряжение, вызывая мигание сигнальной лампы. После того, как среднее значение тока якоря всех шести двигателей достигнет 100 А, из системы измерения токов якорей в блок 221А поступит сигнал 1 В, свидетельствующий о нормальном протекании процесса торможения. Этот сигнал вызывает включение вспомогательного реле, входящего в комплект блока. Контакты реле замыкаются, что вызывает включение блокировочного вентиля и, следовательно, выпуск воздуха из тормозных цилиндров в атмосферу. Одновременно с прекращением в процессе подготовки схемы реостатного торможения и возрастания тока якоря двигателей до 100 А действия колодочного тормоза подается сигнал в блок 203М о переводе сигнальной лампы в режим постоянного горения в течение всего времени работы реостатного тормоза.
Следовательно, в регуляторе каждый блок выполняет определенную функцию в соответствии с "сигналами на входе в виде
! постоянных напряжений определенной полярности от 0 до - 10 В.
В. регуляторе применено 14 операционных усилителей в интегральном исполнении МАА 501, 502. Размер корпуса операционного усилителя не более размера транзистора средней мощности, максимальный ток выхода 5 мА при напряжении 10 В. Они используются в качестве пропорциональных усилителей, органов сравнения и ограничения величин, а также интегрирования.
: Применение таких усилителей приводит не только к уменьшению
\ габаритных размеров регулятора, но и резко снижает потребляемую им мощность, а также исключает взаимное влияние раз-
\ личных блоков, сигналы которых подаются на вход одного уси-
< лителя.
Все это способствует повышению качества и точности регулирования.
Блоки выполнены в виде плоских модулей с печатным монтажом, связанных друг с другом и с внешними устройствами штырьковыми разъемами. Контакты разъема включаются по два параллельно.
Цепи регулятора питаются напряжением +50, +14 и —24 В, источником которого служит входящий в комплект регулятора блок 139Е. В свою очередь, на вход блока 139Е подается стабилизированное напряжение переменного тока 50 В, 550 Гц от специального преобразователя, предназначенного также для питания вторичных обмоток трансформаторов постоянного тока.
Регулятор RLS1 потребляет мощность 60 ВА, его габариты 360X360X205 мм, масса 16 кг.
|
|