На электровозе ЧС2Т для управления пневматическими и электропневматическими тормозами пассажирских поездов установлен кран машиниста усл. № 395 (рис. 126). Он состоит из шести основных частей: верхней (золотниковой), средней (промежуточной — зеркало золотника), нижней (уравнитель-
ной), редуктора (питательного клапана) стабилизатора (выпускного дросселирующего клапана) и контроллера для управления электропневматическими тормозами.
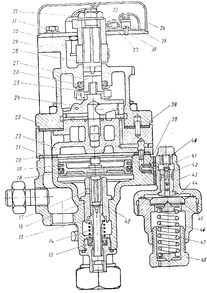
В верхнюю часть входит золотник 24, крышка 23, стержень 27, через который золотник соединен .с ручкой 28. В ручке помещается кулачок, который прижат пружиной к градационному сектору, фиксирующему ручку в основных ее положениях. Стержень 27 в крышке 23 уплотняется манжетой 26. Выступ золотника входит в паз нижнего конца стержня, что обеспечивает соединение деталей только в определенном- положении. Золотник прижимается к зеркалу золотника пружиной 25. Для смазывания золотника в процессе эксплуатации без разборки крана в крышке 23 имеется отверстие, закрытое пробкой, а для смазывания стержня и манжеты — отверстие в стержне.
В средней части находятся корпус 22, верхняя выступающая часть которого является зеркалом для золотника 24. В корпус запрессована втулка 51, представляющая собой седло для обратного клапана 50.
К нижней части крана машиниста относятся: корпус 49, уравнительный поршень 21, уплотненный резиновой манжетой 18 и латунным кольцом 19, выпускной клапан 17 и впускной 15, который пружиной 14 прижимается к седлу втулки 16. Хвостовик впускного клапана 15 уплотняется резиновой манжетой -13. Чтобы предохранить питательный клапан 41 редуктора от загрязнения, применен фильтр 39. Для крепления в кабине у крана машиниста имеется шпилька с гайкой.
Верхняя, средняя и нижняя части крана соединены через резиновые прокладки 20 и 38 четырьмя шпильками с гайками.
Редуктор состоит из,корпуса верхней части 43 с запрессованной втулкой 42 и корпуса нижней части 46. В верхней части находится питательный клапан 41, прижимаемый к седлу втулки 42 пружиной 40. Между корпусами редуктора помещена металлическая диафрагма 44. Снизу на диафрагму через упорную шайбу 45 действует пружина 47, которая упирается в винт 48, регулирующий ее усилие. К корпусу крана машиниста редуктор прикреплен шпильками и гайками.
Стабилизатор состоит из верхнего корпуса 7 с запрессованной втулкой 9, нижнего корпуса 3, металлической диафрагмы 6. В верхней части находится клапан 10, прижимаемый к седлу пружиной 11, помещенной в заглушке , 12. В корпус 7 запрессован ниппель 8 с калиброванным отверстием диаметром 0,45 мм, через который уравнительный резервуар сообщается с атмосферой. Снизу на диафрагму 6 через упорную шайбу 5 действует пружина 4, которая вторым концом упирается в регулирующий винт /, закрепляемый в нужном положении контргайкой 2.
Кран машиниста усл. № 395 имеет семь рабочих положений.
Положение I — отпуск и зарядка. Воздух из напорной магистрали по широким каналам 9, 16, 23, 25 (рис. 127) поступает в тормозную магистраль и одновременно из надзолотниковой
полости через канал 18, выемку 22 и канал 39 в полость над уравнительным поршнем 38, а из нее через дроссельное отверстие 40 диаметром 1,6 мм — в уравнительный резервуар 4-Давление в полости над поршнем 38 повышается быстрее, чем в тормозной магистрали, поэтому поршень опускается и отжимает от седла впускной клапан 2, при этом сообщаются каналы / и 37, т. е. открывается второй путь для питания тормозной магистрали.

Рис. 126 Кран
Воздух в уравнительный резервуар 4 поступает через дроссельное отверстие 40, поэтому время наполнения его зависит от давления в напорной магистрали и в уравнительном резервуаре в момент постановки ручки крана в положение I. Длительность выдержки ручки крана машиниста в этом положении определяют по величине давления в уравнительном резервуаре.
Положение II — поездное с автоматической ликвидацией сверхзарядки. Золотник 26 перекрывает прямое сообщение напорной магистрали с тормозной 25 и с полостью над уравнительным поршнем 38. Из напорной магистрали воздух по каналу 9 через выемки 15 и 42, канал 41 поступает к питательному клапану 6 редуктора. Каналами 8, 7 и выемкой 13 уравнительный резервуар сообщается с полостью над диафрагмой 5 редуктора. Когда в уравнительном резервуаре, а значит и в полости над диафрагмой 5 редуктора, давление будет ниже значения, на ко-

машнниста, уел № 395

Рис. 127. Принципиальная схема крана машиниста усл. № 395
торое отрегулирована пружина редуктора, диафрагма прогнется вверх н откроется питательный клапан редуктора. Сжатый воздух через этот клапан поступит в- полость над поршнем 38 и в уравнительный резервуар 4. Как только давление в резервуаре 4 и над диафрагмой 5 достигнет значения, достаточного для преодоления усилия пружины 3, клапан 6 закроется и прекратится доступ воздуха в полость над поршнем 38. Редуктор будет автоматически поддерживать установившееся давление в резервуаре 4 в зависимости от усилия пружины 3.
Уравнительный поршень 38 под действием установившегося давлення в уравнительном резервуаре при помощи клапана 2 будет автоматически поддерживать постоянное давление в магистрали. В то же время уравнительный резервуар 4 через полость над поршнем 38, канал 30, выемку 27, канал 31, клапан стабилизатора 32, полость 33 над диафрагмой 35 и калиброванное отверстие 34 диаметром 0,45 мм сообщается с атмосферой. При этом давление в уравнительном резервуаре, несмотря па небольшой расход воздуха через отверстие 34, будет поддерживаться редуктором.
В положении II ручки крана машиниста стабилизатор выпускает воздух из уравнительного резервуара в атмосферу, во всех остальных положениях ручки выпуска воздуха не происходит.
Чтобы ускорить отпуск тормозов поезда, в положении I ручки крана наполняют уравнительный резервуар до желаемого (повышенного) давления. При этом уравнительный поршень 38 устанавливает равное сверхзарядное давление в магистрали. При установке ручки крана в положение II переход с завышен-
ного давления на нормальное происходит автоматически благодаря выпуску воздуха из уравнительного резервуара в атмосферу через калиброванное отверстие 34. Протекание воздуха через это отверстие происходит при постоянном давлении в полости 33, определяемом усилием пружины 36. Поэтому темп снижения давления воздуха в уравнительном резервуаре, а следовательно, и в тормозной магистрали устанавливается постоянным независимо от сверхзарядного давления. Время снижения давления в уравнительном резервуаре с 6 до 5,8 кгс/см2 должно быть 70--100 с.
Положение III — перекрыша без питания магистрали. Выемка 15 золотника сдвигается, канал 9 перекрывается и прекращается питание уравнительного резервуара через клапан 6 редуктора. Одновременно резервуар 4 и полость над поршнем 38 через клапан 29 каналами 28 и 24 сообщается с тормозной магистралью 25. Возможное снижение давления в магистрали не вызывает опускания уравнительного поршня 38, так как снижается давление и в уравнительном резервуаре. Клапан 2 остается закрытым. Клапан 29 препятствует перетеканию воздуха из тормозной магистрали в уравнительный резервуар при тормозных процессах после установки ручки крана в положение III из любого тормозного положения.
Полоокение IV — перекрыша с питанием магистрали. Все отверстия и выемки на зеркале перекрыты золотником, уравнительный резервуар разобщен с тормозной и напорной магистралями, поэтому установившееся давление в нем и в полости над уравнительным поршнем не изменяется. В тормозной магистрали давление устанавливается независимо от утечек в ней и поддерживается равным давлению в полости над поршнем 38 и сообщенном с ней уравнительном резервуаре. Всякое изменение давления в тормозной магистрали заставляет уравнительный поршень 38 перемещаться и клапаном 2 автоматически поддерживать давление равным установленному в уравнительном резервуаре.
Положение VЭ ■— электропневматическое торможение без разрядки магистрали. Золотником перекрыты все отверстия и выемки зеркала, как и в положении IV.
Положение V — служебное торможение. Воздух из уравнительного резервуара 4 и полости над поршнем 38, через канал 8, выемку 12, калиброванное отверстие // диаметром 2,3 мм, канал 17, выемку 19 и канал 20 выходит в атмосферу. Под избыточным давлением со стороны тормозной магистрали уравнительный поршень 38 перемещается вверх и сообщает тормозную магистраль осевым каналом клапана 2 с атмосферой.
После перемещения ручки крана машиниста из положения V в положение IV пли III выпуск воздуха из тормозной магистрали в атмосферу будет продолжаться до выравнивания давления в ней и в уравнительном резервуаре, после чего уравнительный поршень 38 переместится вниз и прекратится сообще-
ние тормозной магистрали с атмосферой.
Темп разрядки тормозной магистрали при служебном торможении постоянный и определяется соотношением между объемом уравнительного резервуара 4 и диаметром калиброванного отверстия 11 в золотнике-
Положение VI — экстренное торможение. Золотник широкими каналами 23 п 16 сообщает тормозную магистраль 25 с атмосферным каналом 20. Одновременно полость, над поршнем 38 через канал 39 и выемку 19 сообщается с атмосферным каналом 21. Уравнительный резервуар 4 через каналы 8, 10 и 14 быстро разряжается в атмосферу. Под действием избыточного давления тормозной магистрали уравнительный поршень перемещается вверх и открывается второй путь для разрядки в атмосферу через осевой канал клапана 2. Происходит быстрое снижение давления в тормозной магистрали до нуля.
Контроллер для управления электропневматическими тормозами имеет следующее устройство. Диск 30 (см. рис. 126) двумя болтами 31 крепится к кронштейну 29. На диске 30 винтами 36 укреплены два переключателя 35 типа КВМ-9, контакты которых занимают различное положение (рис. 128) в зависимости от положения ручки крана машиниста. Кулачок 33 (см. рис. 126) контроллера закреплен на стержне 27 при помощи гайки 32. Контроллер закрыт штампованной крышкой 34.
Четырехжильный кабель контроллера снабжен штепсельным разъемом для подключения к цепи электропневматического тормоза. При помощи винтов 36 зазор между кулачком 33 и головкой толкателя 37 устанавливают в пределах 0,9—1,0 мм.
|
|