Кран вспомогательного тормоза (рис. 129) предназначен для управления тормозом только локомотива. Он состоит из трех частей: верхней — регулирующей, с ручкой для независимого управления тормозами локомотива, средней — повторителя или реле, осуществляющего впуск и выпуск воздуха из тормоз-

Рис. 128. Схема замыкания контактов переключателя при различных положениях ручки крана машиниста: а — положения / и //; б — положення /// IV; в — положения V и VI

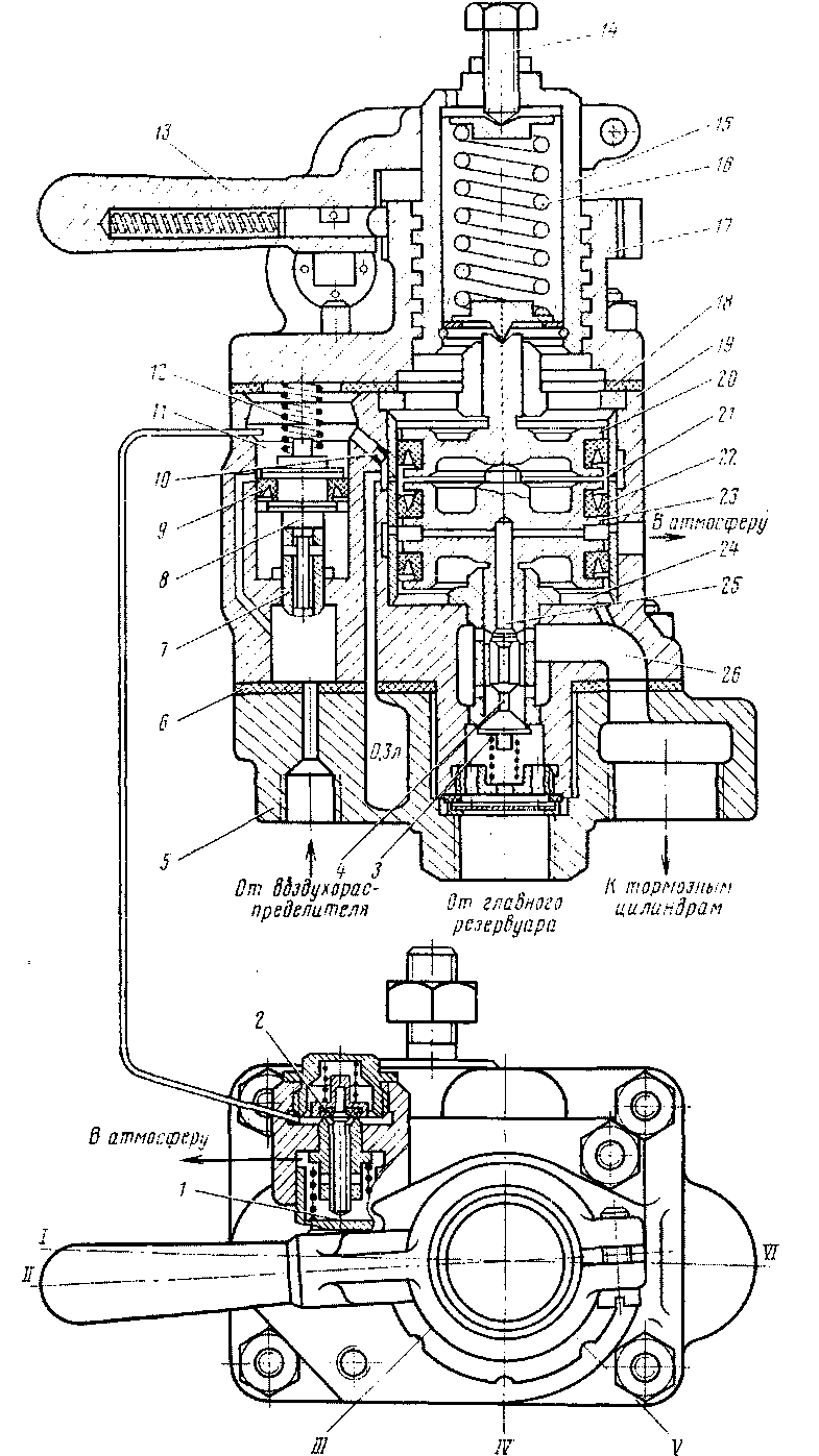
Рис. 129. Кран вспомогательного тормоза уел, № 254
ных цилиндров локомотива, нижней — плиты для подвода труб и крепления крана.
В верхнюю часть входит крышка 17 с ввернутым в нее на ленточной резьбе стаканом 15. На стакан надета разрезная ручка 13, закрепляемая винтом. В ручке расположен кулачок, прижимаемый пружиной к градационному пояску крышки 17. Внутри стакана находится пружина 16, упирающаяся верхним концом через шайбу в регулирующий винт 14, а нижним — через шайбу в поршень 20. В приливе крышки размещено буферное устройство 1 с клапаном 2, прижимаемым к своему седлу пружиной. Для предупреждения выпадания буферного устройства в крышку ввернут винт.
Средняя часть имеет корпус 19, в который запрессована втулка с находящимися в ней верхним 20 и нижним 23 поршнями. Верхний поршень имеет одну, а нижний две уплотнительные манжеты 22. В нижнем поршне имеются осевой и радиальные каналы для сообщения тормозных цилиндров локомотива с атмосферой при отпуске тормоза. Пустотелый хвостовик поршня 23 служит седлом двухседельчатого клапана 4, на который снизу действует пружина 3. В левой части корпуса 19 запрессована втулка 7, являющаяся направляющей для хвостовика переключательного поршня 8, уплотненного манжетой 9. На переключательный поршень сверху действует пружина 12. В канал, соединяющий полость над поршнем 8 с полостью 21 между поршнями 20 и 23, запрессован ниппель 10 с калиброванным отверстием диаметром 0,8 мм.
Нижняя часть состоит из плиты 5, в которой размещена дополнительная камера объемом 0,3 л, сообщенная с полостью 21, и имеются три отверстия для присоединения главного резервуара, тормозного цилиндра и воздухораспределителя. Отверстие для присоединения воздухораспределителя на электровозе заглушено. В отверстии для присоединения главного резервуара помещены фильтр и войлочная шайба, служащие для очистки воздуха.
Крышка 17 соединяется с корпусом 19 тремя шпильками, а корпус 19 с плитой 5 — четырьмя такими же шпильками. Между крышкой и корпусом имеется резиновая прокладка 18, а между корпусом и плитой — прокладка 6.
Ручка крана имеет следующие положения: отпускное I для отпуска тормоза локомотива при заторможенных автоматических тормозах поезда; поездное II, обеспечивающее действие автоматического тормоза на локомотиве; тормозные III—VI.
При торможении локомотива ручку 13 крана из положения II перемещают против часовой стрелки в одно из тормозных положений, в этом случае стакан 15 ввертывается в крышку 17 и сжимает пружину 16. Под действием усилия пружины 16 верхний поршень 20 опускается и толкает нижний поршень 23, который своим хвостовиком отжимает двухседельчатый клапан 4 от нижнего седла. Воздух из главного резервуара через открытый клапан 4 по каналу 26 поступает в воздухопровод тормозных цилин-
дров и затем в полость 24 под нижний поршень 23. Давление воздуха в тормозных цилиндрах будет повышаться до тех пор. пока сила, действующая на поршень 23 снизу, не преодолеет усилия пружины 16, после чего поршни 23 и 20 поднимутся вверх и пружина 3 посадит клапан 4 на его нижнее седло.
Установившееся давление будет поддерживаться автоматически независимо от утечек из тормозных цилиндров; в случае понижения давления в них поршни 20 и 23 под избыточным усилием пружины 16 вновь несколько опустятся и откроют клапан 4, что обеспечит пополнение этих утечек.
Для снижения давления в тормозных цилиндрах ручку 13 переводят по часовой стрелке, при этом стакан 15 вывертывается из крышки 17, усилие пружины 16 уменьшается. Под избыточным давлением воздуха в полости 24 поршни 23 и 20 поднимаются вверх и воздух из тормозных цилиндров через внутренний канал 25 в поршне 23 выходит в атмосферу. Давление в тормозных цилиндрах будет снижаться до тех пор, пока усилие пружины 16, соответствующее данному положению ручки 13 крана, не преодолеет давления воздуха, действующего па поршень 23 снизу, после чего последний опустится и закроется канал 25. При перемещении ручки крана в положение II действие пружины 16 на пор щень прекратится и произойдет полный отпуск тормозов.
Таким образом, каждому тормозному положению ручки крана вспомогательного тормоза соответствует определенное давление воздуха в тормозных цилиндрах.
|
|