• могательные цепи электровоза ЧС2Т можно разделить на улпы. Одна из них получает питание от контактной сети; ,:ержит цепи двигателей вентилятора тяговых двигателей,

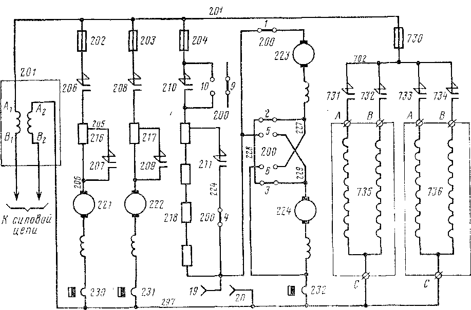
Рис. 11. Схема цепей вспомогательных машин
двигателей компрессоров и цепи электроотопления кабин машиниста. В другую группу входят двигатели вентиляторов пуско-тормозных резисторов, подключенные к части этих резисторов.
Для питания вспомогательных цепей первой группы напряжение контактной сети при включенном быстродействующем выключателе (см. рис. 3) через разъединитель 7 на панели 200, предназначенной для аварийных переключений, катушку А1-А? дифференциального реле 201 (рис. 11) вспомогательных цепей подводится к проводу 201, к которому подключены все цепи первой группы. Со стороны земли общим является провод 297.
Цепи двух двигателей 227 и 222 компрессоров на электровозах ЧС2 и ЧС2Т принципиально одинаковы. Двигатели выполнены на полное напряжение сети; для ограничения пускового тока в их цепях предусмотрены демпферные резисторы 216, 217, часть которых под воздействием реле времени шунтируется контакторами 207, 209, а другая часть — включена постоянно. Включение мотор-компрессоров производится после замыкания электромагнитных контакторов 206 и 208. Электродвигатели компрессоров от коротких замыканий и перегрузок в сочетании с общим дифференциальным реле 201 защищены индивидуальными плавкими предохранителями 202 и 203, а также тепловыми реле 230 и 231.
На электровозе ЧС2Г установлены два двигателя 223 п 224 вентиляторов тяговых двигателей, нормальная работа которых предусматривает их постоянное последовательное соединение. Построение схемы включения определено рабочим напряжением
этих двигателей, которое равно 1500 В (на электровозе ЧС2 оно равно 3000 В). Двигатели могут работать в двух режимах: номинальной вентиляции (летний режим) и ослабленной (зимний).
Рассмотрим схему цепи двигателей вентиляторов. После замыкания электромагнитного контактора 210 ток проходит через плавкий предохранитель 204, четыре последовательно соединенные группы демпферного резистора 218, разъединитель 1 на панели 200, двигатель 223, разъединители 2 и 3 на панели 200, двигатель 224, тепловое реле 232. В летнем режиме вентиляции после окончания процесса пуска включается контактор 211 и шунтирует большую часть демпферного резистора (сопротивлением 64 Ом), оставляя лишь в первой группе резистора сопротивление 6 Ом. В зимнем режиме вентиляции после окончания пуска контактор 211 не включается и демпферный резистор 218 остается в цепи полностью, что обеспечивает понижение напряжения на каждом двигателе до 975 В. Следовательно, в зимнем режиме вентиляции при напряжении в контактной сети 3000 В ток в цепи равен примерно 15 А, а в летнем режиме — 19 А. В случае повреждения одного из двигателей вентиляторов предусмотрена возможность его отключения путем переключения разъединителей /—6 (табл. 3) на панели аварийного режима 200 вручную.
Как следует из табл. 3, в цепь одного исправного двигателя последовательно включен полностью демпферный резистор (разъединитель 4 разомкнут). При этом напряжение между резистором и двигателем распределяется примерно одинаково, т. е. при напряжении контактной сети 3000 В составляет до 1500 В. При отключении двигателя вентилятора в случае его повреждения невозможна длительная работа под нагрузкой всех тяговых двигателей, так как к двигателям одной тележки не поступает охлаждающий воздух. Поэтому отключение двигателя вентилятора должно сопровождаться отключением тяговых двигателей соответствующей тележки, что можно осуществить, отключив на аварийной панели 046 тяговый двигатель 3 и 4. После кратковременного разгона на последовательном соединении пяти двигателей необходимо перейти на последов'ательно-лараллельное соединение, при котором будут включены только три тяговых двигателя, имеющих нормальное охлаждение. На этом соединении и осуществляется дальнейшее движение.
На электровозе ЧС2Т предусмотрена возхможность аварийного включения двигателей вентиляторов, а вместе с ними и генераторов управления при разряженной аккумуляторной батарее. Для
Таблица 3


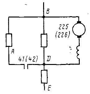
Рис. 12. Схема подключения двигателя вентилятора пуско-тормозиых резисторов
этого на панели 200 отключают разъединители 7, 9 и включают разъединители 8, 10, обеспечивая тем самым питание цепи двигателей вентиляторов от токоприемника в обход быстродействующего выключателя и электромагнитного контактора 210-
Для отопления кабин машиниста используются калориферы, нагревательные элементы которых 735 в первой и 736 во второй кабинах подключены к контактной сети. В каждой кабине установлено по 20 элементов, разделенных на две группы, включаемые индивидуально электромагнитными контакторами 731 (733) и 732 (734). Наличие групп позволяет осуществлять регулирование мощности отопления двумя ступенями. Защита цепей нагревательных элементов, кроме дифференциального реле 201, осуществляется плавким предохранителем 730, общим для элементов обеих кабин.
Двигатели 225, 226 вентиляторов пуско-тормозных резисторов 050, 051 присоединены к их выводам, что позволяет исключить дополнительный расход энергии на охлаждение резисторов и обеспечивает изменение производительности вентиляторов пропорционально току нагрузки. В режиме реостатного торможения двигатели вентиляторов присоединены к секции ВО резисторов (рис. 12). При максимальном длительном токе резисторов в режиме реостатного торможения 500 А (рис. 13) напряжение на двигателе вентилятора составляет 300 В, ток 190 А.
При пуске нагрузочная способность резисторов с учетом переключения секций по позициям допускает возможность длительной работы с током 850 А. С целью сохранения напряжения на двигателе вентилятора в заданных пределах секции ВО резисторов при пуске шунтируются секциями АВ — через контакторы 41 (42) группового переключателя, замкнутые на всех позициях тягового режима. Параллельное включение секций ВО и АВ позволяет при токе нагрузки 850 А получить на двигателях вентиляторов напряжение 350 В (ток двигателей 230 А). В режиме реостатного торможения контакторы 41, 42 разомкнуты, секции АВ и ВО соединены последовательно и через них проходит полный тормозной ток, обеспечивая на двигателях требуемое напряжение.
Прекращение работы двигателей происходит автоматически при выходе на безреостатные ступени при пуске (секции А В и ВО выводятся последними) и окончании реостатного торможения.

Рис. 13. Зависимости напряжения двигателе вентилятора пуско-тормозных резисторог от их нагрузки
|
|