Звуковые сигналы. На электровозе тифоиы и свистки, предназначенные для подачи звуковых сигналов, расположены в верхней части кузова рядом с прожектором: тнфон справа, свисток слева. Воздух из напорной магистрали через разобщительный кран 1005 (рис. 145) подходит к стеклоочистителям 943, а через редукционный клапан 944, электропневматические вентили 559 и 563 н разобщительные краны 1004 — к тифону 941 и свистку 942. Управляет электропневматическими вентилями, т. е. подает сигналы, машинист из кабины.
Для снижения давления в напорной магистрали до 7 кгс/см2 установлены редукционные клапаны (рис. 146). К клапану подводятся трубопроводы от напорной магистрали и от электро-пневматнческих вентилей. К седлу 6, запрессованному в корпусе 7, пружиной 5 прижат клапан 4. К нижней части корпуса болтами прикреплен стакан 8. Между корпусом 7 п стаканом 8 установлена резиновая диафрагма 2 с верхней 3 и нижней 1 тарелками. На верхнюю тарелку действует хвостовиком клапан 4, а па нижнюю давит пружина 9, которая упирается в регулировочную гайку 10.
Если давление в полости Б выше или равно 7 кгс/см2, давление над верхней тарелкой 3, преодолевая усилие пружины 9, прогнет диафрагму 2 вниз н клапан 4 закроется, прекратив доступ сжатому воздуху из полости А в полость Б.
Когда давление в полости Б станет ниже 7 кгс/см2, пружина 9 прогнет диафрагму 2 вверх и откроет клапан 4. Сжатый воздух будет перетекать из полости А в полость Б до тех пор, пока давление в полости Б не станет равным 7 кгс/см2 и клапан 4 снова закроется. Давление регулируют гайкой 10.
Стеклоочистители. Для очистки лобовых стекол от снега и дождя в каждой кабине машиниста установлены два пневматических стеклоочистителя. Стеклоочиститель (рис. 147) состоит из пневматического привода 2, щетки / и ручки 3. Пуск стеклоочистителя производят, повернув болт, которым также регулируют и скорость движения щетки /.
Угол отклонения щетки 1, а этим самым, следовательно, и поверхность очистки стекол изменяют кольцом на валу стеклоочистителя, при повороте кольца по часовой стрелке угол уменьшается, а при повороте против часовой стрелки увеличивается. Пос-

Рис. 145. Пневматическая схема соединения звуковых сигналов и стеклоочистителей

Риг. і 46. Редукционный клапан

Рис. 147. Пневматический стеклоочиститель
ле установки требуемого угла отклонения кольцо фиксируют гайкой. Стеклоочиститель можно привести в действие ручкой 3, Он работает при давлении от 1 до 9 кгс/см2.
Песочницы. При влажных, покрытых грязью или смазкой рельсах снижается сцепление колес с рельсами. Для увеличения сцепления, т. е. для предупреждения боксования колес, а также заклинивания их при торможении на рельсы подсыпают песок. Па боковых стенках кузова электровоза установлены бункера для песка общим объемом 1200 л.
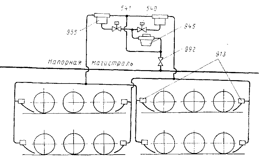
Управление песочницами электрическое, осуществляется кнопками из каждой кабины машиниста. Воздух из напорной магистрали (рис. 148) через разобщительный кран 992 подходит к редукционному клапану 945 и клапанам песочниц 955. После понижения редукционным клапаном давления до 7 кгс/см2 воздух поступает в электропневматическпе вентили 540 и 541. Редукционный клапан 945 по конструкции не отличается от установленного в цепн звуковых сигналов. При нажатии соответствующей кнопки в кабине машиниста возбуждается одни из электропневматическпх вентилей и воздух подается на один из клапанов песочниц. Клапан песочницы 955 при возбуждении электропневматического вентиля 540 и 541 обеспечивает свободный проход воздуха из" напорной магистрали к форсункам 913, расположенным в нижней части рамы электровоза.
Между корпусом 6 клапана песочницы (рис. 149) и крышкой 2 зажата резиновая диафрагма в, над которой расположен

Рис. 148. Пневматическая схема подачи песка
плунжер 7. В плунжер упирается хвостовиком клапан 4, прижимаемый к седлу 3 пружиной 5. При возбуждении электропневматического вентиля сжатый воздух поступает под диафрагму 8. прогибая ее вверх н открывая клапан 4. Воздух из напорной магистрали через открытый клапан 4 поступает к форсункам песочниц.
После прекращения возбуждения электропневматического вентиля воздух из-под диафрагмы 8 уходит в атмосферу через отверстие 1, диафрагма занимает первоначальное положение и клапан 4 закрывается. Песок из бункеров попадает в форсунку песочницы.


Рис. 150. Форсунка песочницы
Форсунка (рис. 150) состоит из корпуса /, к верхнему колесу которого присоединен трубопровод, подводящий песок из бункера. К нижнему колену подсоединяется трубопровод, подающий песок к наконечникам. Вследствие наличия порога и наклонного положения форсунки песок самотеком идти не может.
Подача песка производится сжатым воздухом, поступающим от клапана песочницы в полость Л, а затем в полость Б, где находится песок. Песок разрыхляется воздухом и начинает течь в трубопровод, ведущий к наконечникам. Из полости А воздух через сопло 2 поступает также в трубопровод, подхватывает песок и через наконечники гонит его под колеса электровоза. Песок подается под 1-ю и 4-ю оси электровоза при движении вперед и под 3-ю и 6-ю при движении назад.
ГЛАВА VIII
РАСПОЛОЖЕНИЕ ОБОРУДОВАНИЯ И СИСТЕМА ВЕНТИЛЯЦИИ
|
|