3.13 Цепи включения мотор-компрессоров
Управление контакторами мотор-компрессоров секции №1 производится командо-аппаратом 404, а в секции №2 командо-аппаратом 405, которые имеют следующие положения:
1. «Отключено»;
2. «Автоматическое управление»;
3. «Ручное управление»;
4. «Обогрев масла картера мотор-компрессора».
Автоматическое управление контакторами мотор-компрессоров осуществляется за счет включения и отключения реле управления 402, которое имеет свои прямые блок-контакты в цепи включения контакторов 203, 204. Питание на катушку реле 402 поступает через контакты реле давления 410, замкнутые при давлении в ГР менее 7,5 кгс/см , по цепи:

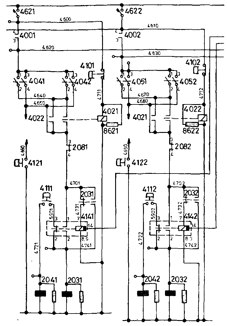
Рис.67 Схема включения контакторов МК электровозов серии Е5

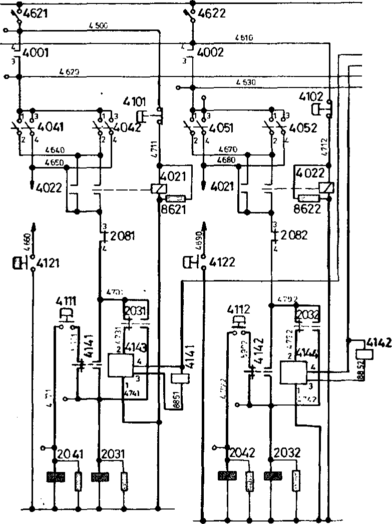
Рис.68 Схема включения контакторов МКэлектровозов серии Е6
- провод-5000, АЗВ 462, провод 4600 (4610), контакты реле давления 410, провод 471, катушка реле 402, провод 999. Включившись, реле 402 замыкает свои прямые блок-контакты в цепи контакторов мотор-компрессоров обеих секций. При давлении в ГР более 9,0 кгс/см2 размыкаются контакты реле давления 410, и реле 402 отключается.
В положении «2» командо-аппарата 404 образуется цепь:
- провод 5000, АЗВ 4621, провод 4600, контакты 4 - 3 контактора 4001, провод 4620, контакты 1 - 2 командо-аппарата 404, провод 4640, прямые блок-контакты реле 4022 и 4021, провод 4650, обратные блок-контакты 3-4 теплового реле 2081, провод 4701, обратные блок-контакты контактора 2031, провод 4731, далее на электровозах:
серии Е5 - клемма 7 вывода катушки реяе времени 4141;
серии Е6 - клемма 2 вывода катушки таймера реле времени 4141;
серии Е7 - Е9 - клемма 8 вывода катушки реле времени 4141.
Питание (плюс) от провода 6501 подаётся на клемму вывода
катушки реле времени 4141 на электровозах:
серии Е5 - клемма 14 вывода катушки реле времени 4141;
серии Е6 - клемма 2 вывода катушки реле 4141;
- клемма 4 вывода катушки таймера реле времени 4141; серии Е7 - Е9 - клемма 10 вывода катушки реле времени 4141;
Минус проводом 9991 подаётся на клемму вывода катушки реле времени 4141 на электровозах:
серии Е5 - клемма 8,9 вывода катушки реле времени 4141; серии Е6 - клемма 10 вывода катушки реле 4141;
- клемма 3 вывода катушки таймера реле времени 4141; серии Е7 -Е9 - клемма 2 вывода катушки реле времени 4141;
Реле времени 4141, включаясь, замыкает свои прямые блок-контакты в цепи катушки контактора 2031, на которую поступает питание.
РВ серии Е4 -Е5

Рис.69 Расположение клемм зажимов реле времени серии Е5

Рис.70 Расположение клемм зажимов реле времени серии Еб
РВ Е7-9

Рис. 71 Расположение клемм зажимов реле времени серии Е7 - Е9
После включения контактора 2031 замыкаются его прямые блок-контакты между проводами 4701 - 4741, и в результате контактор получает питание через свои собственные блок-контакты. Обратные блок-контакты контактора 2031 между проводами 4701 - 4731 размыкаются, и катушка реле времени 4141 теряет питание. С потерей питания провода 4731 начинается отсчёт времени реле времени 4141. Через Зс размыкаются прямые блок-
контакты 1 - 2 реле 4141 в цепи питания контактора 2031, и замыкаются блок-контакты 3-2 реле 4141, обеспечивая подачу напряжения на катушку контактора 2041 по цепи:
- провод 4701, прямые блок-контакты контактора 2031, провод 4741, блок-контакты 2-3 реле времени 4141, провод 5901, блок-контакты реле давления 4111, замкнутые при давлении в ГР более 3,0 кгс/см*, провод 4721 (4720 - на электровозах серии Е9), катушка контактора 2041, провод 9991.
Когда давление масла в картере компрессора достигает 2,0 3,0 кгс/см", реле давления 4121 замыкает свои блок-контакты, создавая цепь питания сигнальной лампы «а 10» на панели сигнализации 827 по цепи:
- провод 4620, контакты 1 - 2 командо-аппарата 4041, провод 4640, блок-контакты реле 402, провод 4650, зажимы сигнальной лампы «а10» (рис.72), зажимы сигнальной лампы «Ь5», провод 4660, блок-контакты реле давления 4121, провод 9991.

Рис.72 Схема цепей питания реле 8331 и ламп сигнализации на табло 827 и 828
При постановке командо-аппарата 405 в положение «2» - цепи аналогичны с цепями командо-аппарата 404.
При постановке командо-аппарата 404 или 405 в положение «3» (ручное управление) замыкаются его контакты 3 - 4, и образуется цепь включения реле времени 4141 и контакторов 203, 204, минуя блок-контакты реле 402.
При постановке командо-аппарата 404 или 405 в положение «4» («Обогрев масла картера мотор-компрессора» - левое) замыкаются его контакты 5 - 6, и образуется цепь (рис. 73):

Рис. 73 Схема цепей вентиляторов над головой в кабине машиниста и нагревательных элементов в картерах компрессоров и под ногами машиниста
На электровозах серии Е5 - Е6
- провод 5000, АЗВ 530, провод 525, контакты 5 - 6 командо-
аппарата 404 (405), провод 5290 (5300), нагревательный элемент 416 в картере мотор-компрессора, провод 999. На электровозах серии Е7 - Е9
- провод 5000, ЛЗВ 531, провод 5470 (5480), контакты 5-6 командо-аппарата 404 (405), провод 5290 (5300), нагревательный элемент 416 в картере мотор-компрессора, провод 999.
3.14 Цепи включения контакгоров мотор-вентиляторов охлаждения тяговых электродвигателей
|
|