Вспомогательные цепи электровозов ЧС4 и ЧС4Т делятся на цепи постоянного (выпрямленного) и переменного (однофазного) напряжения. И те, и другие получают питание от обмотки собственных нужд (9/54 тягового трансформатора. Изменение напряжения в контактной сети вызывает отклонение величины напряжения на обмотке 015л соответственно в пределах — 25%--Ы6% от номинального значения. С учетом дополнительного влияния—потерь напряжения на обмотке собственных нужд от тока тяговых двигателей и тока самих вспомогательных машин, а также несинусоидальности питающего на-
пряжения — диапазон изменения первой,гармоники' напряжения во вспомогательных цепях может быть шире указанного.
При повышении питающего напряжения производительность вспомогательных электродвигателей постоянного тока возрастает и, следовательно, увеличивается потребляемая ими мощность. Кроме того, при повышенных частотах вращения ухудшаются режимы работы подшипников, щеток и других трущихся деталей.
В случае снижения напряжения частота вращения и мощность па валах электродвигателе]"! постоянного тока уменьшатся, из-за чего производительность вспомогательных машин может оказаться ниже требуемой. Еще более опасно снижение напряжения для электродвигателей переменного тока, у которых может наступить опрокидывание или оказаться невозможным пуск этих машин. Поэтому в целях улучшения режимов работы вспомогательных машин на электровозах ЧС4 и ЧС41 регулируют напряжение питания.
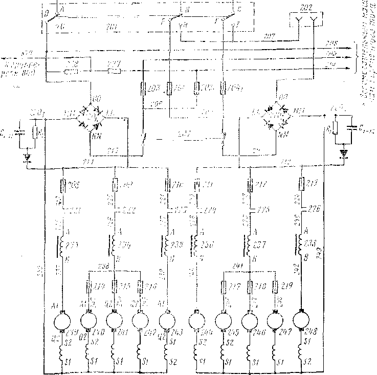
На электровозах ЧС4 применено ступенчатое регулирование: для этого обмотка собственных нужд 015.х тягового трансформатора выполнена с тремя выводами 60, 61 и 62 (рис. 64). Номинальное напря-

Рис. 64. Схема цепей вспомогательных машин электровоза ЧС4, питающихся выпрямленным током

жение между выводами 60 — 61 равно 213 В, между выводами йО — 62 — 260 В. При напряжениях в контактной сети близких или выше номинального все вспомогательные электродвигатели постоянного тока подключены к выводам 60 — 61. Если напряжение ниже указанной величины, то электродвигатели переключают с вывода 61 на вывод 62 путем перестановки вручную предохранителей 203, 204 в пинцеты 203х, 204х. В этом случае при допустимом по ГОСТ 6962—54 снижении напряжения в контактной сети до 19 кВ напряжение на выводах вспомогательных машин составит около 200 В.
Переключение питания вспомогательных цепей переменного тока осуществляется автоматически контакторами 251 и 252, включенными по схеме рис. 65. Питание на катушки этих контакторов подается от группы реле напряжения 853 в блоке защит 850 по проводам 832 или 833.
Выводы 60, 61 и 62 соединены гибкими кабелями с панелью 201. При помощи трехполюсного рубильника, расположенного на этой панели, вспомогательные цепи подключают либо к выводам обмотки собственных нужд, либо к розетке 202. К этой розетке может быть подведено питание от источника напряжения 220 В в депо для питания вспомогательных цепей. Рассмотрим работу схемы вспомогательных машин, питающихся выпрямленным током (см. рис. 64).
От панели 201 питание через мощные предохранители 203, 204 (203х, 204х) и две пары контактов автоматического защитного выключателя (АЗВ) 207 подается на две выпрямительные установки 220х и 220г, собранные по мостовой схеме. АЗВ 207, помимо защитной функции, выполняет роль включающего аппарата. На стороне выпрямленного тока каждого моста включены по четыре электродвигателя вентиляторов и по одному электродвигателю компрессоров. Конкретно через выпрямительную установку 220х напряжение подается на коллекторы следующих машин:
электродвигатель 239 вентилятора охлаждения тяговых двигателей I, II и III (первой тележки);
электродвигатель 240 вентилятора охлаждения сглаживающего реактора и резисторов ослабления поля в цепи тяговых двигателей первой тележки, а также охлаждения одного из двух маслоохладителей трансформатора;
два электродвигателя 241 и 242 вентиляторов охлаждения выпрямительной установки 020
электродвигатель 243 одного из двух компрессоров, вырабатывающих сжатый воздух для пневматической и тормозной систем электровоза.
К выпрямительной установке 2202 подключены:
электродвигатель 244 вентилятора охлаждения тяговых двигателей IV, V и VI (второй тележки);
электродвигатель 245 вентилятора охлаждения сглаживающего реактора и резисторов ослабления поля в цепи тяговых двигателей второй тележки и охлаждения второго маслоохладителя трансформатора;
два электродвигателя 246 и 247 вентиляторов охлаждения выпрямительной установки 022; ■
электродвигатель 248 второго компрессора.
Снижение уровня пульсаций выпрямленного тока осуществляют сглаживающие реакторы 233 — 238.
Пуск всех перечисленных выше электродвигателей одноступенчатый, обеспечивается однополюсными электромагнитными контакторами 221—226 (на электровозах до ЧС4-062 для ограничения бросков ^пусковых токов последовательно с электродвигателями включены низкоомные резисторы).
На электровозах до ЧС4-160 включительно схема предусматривает для вентиляторов сезонное регулирование режимов работы: «Зима—Лето». При эксплуатации в зимних условиях, т. е. при низких температурах окружающего воздуха, электродвигатели вентиляторов охлаждения тяговых двигателей можно включить последовательно с электродвигателями остальных вентиляторов. Для этого на корпусах мотор-вентиляторов 239 и 244 предусмотрены специальные панели с перемычками. Последовательное включение электродвигателей вентиляторов осуществляется путем перестановки перемычек из положения / в положение 2 с одновременным снятием предохранителей 209 и 212.
Начиная с электровоза ЧС4-062 цепи вспомогательных машин имеют защиту от замыкания на землю — группу реле 840, подключенную к делителю напряжения, состоящему из резисторов 227 и 228. Электровозы с ЧС4-162 имеют также заземленные группы конденсаторов 155 — 157 для демпфирования перенапряжений и радиопомех.
В цепях вспомогательных машин электровозов ЧС4' также использованы защитные устройства с той разницей, что количество групп демпфирующих конденсаторов увеличено до пяти и обозначены они номерами 154—158 (рис. 66). Для привода главных компрессоров и вентиляторов на этих электровозах, как и на электровозах ЧС4, использованы электродвигатели постоянного тока, но питание их производится стабилизированным напряжением. Стабилизация осуществляется путем фазового регулирования выпрямленного напряжения. На коллекторы вспомогательных электродвигателей питание приходит с выводов Е — / обмотки собственных нужд тягового трансформатора (номинальное напряжение 354 В) через контакты А — В и •/ — К "четырехполюсного рубильника на панели 201 и полууправляемые параллельно включенные мосты 220г — 2206.
Конструктивно каждые три моста объединены в одну выпрямительную установду. Электродвигатели 239, 244 вентиляторов тяговых двигателей и выпрямительных установок и электродвигатели 243, 248 компрессоров получают питание через отдельные выпрямительные мосты 2201? 2203, 2204, 220в. К выпрямительным мостам 220% и 2205

Рис. 66. Схема цепей вспомогательных машин электровоза ЧС4Т, питающихся выпрямленным током
подключено по два электродвигателя параллельно: 240, 245 — вентиляторов сглаживающих реакторов и резисторов ослабления поля тяговых двигателей и 223, 224 — вентиляторов маслоохладителей тягового трансформатора. Пуск мотор-вентиляторов 223, 224 производят контакторы 01527, 0152S, катушки которых включены через контакты термостатов 015№, 015 26, контролирующих температуру трансформаторного масла.
В целях снижения пульсаций выпрямленного тока, форма кривой которого при фазовом регулировании может существенно отличаться от» синусоиды, использованы сглаживающие реакторы 233 — 238 с повышенной по сравнению с включенной на электровозах ЧС4 индуктивностью, что достигнуто последовательным соединением обоих обмоток сглаживающих реакторов /.;', £2 — Dx D2.
Напряжение питания электродвигателей 221 и 225 поддерживается равным 250 В (рис. 67), а остальных вспомогательных машин — 220 В. Увеличение напряжения на коллекторах электродвигателей до 250 В вызвано тем обстоятельством, что на электровозах ЧС4Т охлаждение группы из трех тяговых двигателей и питающей их выпрямительной установки осуществляется одним вентилятором 239 (244) —- в отличие от электровозов ЧС4, где для охлаждения выпрямительных установок использовано по два дополнительных мотор-вентилятора.
Для уменьшения искажения формы кривой напряжения регулирование напряжения питания электродвигателей 239, 244 начинается

при напряжении в контактной сети, равном 22 кВ. Такой принцип регулирования вполне оправдан, так как силовая часть при этом достаточно проста, не требуются дополнительные выводы на обмотке собственных нужд или вольтодобавочные трансформаторы и вместе с тем стабилизация питания обеспечивается при длительно возможных напряжениях в контактной сети.
Как и на электровозах ЧС4, здесь предусмотрена возможность сезонного регулирования производительности вентиляторов. При температуре окружающего воздуха ниже 0° С специальный переключатель в выпрямительной установке следует перевести в положение «Зимний режим», при этом система регулирования будет поддерживать на выходах выпрямительных мостов пониженные значения стабилизированного напряжения — соответственно 205 и 180 В. Точность стабилизации напряжения во всех режимах работы составляет +3%.
Наряду со стабилизацией напряжения примененная система регулирования обеспечивает плавный пуск вспомогательных электродвигателей, благодаря чему значительно снижены пусковые токи.
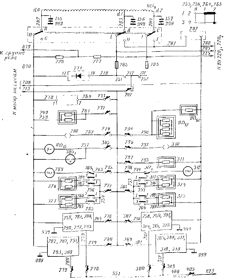
Кроме описанных выше, все остальные вспомогательные цепи электровозов ЧС4 и ЧС4Т питаются переменным током (рис. 68). В эти цепи включены электродвигатели насосов системы масляного охлаждения тягового трансформатора, нагревательные элементы, зарядное устройство аккумуляторной батареи и т. д. На обоих сериях электровозов установлено в основном одинаковое оборудование и аппараты, схемы подключения которых к питающим проводам 208 и 213 почти полностью совпадают. Поэтому подробно опишем вспомогательные цепи переменного тока только электровозов ЧС4 и отметим отличия, имеющиеся в соответствующих цепях электровозов ЧС4Г. Целесообразно также цепи электродвигателей насосов системы масляного охлаждения тяговых трансформаторов электровозов ЧС4 и ЧС4Т рассмотреть отдельно в конце настоящего раздела.
Как отмечено выше, напряжение во вспомогательных цепях""переменного тока на электровозах ЧС4 регулируется ступенями в зависимости от величины напряжения в контактной сети. Питающий провод 213'подключается к обмотке собственных нужд 015t силовыми контактами контакторов 251 или 252 и АЗВ 207. Исключение составляет зарядное устройство аккумуляторной батареи (блок 271), напряжение на входе которого не регулируется (начиная с электровоза ЧС4-062).
Все оборудование и аппараты переменного тока имеют индивидуальные АЗВ. Переменное напряжение блоку 270 с элементами управления противобоксовочной защитой и зарядным устройством аккумуляторной батареи подводится через АЗВ 273. Обогреватели 249, 250 спускных кранов главных резервуаров и влагосборников получают питание через АЗВ 272; на электровозах до ЧС4-160 включительно эти обогреватели включены раздельно — через АЗВ 272 и 273.
С помощью АЗВ 294 осуществляется включение и защита элементов 01512 нагрева трансформаторного масла, встроенных в масляную ванну ПС, и нагревательных элементов 015е1 пневматического двигателя -ПС (на электровозах до ЧС4-062 установлено два АЗВ — 294 н 295, позволяющие посекционно включать элементы 0151г).
Фильтрация масла в ПС производится с помощью однофазного электродвигателя 0/515, для включения и защиты которого служит

Рис. 68. Схема цепей вспомогательных машин электровозов ЧС4, питающихся пе ременным током (мотор-насосу не показаны)
АЗВ 305; наличие напряжения на электродвигателе контролирует сигнальная неоновая лампа 305г «Устройство фильтрации».
Через АЗВ 274 и 296 переменное напряжение подается на розетки 288 и 310, расположенные по одной в каждой кабине машиниста.
Вентиляторы кабин 289 и 312 получают питание через АЗВ 275,298 и выключатели 289г и 312х. Для нагрева воды в умывальнике служит нагревательный элемент 311, включенный через АЗВ 297. Расположенная рядом с умывальником электрическая плитка 313 для подогрева пищи на электровозах до ЧС4-062 также подключается к переменному напряжению выключателем 320 и АЗВ 321 (на рис. 68 эта цепь не показана). На электровозах последующего выпуска электроплитка 313 питается постоянным напряжением от аккумуляторной батареи (см. ниже рис. 72).
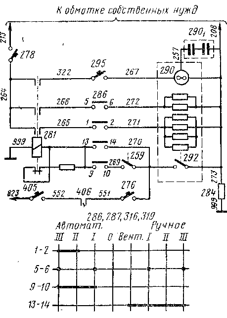
Элементы для отопления ног 324, 325 и 326, 327, расположенные в нижних частях пультов управления электровозом, защищены от перегрузок посредством АЗВ 277 и 301 и включаются переключателями 255, 264 и 256, 265 (на электровозах до ЧС4-062 установлено только два переключателя—255 и 256). Отопление кабин машиниста, а также обогрев лобовых окон осуществляют калориферы, которые вместе с коммутирующей аппаратурой и устройствами защиты на рис. 68 изображены условно блоками. Переключатель 286 (рис. 69) позволяет задать три режима отопления и один режим вентиляции. Напряжение на нагревательные элементы подается через две пары контактов трехполюсного контактора 281, который включен во всех положениях переключателя 286, кроме нулевого. Третья пара контактов контактора 281 включает вентилятор 290 калорифера. Для автоматического поддержания постоянной температуры в цепь катушки контактора включен контакт термостата 259. Защита от недопустимого перегрева калорифера осуществляется с помощью термостата 292. Включившись, он своими контактами замыкает на корпус через низкоомный резистор 283 цепь питания катушки контактора 281, что вызывает протекание большого тока и срабатывание АЗВ 276. Защиту всех элементов обеспечивает АЗВ 278.
Аналогичную схему имеют калориферы стеклообогрева кабин 291 и 317 (см. рис. 68), с тем лишь отличием, что они не имеют термостата для поддержания постоянной температуры.

Рис. 69. Схема цепей включения и защиты калориферов электровоза ЧС4

Рис. 70. Схема цепей вспомогательных машин электровоза ЧС4Т, питающихся переменным током (мотор-насосы не показаны)
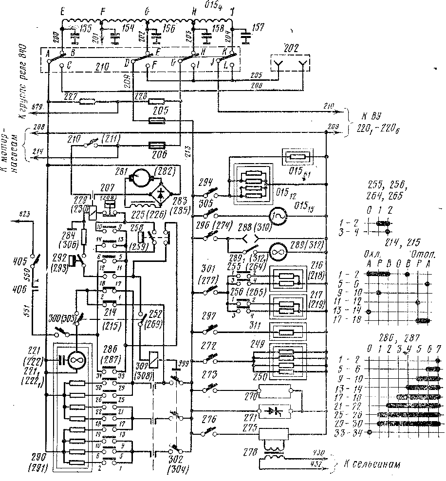
На электровозах ЧС4Т напряжение во- вспомогательных цепях переменного тока не регулируется и провода 208, 213 всегда подключены к секции Е — 6 обмотки собственных нужд тягового трансформатора 015л, номинальное напряжение между которыми составляет 221 В (вис. 70). Исключение составляют цепи мотор-насосов тягового трансформатора и мотор-компрессоров в системе кондиционирования воздуха в кабинах машиниста, которые получают питание от секции Е — Я обмотки 015ц с номинальным напряжением 266 В.
Рассматриваемые цепи электровозов ЧС4Т отличаются от подобных цепей электровозов ЧС4, кроме того, наличием дополнительного стабилизатора напряжения 275 с трансформатором 278 для питания сельсинов в цепях управления (на электровозах ЧС4 сельсины подключены
к трансформатору в блоке 271) и тем, что вместо калориферов применена система кондиционирования воздуха в кабинах машиниста.
Цепи системы кондиционирования воздуха включают в себя электродвигатели вентиляторов и компрессоров холодильных установок, отопительные элементы, контакторы, переключатели и другую регулирующую и защитную аппаратуру.
Вал компрессора приводится во вращение электродвигателем 281 (282) постоянного тока, который питается через выпрямитель 283 (285) и сглаживающий реактор 225 (226). Собранный по мостовой схеме выпрямитель подключен со стороны переменного тока через АЗВ 210 (211) и предохранитель 206 к секции Е —Н обмотки собственных нужд 015^ тягового трансформатора (номинальное напряжение 266 В). Компрессор связан трубопроводами с теплообменниками —• конденсатором и испарителем — в замкнутой системе холодильной установки, по которой циркулирует фреон. Конденсатор служит для превращения паров фреона в жидкость, а в испарителе жидкий фреон кипит за счет поглощения тепла из воздуха, продуваемого вентилятором. Конденсаторный электродвигатель 221 (222) вентилятора питается переменным напряжением от секции Е — в обмотки 015й с номинальным напряжением 221 В через АЗВ 252 (269) и АЗВ 302 (304). Вентилятор включается как в режиме охлаждения, так и в режиме подогрева воздуха в кабине машиниста. В качестве нагревательных элементов использованы резисторы 290 (291), подключение которых к секции Е —■ в обмотки 015^ осуществляется многопозиционными переключателями 286 (287), позволяющими получить семь ступеней отопления. Для управления системой кондиционирования служит режимный переключатель 214 (215) со следующими положениями: вентиляция (два положения), охлаждение (ручное и автоматическое), отопление (ручное и автоматическое) и выключение.
При постановке режимного переключателя 214 (215) в положение В (вентиляция) на электродвигатель вентилятора 221 (222) подается переменное напряжение через АЗВ 302 (304), контакты 1—2 режимного переключателя и АЗВ 252 (269).
В положении Охл. — Р — режимного переключателя (ручное управление режимом охлаждения воздуха) дополнительно к контактам 1—2 замкнутся его контакты 9—10. При этом получит питание катушка контактора 229 (230) по следующей цепи: общий плюсовой провод 823 — АЗВ 405 — контакты контактора 406 — АЗВ 300 (303) — контакты 33 —• 34 переключателя 286 (287), который при охлаждении должен быть установлен в нулевое (выключенное) положение, —• контакты 9—10 режимного переключателя — контакты реле давления 207 (208) — катушка контактора 229 (230). При переводе системы кондиционирования воздуха на автоматическое регулирование режима охлаждения (положение Охл-А) контакты 9—10 режимного переключателя размыкаются, а контакты 13 — 14 замыкаются, в результате чего в рассмотренную цепь питания катушки контактора 229 (230) включаются контакты термостата 258 (259). Термостат размыкает указанный контакт при понижении температуры и замыкает при ее возрастании, обеспечивая тем самым поддержание заданного режима охлаждения.
Для нагревания воздуха в кабине следует перевести режимный переключатель в положение Отоп. — Р или Отоп. — А — (ручное или автоматическое управление режимом отопления). Одновременно с этим нужно с помощью переключателя 286 (287) выбрать ступень отопления. При этом включится контактор 307 (308) и через его контакты, а также АЗВ 302 (304) и контакты переключателя 286 (287) переменное напряжение будет подано на нагревательные элементы 290 (291). Питающее напряжение на катушку контактора 307 (308) придет по следующей цепи: общий плюсовой провод 823 — АЗВ 405 — контакты контактора 405 — контакты контактора 406 — АЗВ 300 (303) — блок-контакты 11—12 режимного переключателя (при ручном управлении) или его контакты 5—6 и контакты термостата 258 (259) (при автоматическом управлении) — вспомогательные контакты АЗВ 252 (269). Одновременно с включением контактора 307 (308) получает питание электродвигатель вентилятора 221 (222) — через АЗВ 302 (304), контакты контактора 307 (308), контакты 17 — 18 режимного переключателя и АЗВ 252 (269).
Для привода насосов систем масляного охлаждения тяговых трансформаторов на электровозах ЧС4.и ЧС4Т применены однофазные асинхронные конденсаторные электродвигатели. Использованы три схемы включения электродвигателей (рис. 71). Наличие нескольких разных схем объясняется тем обстоятельством, что на электровозах до ЧС4-160 включительно установлены электродвигатели небольшой мощности (1,5 кВт), пуск которых требует подключения дополнительных конденсаторов. На электровозах начиная с ЧС4—162 и на всех электровозах ЧС41' применены электродвигатели, мощность которых такова (2,2 кВт), что для пуска достаточно их рабочих конденсаторов.
Схемы будем рассматривать в той последовательности, в какой они внедрены на электровозах, что одновременно позволит оценить эффективность проведенных мероприятий по совершенствованию цепей мотор-насосов в процессе выпуска электровозов.
Пуск насосов (рис. 71, а) при замкнутых переключателях 266, 267 происходит автоматически после включения ГВ. Получив питание, контактор 406 срабатывает и подает напряжение на катушку контактора 262, который подключает параллельно рабочим конденсаторам 260г и 261г электродвигателей масляных насосов пусковые конденсаторы 2602 и 2612. Одновременно другие замыкающие контакты контактора 262 включают контакторы 264 и 265. Последние присоединяют электродвигатели масляных насосов к обмотке собственных нужд тягового трансформатора 015^ через силовые контакты одного из контакторов 251 или 252.
В то же время при включении контактора 406 отключаются его размыкающие контакты в цепи питания катушки реле времени 263. Приблизительно через 4 с реле 263 разомкнет свои замыкающие контакты, через которые напряжение приходило на катушку контактора 262, что приведет к отключению пусковых конденсаторов 2б02, 261х. Если по какой-либо причине электродвигатели насосов не запустятся, на пульте управления электровозом загорится сигнальная лампа 424 (425), напряжение на которую будет подано контактами маслоструй-

Рис. 71. Схемы цепей управления мотор-насосами на электровозах ЧС4-002—061 (а), ЧС4-062—232 (б) и ЧС4Т (е)
ных реле 253 (254). Кнопкой 257 можно проверить правильность работы контакторов 262, 264 и 265, а также восстановить цепь питания электродвигателей при переключении напряжения контакторами 251, 252.
На электровозах начиная с ЧС4-062 используют упрощенный вариант описанной схемы (рис. 71, б); отличие состоит в том, что отсутствуют контакторы 264, 265 и их функции выполняет контактор 262. Пусковые конденсаторы к электродвигателям подключает и отключает контактор 257. Из схемы исключена также кнопка 257, а включить и выключить мотор-насосы можно с помощью АЗВ 268.
Исключение нескольких аппаратов из цепей управления мотор-насосами упростило схему, однако она все же достаточно сложна из-за необходимости иметь пусковые конденсаторы и аппаратуру для их подключения и отключения. В целях дальнейшего совершенствования схемы начиная с электровоза ЧС4-162, пусковые конденсаторы не применяются, а для обеспечения уверенного пуска мотор-насосов, как указано выше, увеличена мощность приводных электродвигателей. В результате схема (рис. 71-, в) значительно упростилась, а надежность работы всего узла повысилась1.
Мотор-насосы в рассматриваемой схеме (см. рис. 71, в) пускаются сразу после включения ГВ; необходимый пусковой момент электродвигателям 260, 261 обеспечивают постоянно включенные рабочие конденсаторы 260ъ 261г. Для защиты электродвигателей от токовых перегрузок предназначен термостат 015^, контакты которого находятся в цепи катушки контактора 262.-
Схема без пусковых конденсаторов применяется и на электровозах ЧС4Т. На них в отличие от электровозов ЧС4 напряжение, подаваемое на обмотки электродвигателей насосов, не регулируется, так как контакторы 251, 252 отсутствуют, и питающие провода постоянно подключены к секции Е— Я обмотки собственных нужд тягового трансформатора (см. рис. 70).
|
|