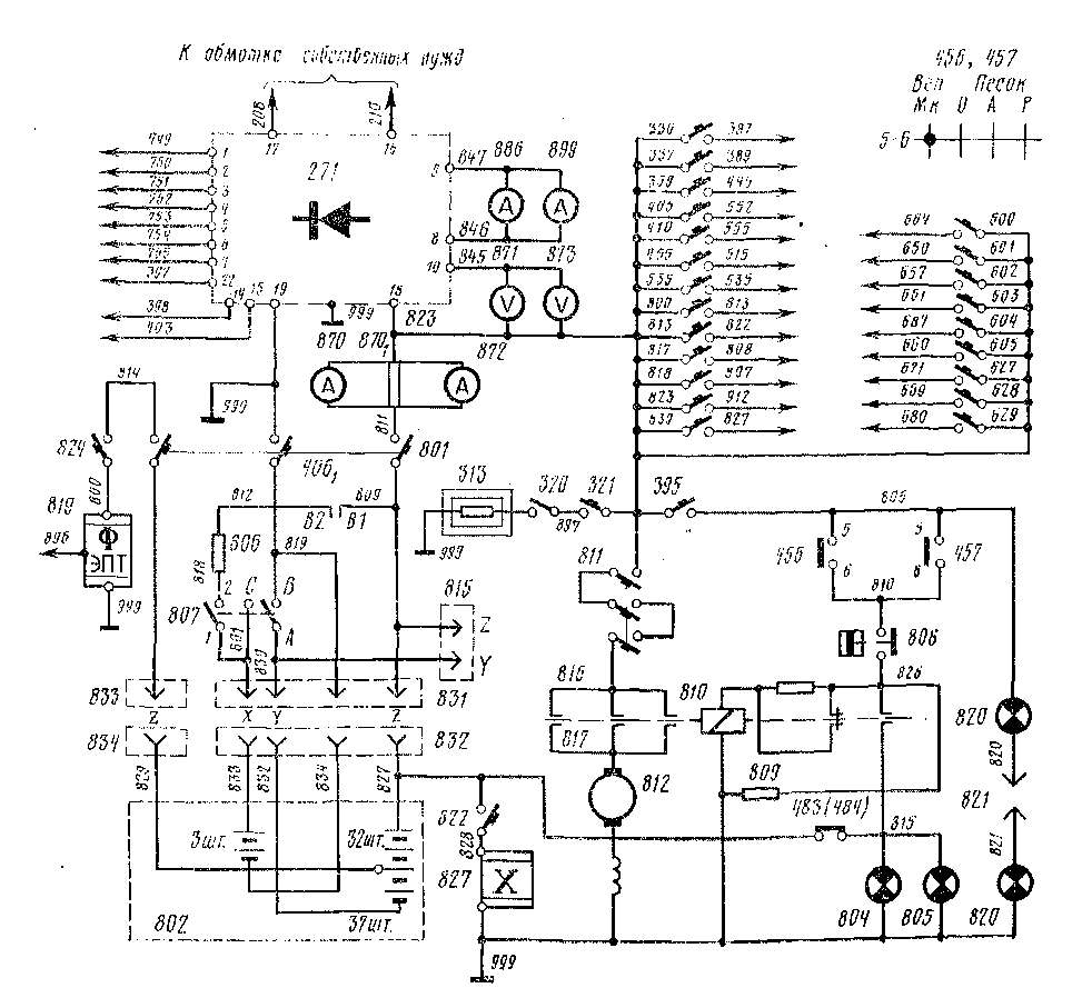
Низковольтные цепи получают питание от аккумуляторной батареи 802 и от бесконтактного зарядного устройства 271 со стабилизатором напряжения (рис. 72). К зарядному устройству по проводам 208, 210 (на электровозах до ЧС4-062 — по проводам 208, 213) от обмотки собственных нужд подводится переменное напряжение, которое в нем понижается, выпрямляется и сглаживается; выходное напряжение регулируется на 56 ± 1,5 В. В зарядном устройстве АБЬ2, применяемом на электровозах ЧС4, использованы магнитный усилитель с силовыми неуправляемыми вентилями, в зарядном устройстве типа АЭЬЗ электровозов ЧС4Т — тиристоры с унифицированными блоками автоматики (схему и конструкцию зарядных устройств см. в § 66).
1 Данная схема в порядке модернизации в настоящее время внедряется также на ранних выпусках электровозов ЧС4.
Аккумуляторная батарея 802 подключается к зарядному устройству 271 через автоматический защитный выключатель 801. В связи с тем, что батарея включается на выходные выводы выпрямительного моста зарядного устройства (как в ASL2, так и в ASL3), ее подзарядка происходит только тогда, когда величина напряжения на выходе моста больше, чем на аккумуляторной батарее. В случае когда величина напряжения на аккумуляторной батарее больше, чем на выпрямительном мосту, ток от батареи течет к нагрузке.
Батарея состоит из 40 элементов, разделенных на две группы: в одной из них, основной,—37, в другой, резервной, — 3 элемента. В режиме нормальной работы зарядного устройства ручной переключатель 807, расположенный рядом с автоматическим защитным выключателем 801, установлен в положение, при котором замкнуты контакты А-— В и 1 — 2 (на электровозах ЧС4Т — соответственно, Zx — Z2 и Xt— Х2). При этом происходит раздельная зарядка, т. е. 37 элементов заряжаются прямо от зарядного устройства 271, а 3 элемента — через ограничивающий резистор 806. В случае неисправности

Рис. 72. Схема питания низковольтных цепей электровоза ЧС4 04
в зарядном устройстве, когда питание низковольтных цепей осуществляется только от аккумуляторной батареи, ручной переключатель 807 переставляют в положение А — С \ZX — Y 2], и все элементы батареи включаются последовательно. Это позволяет аппаратуре и приборам низковольтных цепей функционировать нормально в течение 2 ч (питаясь только от аккумуляторной батареи). Отметим, что описанная система резервирования ■—• дополнительные элементы аккумуляторной батареи, ограничивающий резистор 806 и ручной переключатель 807 — установлены на электровозах начиная с ЧС4-062.
Ток аккумуляторной батареи и зарядного устройства протекает по измерительному шунту 870х [В2], к которому подключены амперметры 870 и 872, расположенные на пультах управления. От общего плюсового провода 823 через соответствующие АЗВ питаются все низковольтные цепи электровоза. В частности, через АЗВ 395 [814] переключатели 456 (457) и реле давления 808 напряжение подается на катушку контактора 810, силовые контакты которого включают электродвигатель 812 малого компрессора для подъема токоприемников при подготовке электровоза к работе. Токовая защита цепи этого электродвигателя осуществляется автоматическим защитным выключателем 811. При работе малого компрессора на пультах управления горят сигнальные лампы 804, 805, получающие питание через замыкающие блок-контакты контактора 810. На электровозах ЧС4 от АЗВ 395 напряжение подается также на сигнальные лампы 820 и щупы 821 блока отыскания неисправностей в низковольтных цепях «БОН», описание схемы и работы которого, а также усовершенствованной системы «ПУМ —■ Шкода» приведены в § 27.
От общего плюсового провода 823 через индивидуальные автоматические защитные выключатели напряжение подается также в следующие цепи:
управления электровозом АЗВ 336, 337 [315]; аварийного управления ПС—АЗВ 359; управления вспомогательными машинами АЗВ 405, 410, песочницами АЗВ 455 и звуковыми сигналами АЗВ 535; освещения, прожекторов, буферных фонарей—АЗВ 600—605, 627— 629; питания ГВ, блока защит 850, группы реле 840 и реле безопасности — АЗВ 813; цепей низкого напряжения в выпрямительных установках АЗВ 817, 818, преобразователя радиостанции АЗВ 823; проверки сигнальных ламп АЗВ 830; электроплитки —АЗВ 321 [816]; термостатов в машинном помещении (только на электровозах ЧС4) — АЗВ 800; питания реле времени пуска масляных насосов (только на электровозах до ЧС4-062) — АЗВ 814; системы отыскания неисправностей в низковольтных цепях: «ПУМ — Шкода» (только на электровозах ЧС4Т) — АЗВ 565.
На электровозах начиная с ЧС4-062 соединение аккумуляторной батареи с низковольтными цепями электровоза выполнено штепсельными разъемами 831 — 834. С их помощью можно заряжать аккумуляторную батарею от сети депо. От этой сети также можно через штепсель 815 питать цепи освещения электровоза. На электровозах ЧС4Т, как и на электровозах до ЧС4-062, штепсельные разъемы отсутствуют.
|
|