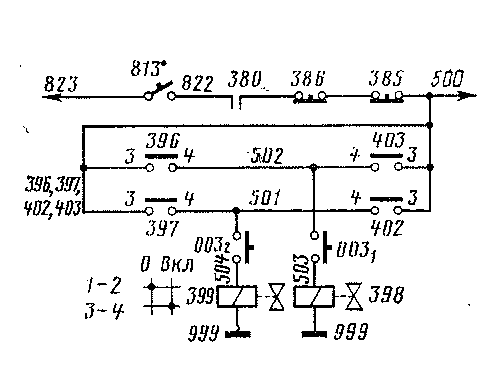
При отсутствии сжатого воздуха в системе управления он подается вспомогательным компрессором (см. рис. 72), электродвигатель 812 которого получает напряжение от аккумуляторной батареи от общего плюсового провода 823 через контакты автоматического защитного выключателя 811 и контакты контактора вспомогательного мотор-компрессора 810. Воздух из резервуаров управления поступает к вентилям 398, 399 (рис. 73), катушки которых получают питание через соответствующие блок-контакты 003ъ 0032 отключателей токоприемников. Управляют токоприемниками с помощью переключателей 396, 397 (в первой кабине машиниста) и 402, 403 (во второй кабине), расположенных на панелях управления на пультах. Каждая панель включает восемь переключателей (управление токоприемниками, главным выключателем, вспомогательными машинами и др.), которые механически блокируются замком. Открыть замок можно только специальным ключом, являющимся принадлежностью данного электровоза. Благодаря этому управление электровозом возможно только из той кабины, в которой разблокирована панель управления.
Напряжение на контакты переключателей токоприемников подается от общего плюсового провода 823 по следующей цепи: АЗВ 813, контакты реле безопасности 380, последовательно включенные контакты аварийных выключателей «Стоп» 386, 385" [320, 319] и далее по проводу 500 [480]. На электровозах до ЧС4-062 вместо контактов реле 380 последовательно включены пять блокировок безопасности: 373, 374 (дверей высоковольтной камеры), 400, 401 (лестниц для подъема на крышу электровоза) и 322 (защитной сетки на тяговом трансформаторе). Контакты аварийных выключателей «Стон», предназначенные Для экстренной остановки электровоза в случае возникновения опасной ситуации, имеются только на электровозах начиная с ЧС4-162.
На электровозах ЧС4Т в цепи управления токоприемниками включены также переключатели [560, 561, Sl — S7] системы отыскания, неисправностей в низковольтных цепях «ПУМ-Шкода», которые исключают возможность подъема токоприемников при пользовании системой.
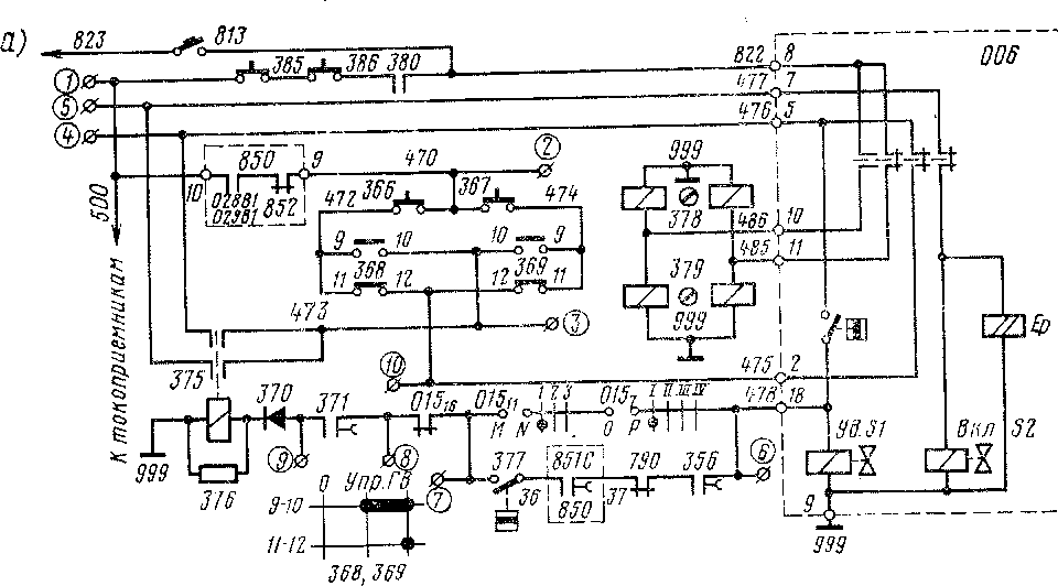
Участок цепи от провода 823 до провода 500 [480] является общим для цепей управления токоприемниками и главным выключателем (ГВ). Цепь управления ГВ имеет две катушки — включающую Вкл (S2) и удерживающую Уд (S1) (рис. 74, а). Включение ГВ осуществляется подачей кратковременного импульса на включающую катушку, после чего силовые контак-

Рис. 73. Схема цепей управления токоприемниками электровоза ЧС4


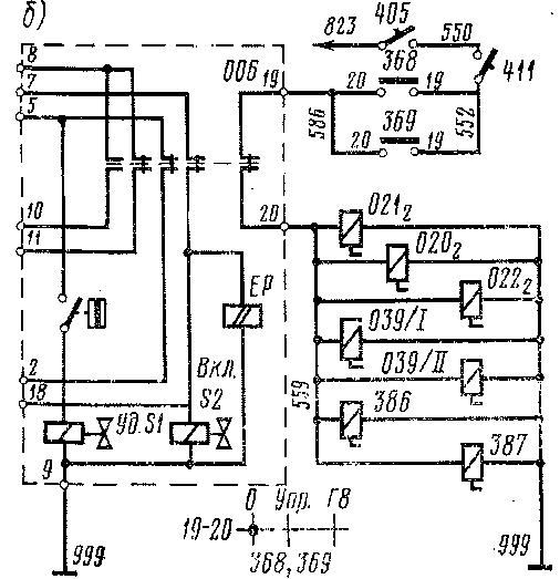
Рис. 74. Схема цепей управления главным выключателем электровоза ЧС4 (а) и дополнительного узла блокировочных защелок электровоза ЧС4Т (б)
ты ГВ остаются в замкнутом положении под действием удерживающей катушки. Отключение ГВ происходит при обесточивании удер-живающей катушки. На электровозах до ЧС4-062, оборудованны? электронной системой быстродействующей защиты тяговых выпрями тельных установок, для отключения ГВ используется специальны! электропневматический вентиль.
Включить и выключить ГВ можно выключателями управления 361 (369), расположенными на пультах управления электровозом в кабина} машиниста. Напряжение на контакты 9 и 11 выключателей управле ния приходит от общего плюсового провода 823 по описанной выгш цепи до провода 500 [480], а затем — через контакты реле 028В1
U29B1 и 852 в блоке защит 850 (между зажимами 9 — 10) и кнопки с самовозвратом «Выключение ГВ» 366 (367), установленные на пультах управления. В отличие от электровозов ЧС4, где эти кнопки включены параллельно, на электровозах ЧС4Т они включены последовательно, что дает возможность выключить ГВ из любой кабины электровоза вне зависимости от того, какой пульт управления разблокирован. Последовательно с указанными контактами блока защит 850 в схеме электровозов ЧС4Т включены также контакты 1-2 главного переключателя [560] системы «ПУМ—Шкода».
Кроме перечисленных блокировок, в цепи ГВ находятся контакты реле, контролирующего давление сжатого воздуха в резервуаре ГВ, а также замыкающие контакты 5-6 и 7—8 специального реле ГВ 375. Катушка реле 375 получает питание после замыкания контактов 11-12 выключателя управления (368 или 369) через собственные блок-контакты ГВ между зажимами 2-5, контакты реле давления сжатого воздуха в ГВ, блок-контакты пневматического двигателя ПС 0157, замкнутые в положении I блокировочного барабана, блок-контакты ПС 015п, замкнутые только на нулевой позиции контроллера машиниста, контакты газового реле тягового трансформатора (реле Бухгольца) 0151в, контакты реле времени 371, контролирующего пуск мотор-вентиляторов (на электровозах до ЧС4-062 в этой цепи включены также замыкающие контакты реле безопасности 380). Последовательное включение блок-контактов 0157 и 015Х1 гарантирует невозможность включения ГВ в случае, если ПС находится не на нулевой позиции или застрял между позициями.
Параллельно указанным блок-контактам ПС включены контакты реле времени цепи управления электровозом 356, размыкающие контакты вспомогательного реле АЛСН 790 (с электровоза ЧС4-077), замыкающие контакты реле минимального напряжения 851 С в контактной сети в блоке защит 850 (с электровоза ЧС4-062), контакты реле давления сжатого воздуха в магистрали 377 (на электровозах ЧС4Т эти контакты перенесены в цепь управления электровозом).
Реле 375, включившись, замкнет свои контакты 5-6 и 7-8 в проводах 473 и 476, 477 [446, 455, 456]. На включающую катушку ГВ придет импульс, и силовые контакты ГВ замкнутся. Одновременно собственные блок-контакты ГВ между зажимами 2-5 и 7-плюсовой вывод включающей катушки разорвут цепь питания обеих катушек ГВ и катушки реле 375. Однако обесточится при этом только включающая катушка, так как удерживающая катушка и катушка реле 375 будут продолжать получать питание через замыкающие контакты 5-6 реле 375 в обход указанных собственных блок-контактов ГВ. Поэтому ГВ останется во включенном положении.
При движении электровоза, когда контроллер машиниста не находится на нулевой позиции, блок-контакты переключателя ступеней 0157 и 015и размыкаются, и катушка реле 375 будет получать питание через последовательно включенные контакты реле 356, 790, 850, 377 и далее — через контакты 015Лй и 371. Размыкание любого из перечисленных контактов приводит к обесточиванию катушки реле 375, а сле-
довательно, обесточиванию удерживающей катушки ГВ и немедленному его отключению.
На нулевой позиции контроллера машиниста участок цепи между проводами 478 и 481 [453 и 450] закорачивается блок-контактами ПС 0157 и 015и по той причине, что контакты реле, включенные между указанными проводами, могут быть замкнуты только при уже включенном ГВ.
Положение ГВ сигнализируется на пультах управления в обеих кабина'х указателями положения 378, 379, катушки которых питаются через собственные блок-контакты ГВ.
Отметим, что на электровозах, начиная с ЧС4-162, главные выключатели оборудованы счетчиками числа включений (катушка ЕР на рис. 74), а последовательно с катушкой реле 375 включен разделительный кремниевый диод 370 — для исключения цепи разряда энергии между катушкой реле 375 и удерживающей катушкой ГВ.
На электровозах ЧС4Т, где для исключения возможности доступа обслуживающего персонала к находящемуся под высоким напряжением оборудованию, применены электромагнитные блокировочные защелки (020г — 0222, 039, 386, 387), дополнительно использованы также незадействованные в схему на электровозах ЧС4 собственные блок-контакты ГВ между зажимами 19 — 20 и контакты 19 —■ 20 выключателей управления 368, 369, которые включены согласно схеме рис. 74, б. Данная схема обеспечивает доступ к высоковольтному оборудованию только при нулевом положении выключателей управления 368, 369 и отключенном ГВ — блокировочные защелки находятся в «открытом» состоянии при наличии напряжения на их катушках.
|
|