Рычажно-тормозная передача. Вагоны электропоезда оборудованы колодочным тормозом с двусторонним нажатием колодок на поверхности катания колес. Рычажно-тормозная передача служит для передачи усилия сжатого воздуха через шток тормозного цилиндра, систему рычагов и тормозные колодки на поверхность катания колесных пар.
Рычажно-тормозная передача (рис. 212) вагона электропоезда ЭР2 имеет четыре самостоятельных взаимозаменяемых узла (по два на каждой тележке). В каждый узел входит тормозной цилиндр 10, рычажная передача и регулятор выхода штока 13. На электропоезде ЭР2Р тормозные цилиндры на тележке головного, моторного и прицепного вагонов расположены по концам рамы тележки (по два тормозных цилиндра на тележку).
Рычажная передача состоит из наклонного вертикального рычага 8, соединенного одним концом с головкой штока тормозного цилиндра, а другим — с крайней тягой 7. Поворачиваясь под воздействием штока тормозного цилиндра, наклонный вертикальный рычаг 8 перемещает крайнюю тягу 7, которая поворачивает горизонтальный рычаг 2, соединенный с передней тягой 3, скользящей по опорной планке 5.
Перемещаясь, передняя тяга поворачивает вокруг точки А вертикальный рычаг 4, приводящий в движение тягу башмака /, в результате чего тормозная колодка прижимается к колесу и перемещение тяги башмака / прекращается.
После этого центром вращения вертикального рычага 4 становится точка Б. Поворачиваясь вокруг точки Б, рычаг перемещает затяжку 6 и вертикальный рычаг 9, следствием чего является прижатие к колесу второй колодки и затормаживание колеса. После этого вертикальные рычаги 4 и 9 продолжают поворачиваться и через среднюю тягу // тормозная сила передается на второе колесо.

Башмаки наружных тормозных колодок соединены траверсами 15, которые препятствуют сползанию колодок с поверхности катания колес при торможении. Подвески 12 средних тормозных колодок рычажной передачи моторного вагона имеют коробчатое сечение. Детали рычажных передач всех вагонов, кроме крайних тяг 7, затяжек 6, соединяющих вертикальные рычаги, и наклонных рычагов 8 взаимозаменяемы.
Все детали шарнирных соединений имеют сменные износостойкие втулки, что обеспечивает Достаточную долговечность рычажной передачи.
Регулировка зазора между тормозными колодками и колесами осуществляется регулятором выхода штока 13. При движении поезда зазоры и выход штока тормозного цилиндра поддерживаются регулятором автоматически.
Рычажно-тормозная передача предусматривает возможность эксплуатации поездов с чугунными колодками с повышенным содержанием фосфора (колодки из фосфористого чугуна) и с колодками из неметаллических композиционных материалов (пластмассовые колодки).
У моторных тележек на наклонных рычагах, соединенных непосредственно с тормозными цилиндрами, и на кронштейнах рамы имеется по два отверстия, предназначенных для изменения положения мертвой точки. Этим достигается изменение передаточного отношения и, следовательно, нажатия тормозных колодок на бандажи.
У прицепных и головных вагонов на горизонтальных рычагах, соединенных с тормозным цилиндром, имеется по два отверстия для изменения положения затяжки, т. е. передаточного числа. Последнее зависит от отношения длин ведущих рычагов к длинам ведомых рычагов. Передаточным числом всей ры-чажно-тормозной передачи называют отношение суммы нажатий тормозных колодок вагона к силе, с которой воздух воздействует на поршень тормозного цилиндра.
Сумма нажатий тормозных колодок при давлении в тормозном цилиндре 0,35 МПа (3,5 кгс/см2) составляет на прицепном вагоне электропоезда ЭР2 276 кН, на моторном — 412 кН.
Рычажно-тормозная передача головного вагона показана На рис. 213.
Регуляторы рычажных передач. На электропоездах для автоматического регулирования выхода штока поршня тормозных цилиндров в зависимости от системы рычажной передачи применяют регуляторы усл. № 574Б одностороннего действия и пневмомеханический регулятор РВЗ, а также регулятор 536М двустороннего действия.
Регулятор усл. № 574Б. Он предназначен для автоматического поддержания зазоров между поверхностями катания колесных пар и тормозными колодками в установленных пределах независимо от износа поверхностей катания колес и тормозных колодок. Регулятор со стержневым приводом устанавливают в тормозной рычажной передаче головного и прицепного вагонов электропоезда.
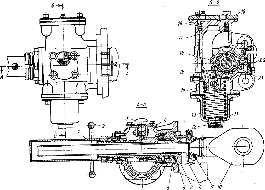
Устройство регулятора поясняется рис. 214. Он имеет стержень 21, в который с одного конца ввернуто ушко 23 для соединения с горизонтальным рычагом рычажной передачи, а с другой стороны стержень своей конической поверхностью соединен с крышкой 16, регулирующий винт / с упором 24 и заклепкой 20, хвостовик которого через муфту и шариковые подшипники 25, 26, 27 соединен с продольной тягой рычажной передачи. Ушко 23 стопорится с тяговым стержнем 21 заклепкой 22.
Для предохранения от полного вывинчивания из гайки 28 на конце регулирующего винта / навернута гайка 32.Н& несамотормозящую резьбу винта / навернуты гайки 12 и 28, имеющие между собой фрикционное соединение.
В исходном положении возвратная пружина 17 через крышку 19 и корпус 18, с одной стороны, крышку 16, стержень 21, втулку 14, подщипник И, гайку 28, конусное соединение гаек 12 и 28, с другой стороны, прижимает гайку 12 к
головке 7, которая посредством резьбы, застопоренной винтом 8 , связана с корпусом 18.
Для предохранения регулирующего винта / от механических повреждений в головку 7 встроена защитная труба 3 с уплотнительным кольцом 30 и муфтой 2. Труба имеет уплотнение 4 от попадания влаги и грязи, закреплена кольцом 6 через втулку 5.
Регулирующая гайка 28 и гайка 12 размещены в стакане 13, в который ввернуты и застопорены винтами 10 и 15 крышки 9 и 16. Таким образом, в исходном положении регулятор представляет собой жесткую систему и не реагирует на кратковременные усилия, возникающие при движении поезда.
Между торцом тягового стержня 21 и регулирующей гайкой 28 имеется зазор Г, между крышкой 9 и гайкой 12 — зазор В, а между конусными поверхностями тягового стакана и гайки 12 — зазор Б.
При торможении регулятор и упор привода 31 перемещаются навстречу друг другу, уменьшая размер А до соприкосновения упора привода 31 с крышкой 19.
Если зазоры между тормозными колодками и колесами в пределах нормы (5—8 мм), то момент, соприкосновения упора привода с крышкой совпадает с максимальным ходом штока тормозного цилиндра, соответствующим нормальным зазорам, которые авторегулятор поддерживает постоянными.
- Усилие от тормозного цилиндра через горизонтальные рычаги передается на ушко 23 и стержень 21, который через крышку 16, сжимая возвратную пружину 17, перемещает стакан 13 вправо до замыкания его конусной поверхности с поверхностью регулирующей гайки 28. Свинчивания гаек 12 и 28 при этом не происходит. Регулятор работает как жесткая тяга, не изменяя своей длины.
При отпуске происходит размыкание фрикционного конического соединения регулирующей гайки 28 и стакана 13.
Регулятор отходит влево от упора привода 31, восстанавливается первоначальный размер А.
Если зазоры между тормозными колодками и колесами больше нормы, то при соприкосновении крышки 19 с упором привода 31 произойдет дальнейшее увеличение хода штока тормозного цилиндра на размер изменившихся зазоров. Благодаря этому стакан 13, сжимая возвратную пружину 17, через гайку 28 перемещает регулирующий винт / с гайкой 12 влево. В результате этого появится зазор между коническими поверхностями гайки 12 и головки 7.Гайка 12 под действием пружины 29 через упорный подшипник // навинчивается на регулирующий винт 1, уменьшая появившийся зазор между головкой 7 и гай-268

кой 12. Навинчивание гайки 12 на винт / будет продолжаться до тех пор, пока гайка 12 не коснется поверхности крышки 9.
При уменьшении тормозных усилий (отпуск тормоза) упор привода 31 с корпусом 18 перемещается вправо под действием возвратной пружины 17, замыкаются конусные поверхности головки 7 и гайки 12.
При дальнейшем уменьшении тормозных усилий упор привода 31 отходит от крышки 19, а стакан 13 под действием возвратной пружины 17 перемещается влево и размыкает фрикционное соединение с регулирующей гайкой 28, которая под действием пружины 26 навинчивается на винт /.
Перемещение стакана 13 и навинчивание гайки 28 происходят до тех пор, пока последняя не соединится с конической поверхностью гайки 12. В дальнейшем регулятор работает как жесткая тяга.
Если при максимальном перемещении гайки 12 зазоры между колодками и колесом не будут восстановлены, т. е. размер зазоров превышает максимальное значение стягивания регулятора, то восстановление требуемых зазоров произойдет при последующих торможениях.
Установка регулятора поясняется рис. 215.
Пневмомеханический регулятор. Его устанавливают на раме тележки моторного вагона. Регулятор связан с рычажно-тормозной передачей и тормозным цилиндром.
Принцип работы его заключается в следующем. В полость / (рис. 216) регулятора может попасть воздух из тормозного цилиндра 5 по соединительному патрубку 3 только при завышенном выходе штока тормозного цилиндра. При выходе штока тормозного цилиндра в установленных пределах воздух из тормозного цилиндра в полость корпуса регулятора не попадает, так как отверстие 4 в тормозном цилиндре находится за поршнем и поршень до него не доходит.
В процессе износа колодок выход штока увелич ивается и, как только поршень начнет заходить за отверстие 4 в тормозном цилиндре, соединенное с патрубком 3, воздух поступит в полость / регулятора. При достижении давления 0,15—0,2 МПа (1,5—2 кгс/см2) поршень 17 (рис. 217) сжимает пружину 13 и перемещается до упора в стакан //. Установленная на поршне защелка 14 прижимается к храповому колесу 16 пружиной 15. Защелка проскакивает по храповому колесу, не поворачивая его. Храповое колесо жестко сидит на шпинделе 5.
Концевая тяга 10 ввернута в гайку 6. Гайка 6 при торможении упирается сферической поверхностью в сферическую опору 7, освобождая тем самым резину от нагрузки, а сферическая опора установлена на раме тележки. При повороте храпового колеса тяга ввинчивается в гайку, ее длина укорачивается, зазоры между тормозными колодками и поверхностью катания колеса умень-

Рис. 215. Схема установки регулятора усл. Рис. 216. Схема включения регулятора в № 574Б иа прицепном вагоне рычажно-тормозную передачу моторного

Рис. 217. Автоматический регулятор выхода штока тормозного цилиндра моторного вагона
шаются и выход штока тормозного цилиндра устанавливается в пределах нормы.
Тяга 10 со стороны опорного кронштейна закрыта брезентовым чехлом 9, закрепленным в тяге и на кольце 8. В регуляторе есть механизм стопорения — защелка 21, шарнирно закрепленная в корпусе регулятора и прижатая к храповому колесу пружиной 20. Механизм стопорения предназначен для предупреждения самопроизвольного поворота шпинделя с гайкой под действием вибрации во время движения поезда.
В нижней части стакана // установлен воздухоочиститель—фильтр 12, выполненный из конского волоса, пропитанного маслом. При отпуске тормоза воздух из тормозного цилиндра и регулятора выходит и возвратная пружина возвращает поршень регулятора в первоначальное положение до упора в крышку 19. Поршень уплотнен манжетой 18. Защелка поворачивает храповое колесо на два зуба и затем выходит из зацепления. Левый конец шпинделя регулятора защищен втулкой / с резиновым колпачком. На втулке имеются ручки 2 для вывертывания тяги из гайки при замене изношенных тормозных колодок. Прежде чем выполнить такую операцию, необходимо отключить механизм стопорения 4 путем нажатия на головку штифта 3.
Для отключения регулятора в случае его неисправности на патрубке 3 (см. рис. 216), идущем к тормозному цилиндру 5, поставлен разобщительный кран 2.
|
|